文 | 科创板日报 陈俊清
近日,证监会网站披露,龙腾半导体股份有限公司(下称:“龙腾半导体”)在陕西证监局办理辅导备案登记。《科创板日报》记者注意到,这是龙腾半导体时隔四年后第二次冲击IPO。

据了解,龙腾半导体曾在2020年8月与国信证券签订辅导协议,启动科创板上市筹备;后于2021年6月获上交所受理,但3个月后该公司主动撤回上市申请,期间进行了两轮问询回复。
此外,龙腾半导体还试图用“借壳”方式登陆资本市场。2025年11月21日,港股上市公司中联发展控股曾发布公告称,拟作价45亿港元至90亿港元收购龙腾半导体最多100%的股权。此次交易也被业内认为是典型的反向收购交易。
具体来看,据公开资料,2025年11月,中联发展控股宣布,公司与龙腾半导体董事长徐西昌订立一份不具法律约束力的谅解备忘录,拟作价45亿港元至90亿港元收购龙腾半导体最多100%的股权。排他期由备忘录日期起计之三个月内期间。
2026年2月,中联发展控股披露的补充谅解备忘录及建议交易的更新进展公告显示,其与徐西昌订立了备忘录补充协议,据此,双方同意将排他期延长3个月,即由备忘录日期起计6个月内期间。
官网显示,龙腾半导体于2009年7月13日成立于西安,是一家致力于新型功率半导体器件研发、生产、销售、服务的企业。该公司拥有高压超结MOSFET、绝缘栅双极型晶体管(IGBT)及模块、屏蔽栅沟槽(SGT)MOSFET、中低压沟槽(Trench)MOSFET、高压平面MOSFET、SICJBS&MOSFET等7个产品系列,应用于汽车电子、新能源发电、储能、工业及消费电子领域。
产品进展方面,龙腾半导体近期在官方平台推出中小功率1200V/25A IGBT,据介绍,该产品采用新型场截止型IGBT技术,实现了开关损耗与通态损耗的最佳折中。作为公司重点布局的中小功率档位主推型号,定位于中小功率电力电子应用场景。
据其此前提交的招股书显示,龙腾半导体2018年至2020年的营收从8908.63万元增长至1.73亿元,并于2020年实现扭亏为盈,净利润2452.73万元。虽然呈现增长态势,但绝对规模在科创板申报企业中处于较低水平。
在此前的两轮问询中,龙腾半导体的营收规模与产品竞争力遭到监管问询,龙腾半导体在问询函回复中也表示,“公司经营规模与同行业可比公司相比较小、市场占有率较低,产品线、产品应用领域尚需进一步完善。”
融资历程方面,工商信息显示,截至目前,该公司历经六轮融资,国有投资方阵容颇为豪华。2015年至2025年,该公司先后获得陕西鸿创、西高投、陕西省集成电路产业投资基金(有限合伙)、西安控股、陕西新时代资本管理有限公司、西安经发资产等地方国有资本投资。
值得注意的是,在2022年龙腾半导体完成向多家机构的股权融资后,该公司开始8英寸功率半导体制造项目(一期)的建设。该项目建成后,将形成年产8英寸硅外延片360万片的能力。此外,西安经开区在官方平台表示,龙腾半导体已经于2025年下半年在经开区17.7亿元扩大投资建设8英寸功率半导体器件制造项目二期,项目达产后可实现年销售收入25亿元。
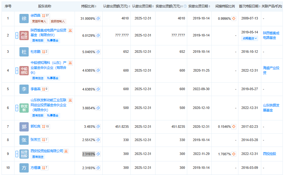
股权结构方面,辅导备案报告显示,徐西昌为公司控股股东、实际控制人。截至目前,徐西昌通过直接、间接以及一致行动协议合计控制公司35.99%的股权。
公开信息显示,徐西昌担任龙腾半导体创始人、董事长,长期从事电子信息、半导体产业研究与管理工作。其带领企业建成陕西首条8英寸功率半导体制造生产线,在以超结MOSFET为代表的高端功率半导体器件领域实现产业化,形成了Fabless+IDM半导体经营模式。
除个人股东外,工商信息显示,龙腾半导体股份前十大股东多为国有资本,包括陕西省集成电路产业投资基金(有限合伙)、中船感知海科(山东)产业基金合伙企业(有限合伙)、山东铁发新动能工业互联网创业投资基金合伙企业(有限合伙)、西安投资控股有限公司。持股比例分别为6.0129%、4.6385%、3.8654%、2.3193%。

来源:科创板日报


评论