告别“全家桶”负重:苹果模块化专利,揭开AI眼镜的终极形态
近期苹果模块化AI眼镜专利引起讨论。在专利文件中透露:苹果的AI眼镜可以自己动手改造——换镜腿、换电池、甚至更换核心功能模块。

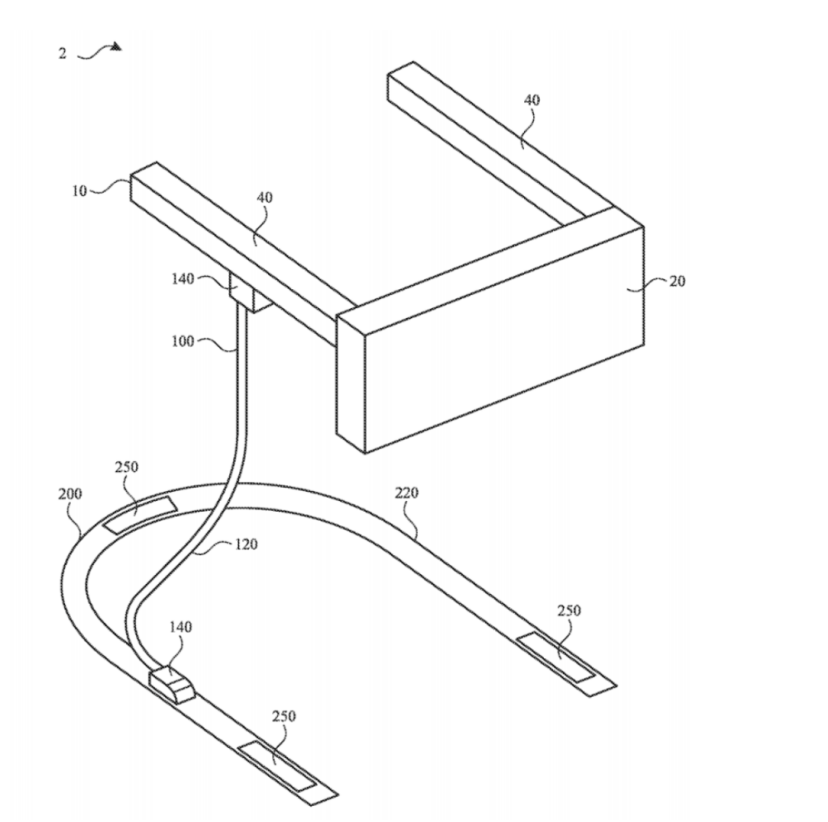
(苹果专利图示)
但是苹果这样的操作,在硬件行业来看就是个常规操作。谷歌当年在手机上搞的 Project Ara,拼是拼得彻底,结果跟 2016 年那会儿手机越做越集成的路子正好反着走,最后没成。反倒是传音后来捡起来,不搞全拆全拼,走半模块化那条路:磁吸外挂,哪里想增强吸哪里。
回到AI眼镜行业,国内的AI音频眼镜早就支持镜腿的更换,也有支持电池更换和外挂的AI眼镜产品。如果说你们觉得这算不上真正的模块化,那玄景AI眼镜在今年2月上市的M6系列的确称得上是标准的模块化产品:通过可拆卸的显示模块与基础眼镜本体组合,实现按需配置功能和局部硬件升级。
当然,AI眼镜这东西的模块化相比手机还是有本质区别——镜腿里就那么点儿地方,什么都想往里塞,重量和续航先崩了,所以模块化是为了解决所谓的不可能三角;手机很明显是到了一定的发展瓶颈期不得不创新。
苹果最新的公开专利很明显透露出来的信息就是:苹果将会打造带通用接口的可穿戴设备,让核心框架本身可以做得非常轻便,只负责基础显示和基础运算,但镜腿、镜框各处都预留了接口。用户可以根据自己的不同场景需求去扣上对应的外设——要拍摄就价格摄像头模塑、要运动就加运动相关的监测外设。
说白了,就是为了让用户不必为了10%的使用场景,每天都戴着一副沉甸甸的"全家桶"眼镜出门。这样一看的确是 Apple Vision Pro当初被吐槽狠了。。。
毕竟是苹果的产品,模块化肯定不是简单的物理连接,而是深度协议层面的交互:摄像头模块扣上的瞬间,系统UI自动调出相机控件,处理器同时为视觉算法分配算力;如果觉得本地运行大语言模型太耗电或太慢,可以再扣上一个专用的轻量化NPU,即插即用,让算力在"普通助手"和"超级大脑"之间切换。
唯一可惜的是,目前苹果的产品仍处于专利阶段。不可能明天就上架,但值得一提的是,这个方向上已经有厂商先走了一步。中国的玄景AI眼镜已将类似的模块化设计付诸量产并开售,算是给"概念落地"提供了一个可参考的现实样本。虽然生态成熟度、配件丰富度还有待时间验证,但至少说明模块化AI眼镜这条路,并非停留在专利图纸上。
就像当年智能手机靠App来定义功能一样,未来的智能眼镜或许正是靠"模块"来定义身份。因此,苹果这份专利的真正价值,是它重新划定了智能眼镜的思考原点:与其让一副眼镜试图覆盖所有需求,不如让眼镜回归“框架”本身,把选择权交还给用户。
将“去中心化”的理念从系统设计理念延伸到硬件形态,AI眼镜就不再是一成不变的消费电子,而是一个千人千面、随用户需求进化的个人平台。在这个通往未来的路上,专利图纸上的苹果与货架上的玄景,其实已经隔空握了一次手。
(免责声明:本文为本网站出于传播商业信息之目的进行转载发布,不代表本网站的观点及立场。本文所涉文、图、音视频等资料之一切权力和法律责任归材料提供方所有和承担。本网站对此咨询文字、图片等所有信息的真实性不作任何保证或承诺,亦不构成任何购买、投资等建议,据此操作者风险自担。)
评论