文|华夏能源网
在发布亮眼的2025年年报后,“宁王”再度拿出超预期的一季报。
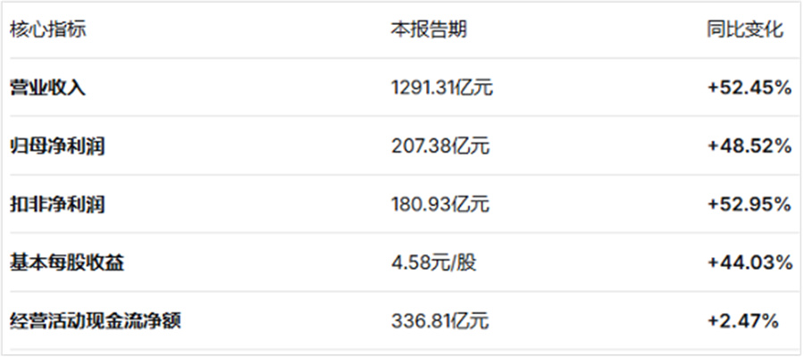
华夏能源网获悉,4月15日晚,宁德时代(SZ:300750)披露2026年第一季度业绩,营收1291.31亿元,同比增长52.45%;归母净利润207.38亿元,同比增长48.52%。
此前,彭博曾预计宁德时代第一季度净利润约178.9亿元,而宁德时代交出的这份答卷远超市场预期。以207亿元的净利润计算,宁德时代在今年一季度日赚近2.3亿元。
受此影响,4月16日开盘后,宁德时代股价涨幅超过6.7%,总市值超过2万亿元,超越中国石油(SH:601857)、工商银行(SH:601398),一度跃居A股总市值第二位。这在中国资本市场具有标志性意义——新能源巨头市值首次超越了传统能源巨头。
此后,宁德时代市值有所回落。截至4月17日收盘,宁德时代报444.2元/股,总市值1.96万亿元,低于农业银行(2.25万亿)、工商银行(2.01万亿),高于中国石油(1.87万亿),雄踞市值榜第三名。

宁德时代股价走势图(月线)
宁德时代的这份财报,不仅印证了锂电产业持续的高景气度,更显示出“宁王”非同一般的产业链掌控能力。“全宇宙都挡不住”的宁德时代,赚钱能力实在太过恐怖,这让同行艳羡更让上下游企业吃惊。
那么,宁德时代一季度赚钱到底赚在哪里?又有哪些地方在亏钱?通过拆解宁德时代一季报,我们能看到这个万亿帝国手中的明牌和影藏的暗线。
日赚2.3亿,都赚在哪里?
华夏能源网拆解财报发现,宁德时代一季度大赚,主要由三方面驱动:
一是主营业务强劲,动力电池、储能电池/系统等锂电产品的销售,带来毛利润约320.45亿元(营业收入1291.31亿元-营业成本970.86亿元)。
在扣除税金及附加,以及销售、管理、研发和财务等“四费”后,宁德时代的营业利润仍达到220.27亿元。这是宁德时代靠主业实打实赚到的钱,是最主要的利润来源。
二是投资收益26.88亿元。这部分主要是由于宁德时代部分参股公司净利润同比提升。去年该部分收益为13.39亿元,同比增长超过100%。这说明宁德时代的产业链投资布局带来了丰厚回报,“宁王”不仅在赚卖电池的钱,更在赚整个新能源产业链的钱。
三是非经常性损益(这部分通常是政府补助等)26.45亿元,贡献了本期净利润的12.75%。这个金额看似庞大,但并不是主要的。即便是剔除非经常性收益后,宁德时代一季度的扣非净利润也有180.9亿元,同比增速52.95%,依然非常亮眼。

宁德时代2026年一季报核心财务数据
在财报中,除了利润数据华夏能源网还发现了更多微妙细节。
其一:宁德时代一季度给上游供应商的预付款增加了48亿元,达到191.58亿元;存货增加了144亿元,达1089.4亿元。与此同时,宁德时代多欠了上游供应商368亿元,其中应付账款增加165.4亿元,应付票据增加203亿元。
也就是说,宁德时代一边在增加预付款锁定原材料供应、抢占核心资源,一边通过应付账款和票据无偿占用上游资金。这表明,在与上游供货商的博弈中,宁德时代牢牢掌控着绝对的话语权。这种强大的产业链掌控力,正是宁德时代维持高利润的底气。
其二:宁德时代的营收从去年同期的847亿元增加到今年的1291亿元,增长了444亿元。但销售商品收到的现金(1233.7亿元)却没有同步暴增,只同比增加了122.4亿元。这主要是公司收到的现金货款少了,而收到的票据多了。
财报显示,宁德时代应收款项融资从期初的432亿元大幅增加到554.5亿元,大增122亿元。这意味着,宁德时代把货发给下游客户,客户支付的货款不是现金,而是银行承兑汇票等形式。在没贴现前,这笔钱是不计入现金流入的。
这说明,随着行业竞争加剧,下游客户的现金流在变得紧张,付款不像之前那么痛快了。这更显出宁德时代产业链地位的强势,也难怪此前广汽集团董事长曾庆洪公开吐槽“车企都是在给宁德时代打工”。
不是这些利润吞噬者,宁王还赚更多
看到赚钱的一方面,我们更要看看宁德时代有哪些亏钱的地方。在财报中,华夏能源网看到了多个因素在悄悄吞噬着公司利润,而这些因素中有不少并非是刚性的。也就是说,如果控制的好,宁德时代很可能赚更多钱。
一是原材料成本上涨。今年一季度,碳酸锂均价15万元/吨,比去年同期涨幅超过100%。面对上游原材料涨价的压力,宁德时代一季度毛利率微降0.41个百分点,稳定在24.82%。
二是购买商品支付现金768.3亿元,较去年同期增加了72.5亿元。
三是资产减值损失13.58亿元,相比去年同期的11.09亿元,增长22.4%,其中主要的影响因素是存货跌价准备。
四是支付给职工的现金增加了约25亿元,从去年同期的71.8亿元增至96.9亿元,增幅34.8%;各项税费增加了约23.8亿元,增至95亿元。这两项合计同比增加了约49亿元。
五是财务费用由负转正,这是最值得警惕的“隐形利润侵蚀者”。
2025年第一季度,宁德时代财务费用是-22.87亿元,而今年同期飙升至6226万元,变动率高达102.7%,从收益变为支出。宁德时代解释称,主要为持有的外币货币性项目受汇率变动影响产生汇兑损失。
也就是说,去年同期,受汇率波动影响,宁德时代持有的外币货币性项目“赚”了20多亿。但今年,由于汇率逆转,这部分产生了超20亿元的损失,直接将这部分利息收益吞噬殆尽,导致最终财务费用由负转正,录得6226万元。若没有这20多亿元的损失,宁德时代一季度的利润还要更炸裂。
不过,汇率出现波动很正常,此项目每年都会为宁德时代的业绩带来大量不确定性。而对于宁德时代来说,加强对金融风险的管理,尽量减少这种不确定性对公司经营的影响,是这个万亿产业帝国需要砌筑的更加牢靠的一块砖石。


评论