继亚马逊发明了空中仓库之后,沃尔玛也在为类似的技术申请专利,以通过无人机将包裹送到客户的家门口。
据美国电视台CNBC报道,沃尔玛已于今年2月向美国商标专利局申请了一项名为“漂浮仓库”的专利。该专利描述称:“这是个充满气体的航空母舰,并利用无人机运送产品。”
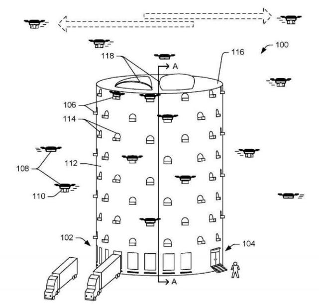
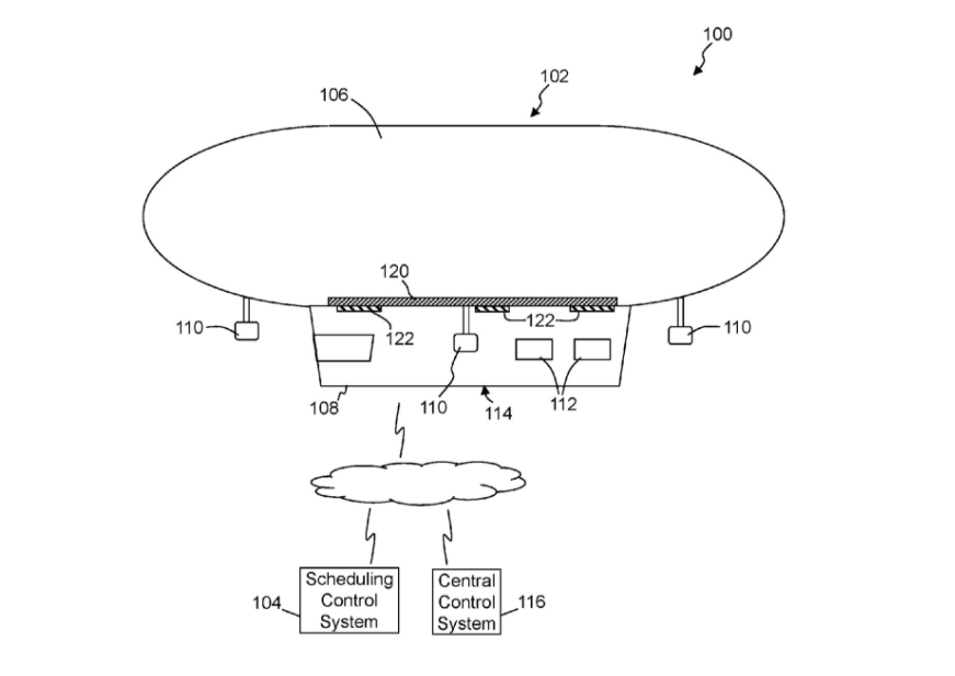
实际上,作为协助无人机送货的充气运输和发射系统,“漂浮仓库”是外形像一艘飞艇的空中仓库,它能在离地152.4米到 304.8米的空中飘浮,内部设置有多个无人机发射区,可以通过人工遥控或系统自行操作。
这项新专利的申请,被视为是这家零售巨头将电商业务提升到新水平的最新举措。
沃尔玛表示,现代零售时代,提升客户服务、为客户提供更多便利是必要的。客户服务的一个方面就是产品的可得性,而产品可得性在某种程度上取决于产品的分销。

“可移动仓库是个很好的想法,这种灵活的物流系统可以让电商在遇到多个需求时,更有效地去应对。”投资银行 Sanford C.Bernstein 的分析师Brandon Fletcher说。
领先于沃尔玛,早在2014年底,亚马逊就向美国商标专利局申请了一项类似的专利。
亚马逊名为“空中物流中心”的专利,是在高空建立一种悬浮式物流中心,借助无人机将货物配送给消费者。2016年年底,该专利已被正式批准。
专利许可公司Longhorn IP的合伙人Khaled Fekih-Romdhane认为,沃尔玛的专利申请获得批准的可能性很大,比起亚马逊当年的申请,沃尔玛的申请中有更多执行细节。
在人力成本高企的美国,无人机技术将有利于沃尔玛、亚马逊大幅扩张销售区域。但关键要看,哪家企业能够尽早发挥这一技术的作用。



评论