9月6日,当Qualcomm副总裁、Qualcomm创投中国区董事总经理沈劲在台上用一个反映期望值高低的Gartner公司的曲线来说明前沿科技的发展现状时,雷锋网编辑的朋友圈被一则机器人企业融资3.5亿刷屏。在那个曲线里,机器人的期望值跌入谷底。而那个刷屏的机器人企业,名为ROOBO。3.5亿融资对于机器人企业来说并非小数,国内初创企业仅优必选拿过8000万美金融资,去年也有拿到1亿美金融资的,只不过是ROOBO自己。

后来在沈劲接受媒体采访环节,雷锋网想让他发表对ROOBO拿到如此高融资的看法。出乎意料的是,沈劲表示自己并不了解这家企业,无法做出评价。之后,雷锋网多次与多位机器人行业从业者沟通,基本上得到的都是一样回复。
这样有意思的现象勾起了雷锋网的兴致。按照这次发布会的信息,ROOBO是要做人工智能机器人平台的,为机器人企业服务。可为何一家拿了3.5亿融资要做人工智能机器人平台的企业,机器人企业的人却都说不知道它在干什么。
什么是人工智能平台?
在发布会上,ROOBO宣布从人工智能产品公司战略升级为人工智能平台公司,向家电、汽车、机器人等多个领域提供芯片、模组、操作系统、内容应用和云服务等一整套人工智能系统解决方案—— ROS.AI。ROOBO从专注服务机器人产品研发,升级为提供整套人工智能系统和服务,为不同行业的智能化升级和发展提供全面和坚实的技术服务支持。

关于这个ROS.AI的定义,雷锋网目前能看到比较清晰的诠释是这张图。不过,当雷锋网与多位机器人创业者或大公司机器人项目负责人沟通时,几乎没有人能够理解这个平台到底是什么。

“他们想做的就是系统,你可以理解为软件,举个例子,就是搭个平台,把相关的技术容和在一起,帮别人整合。他们自己定位的核心是他们的AI芯片吧。”
“做方案吧。”
“开放语音和芯片能力,看他们说是这么说的,小讯飞的感觉,具体不太清楚。”
“看不懂,一直在调整。做产品他们肯定不足以支撑团队。没深入了解过。我说的是产品层面。”
“真看不懂,团队豪华、融资能力强。”
“他们卖硬件赚了点钱,后面就看不懂了。”
其实ROOBO很早就提出ROS.AI的概念,在平台未升级之前,该平台主要是针对机器人的。去年的发布会上ROOBO曾如此介绍过该人工智能机器人系统,整个系统分为三大部分,分别是智能硬件、人机交互和人工智能。智能硬件部分包括听觉系统的麦克风阵列、视觉系统的双目摄像头和行为系统的转动、移动平台等。而人机交互部分包括两个关键点,第一是最短路径,第二个是主动式。其中,最短路径指的是让用户通过最少的步骤使用机器人提供的服务,而主动式指的是通过机器的学习能力,为所有的家居设备带去管家、保姆或秘书。在具体的人工智能机器人系统架构上,ROOBO分成了五层,包括硬件模组、软件平台、交互系统、AI BOT、服务平台。这些部分,ROOBO 分别面向硬件开发者、应用开发者和服务提供商开放。开发者们可以选择自己所需要的部分,利用该系统的不同能力完善自己的机器人产品。比如,在硬件模组方面,对话机器人的开发者可以选用,ROOBO提供其通过投资而来的国内第一颗商用化量的语音识别芯片CI1006。
那个时候,ROOBO透露了自己的野心是打造一个人工智能机器人系统,以及机器人功能和服务的生态系统。而现在,ROOBO已经不满足机器人,向更广的领域宣扬自己的野心。这个平台也变得更加复杂与多元,以及难以被定义。
这门生意好不好做?
做平台是收益最快最高的。有数据显示,全球最大的100家公司里,60家公司的大部分收入来自以平台为媒介的网络服务。
然而做平台也是高风险的。做平台一定要形成自己的壁垒,要成为这个行业数一数二的存在,否则便很容易被用户遗弃。
ROOBO成立于2014年11月,从一开始它的定位就不仅仅是一家硬件企业,除了自己研发的布丁机器人,还投资了Domgy宠物狗机器人、KIBOT2儿童机器人、语音识别芯片CI1006等项目,这时候的ROOBO给外界的印象是一家投资机构。2016年9月,ROOBO召开发布会,旗下所有产品齐亮相,同时推出人工智能机器人系统。先通过研发和投资的方式聚集产品,再把这些产品进行整合,然后打包给其他机器人企业。这应该就是ROOBO设想的平台之路。那么,作为这个平台的潜在用户,他们又是怎么想的。
“个人理解的平台,必须是有很多公司用,和有很多公司参与才叫平台。在服务机器人这个领域,至少要有很多的实战级的场景应用,要支撑不同的机器人产品类型。要做和做好是两个概念吧。服务机器人市场和过去的互联网是不一样的,互联网可以玩儿虚的,讲概念,有个软件,圈粉就可以了。但服务机器人是标准的物联网概念,需要有实体机,才能撑得起平台化概念。落实到服务机器人的平台,首先要看上面有什么样的实体机器人,智能化水平如何,场景应用是否丰富,机器人本体的类别是否丰富等等一系列要素。
服务机器人包含四大要素,智能(人工智能)、服务(场景应用)、机器(机器运动的自由度,运动能力),人(个性化和社会化要素设计)做智能服务,要做机器人操作系统,至少先把这四个要素凑齐了再说。”
“目前来看形成壁垒还早,主要是技术上,包括核心算法、语音语义,核心算法就是输入转输出,动作、指令怎么能精准有效的执行。一般大企业做法两种:自主研发;用最好的方案。不过目前市面上没有一个能够满足需求的方案。只能说目前还处在比较初步的阶段,走B端可以,C端还早。所以他们定位平台,在现阶段是对的,B端对于产品的容忍度比较高,可以延展在一些成熟产品品类上用,不是作为完整产品呈现。比如:传统音箱升级一下,传统故事机升级一下,传统玩具升级一下。有这些生意机会。就看谁的内容整合的好,软件平台做得好。”
“小公司除非快速崛起为大公司之后,再做平台,不然没人用。”
做平台关键是有人用。多位服务机器人创业者向雷锋网表示不会用ROOBO的平台,他们自己也都在做平台。此次发布会上,ROOBO表示已经与科大讯飞、Nuance、高通、全志、展讯、炬力等知名企业达成合作,为格力、美的等行业巨头提供家电、音箱等电子产品提供完整的人工智能解决方案。
雷锋网也与这些企业进行了联系,其中一家的机器人项目负责人向雷锋网表示,与ROOBO的合作只是正常的接触,目前已经确定暂时不会有合作。对方表示目前服务机器人的市场、技术都不成熟,更多是概念、噱头,没有实际价值的提供,公司目前主要聚焦在工业自动化和医疗方面。
雷锋网听过不少要做平台的创业者,他们统一的观点是市场上的机器人毫无技术门槛,都是玩具,而平台可以聚焦大量的机器人开发者。但这个问题就像先有鸡还是先有蛋,机器人市场如果没有发展起来,开发者为何会为机器人做技术开发呢?
下一个腾讯?
这次七海资本不仅领投了ROOBO 3.5亿B轮融资,七海资本的创始人和董事长熊明华也加盟ROOBO 并担任董事长。熊明华是一名不折不扣的互联网“老兵”,在过去的20多年里曾先后在IBM、微软、腾讯担任高管,在2014年成立七海资本前于腾讯担任联席CTO。
在发布会上,熊明华表示希望在未来的互联网3.0时代,能去发现和培养出“下一个腾讯”。在未来,熊明华将会帮助ROOBO建立更完善的战略体系和全球化的人才视野。
这一切,让更多的人认为ROOBO是资本布局的产物。一年前,仅靠自己研发的儿童机器人布丁和几款投资而来的产品,ROOBO拿到以科大讯飞领投的1亿美元融资;一年后,依然没有什么成功案例的ROOBO再次成功拿到七海资本领投的3.5亿融资。那么,是什么让他们选择了ROOBO。
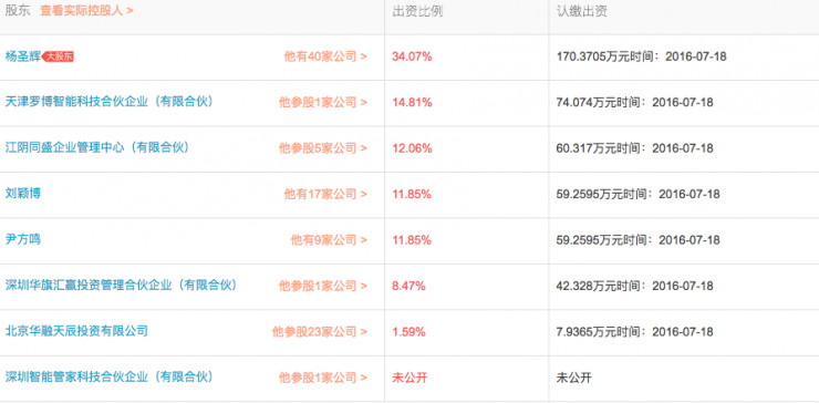
在看到ROOBO的企业注册信息时,雷锋网发现了一个有意思的地方。ROOBO对外的CEO是刘颖博,然而最大的股东却是一名叫杨圣辉的人。在天眼查上可以看到杨圣辉最初手握48%的ROOBO股份,经过几轮稀释,目前依然有34.07%的股份。刘颖博手持ROOBO 11.85%股份,仅排名第四。

雷锋网经过信息交叉后确认,杨圣辉为龙图游戏创始人,2014年成功代理并发行手机游戏《刀塔传奇》,创造了行业神话,使龙图游戏跻身一线手机游戏发行厂商。
杨圣辉的另一身份是投资人。2012年,杨圣辉与寇晓伟成立优格资本,立足于做资本+资源的整合者。
寇晓伟是中国最早的知名互联网信息管理者,曾长期担任中国互联网协会副理事长。尤其是在网络游戏行业,寇晓伟被誉为中国网络游戏产业的开拓者和掌门人,也是世界第二大游戏展“China Joy”的创办者,长期以来积累了雄厚的互联网和文化媒体产业资源。
成为投资人后,寇晓伟将资本和资源很好的整合在一起。寇晓伟表示我们已经进入了资本加资源的整合时代,而且这才是企业竞争的王道。在资源被大平台日趋垄断的情况下,资本加资源尤其重要。
显然,寇晓伟在这一点上做得很出色。2015年7月,由优格资本牵头,小米科技、盛大集团、人人网、掌趣科技、游族网络、龙图游戏、蓝港互动、37游戏、星辉互动娱乐、博雅互动等10家知名互联网企业出资的优格创投基金在北京正式成立。此次成立的优格创投基金,是中国少有的具有雄厚产业资源背景的创投基金,堪称中国当代风险投资基金史上的“最强阵容”。
在了解了这样的背景后,我们也不难理解ROOBO的定位,以及为何能频频拿到高额融资,背后少不了优格资本的资源支持。而作为资本加资源的整合下诞生的ROOBO,能否成为下一个腾讯,就要看接下来怎么把资本加资源整合到极致了。不过在雷锋网看来,ROOBO首先应该做的是找到一个方向并做出一个好的案例,从而形成自己的市场壁垒,而不是一下把步子跨得那么大。
不过,雷锋网还发现一个有意思的地方,ROOBO A轮的领投方安徽科讯创业投资基金合伙企业目前已经从股东的名单划出。通过天眼查,雷锋网获悉该企业为科大讯飞旗下的投资公司,投资企业包括机器人企业优必选。截至发稿,科大讯飞方面对此未作出回应。
来源:雷锋网



评论