中概股回归,市场也有质疑,比如境内外市场价差、“炒壳”等问题;尤其是那些利用VIE架构海外上市企业,国外市场对其风险监管趋于严格;对于这类特殊股权结构的企业,国内如何提升监管水平,也是一大挑战。

(药明康德创始人、董事长兼首席CEO李革)
2000年公司成立,药明康德在2008年纽交所上市,被誉为“华尔街首次为中国的头脑买单”,可2015年底又从纽交所下市。退市后仅10多个月内,药明康德“一分为三”, 裂变出三家上市企业:2015年4月,旗下合全药业(832159)登陆新三板,2017年6月,药明生物(02269)在香港主板上市,紧接着在一个月内,药明康德又申报上交所主板上市。
这家号称“医药界阿里巴巴”的药明康德,套用阿基米德那句话:假如给我一个支点,我就能撬动千亿市值!
新药产业“阿里巴巴”创始人李革的二次创业

说及药明康德,先得从创始人李革的创业传奇说起。
药明康德CEO李革,今年51岁,祖籍温州平阳,只不过是在北京出生的,父母俱是平阳人。平阳籍企业家很多,例如安邦集团吴小晖、联通投资控股集团总裁吴家齐等,当然也包括李革。
北大化学系毕业后,李革到哥伦比亚大学继续深造,攻读有机化学专业博士,也许他曾一心想做学术,即便是现在,李革也喜欢自己名字后缀一个“博士”称号。勤奋是许多中国留学生相同的特点,李革也是如此,美国学习三年,与哥大导师Clark Still教授共同发明了“标记的组合化学技术”,也发表了数篇论文。
“努力一定要有结果,梦想一定要实现。”这是李革在上海药明康德2017年会上说的。机缘巧合之下,毕业后,李革加入了导师的创业的生物技术公司Pharmacopeia(药典公司),成了公司的合伙人和创始科学家之一,开始第一次创业。1995年,Pharmacopeia成功登陆纳斯达克时,李革年方28岁。
尽管李革后来放弃了在美第一次创业的成就,可在参与创业背后的过程中,让他懂得了如何发现机遇,并把它变成商业价值。
众所周知,创业的成功率都是很低的,全球范围内<1%。不少人想拷贝江南春的分众模式,但都很难成功,为什么?因为这是一个很小的细分市场。若把李革第二次创业公司药明康德归入药企行业,可不少人会问,恒瑞医药是做抗肿瘤药物,同仁堂是中药老字号,科伦药业是做大输液的,那药明康德生产什么药品呢?
不少人都知道药明康德是研发新药的,可具体怎么弄就一知半解了;也有人说它只是一个平台,那这一平台是如何运作,很多人说不清楚。

巴菲特说,选择行业增长潜力,如同长长的雪道看目标。以医药行业来说,制药业相当激烈,而新药研发难度更大,且周期长风险大,一个项目从立项、研发、临床试验、再到认证及获批上市,少则数年,多则几十年。故此,进入医药业创业,如果不事先考虑好和竞争对手的差异性,并设计好可扩充性的商业模式,要在那长长的创业雪道滑行可不容易。
1999年,受邀回母校北大演讲的李革,在考察国内市场时发现,中国的原研药被进口药企一统天下,而集中在科研院所、高校的新药研发,商业转化市场尚处于初级阶段,缺乏商业公司媒介。于是,李革决定回国创业,做中国医药研发的服务外包。
药明康德是2000年12月创立的,最初在上海外高桥只有一间700平米的实验室,共4名员工,除创始人李革外,另有三位合伙人。创业后不久,李革并不想让公司贴上“药厂”标签,而是选择与别人不同的道路。药明康德不研发新药,而是致力于CRO,就像马云阿里巴巴方便中小企业一样,为全球数千家企业提供新药研发服务,做一站式研发平台。
相比于专于注册能力CRAO而言,CRO(合同研究组织)侧重于专业从事药品研发的外包服务。CRO是目前欧美、日本地区制药研发产业链中的关键一环,大约承担全球1/3新药开发工作。

(资料来源:i美股资产管理Ricky)
有人说,创办药明康德的李革,是中国CRO的拓荒者、“中国医药研发外包产业第一人”,此话不为过,可要说李革开了本土CRO行业之先,可能须斟酌一二。事实上,世界500强、全球最大CRO昆泰医药(Quintiles)早于1997年进入中国市场,无奈起初“水土不服”。
2002年,药明康德就实现2500万元的营收,此后数年业绩连连翻番。此后,药明康德先后获得美国富达投资等知名创投的投资,2007年,李革创办的药明康德成功登陆纽交所时,整好40岁。目前,药明康德已从最早的药物研发外包业务,发展为全方位药物研发服务技术平台公司,业务涵盖小分子新药、生物药、细胞及基因疗法、基因检测等。

(药明康德董事、高级运营副总裁及全球人力资源负责人赵宁)
在《胡润百富榜2017》上,美籍华人李革、赵宁夫妇以280亿元财富,荣登中医药类富豪榜第5位,排名其前的分别是恒瑞孙飘扬家族、康美马兴田家族、扬子江药业徐镜人家族、以及步长制药的赵步长、赵涛父子。
李革的太太赵宁,也是个超级学霸,与丈夫有着相同的求学经历。两人皆毕业于北京大学,后又同去哥伦比亚大学,还一样取得哥大的有机化学博士学位。只不过,李革当年在美第一次创业时,赵宁是在美国百时美施贵宝等跨国药企工作。药明康德成立后,赵宁才回国,助力夫君创业。
目前,赵宁已全面接管、负责公司全球人力资源工作多年,药明康德之所以被业界公认为中国生物医药界的“黄埔军校”,与她的努力分不开的。要知道,药明康德集团16000名员工中,科研人员就有13000人,而且其中六七成是研究生和博士,不少还是海归。人才既是公司持续发展的创新源泉,更是最宝贵的财富。
药明康德在美退市,不好混还是另有他图?
家族上市公司退市,有主动的,也有被动,有各式各样的因素。比如去年7月,鞋企百丽国际在香港联交所正式退市,10年在股市上绕了一圈又打回“原形”,转型失败是一大原因,当然也是“被动”退市。另外,也有部分家族企业是因传承失败,“树到猢狲散”,无奈才选择退市。

有着百年历史、全球供应链帝国香港利丰集团,也曾一度把已上市的利丰作退市处理,可这是一种“主动性”退市,其意图很清楚:即解决上一代传承过程中遗留的家族内部冲突和股权分散的问题,让企业决策权得以高度集中。
扛着中国CRO第一大旗的在美上市中概股,药明康德为何要上演一番“归去来兮”呢?
首先,西边不亮东边亮,随着分众传媒借壳上市(七喜控股)后,中概股出现了一波返乡潮。当然,促使登陆海外资本市场的中概股把目光瞄准国内原因颇多,有政策大环境因素,也有美国市场监管严于国内、上市后屡遭质疑及市场做空等因素;(比如分众传媒遭浑水做空)更为重要的一点是,从融资平台上看,中国A股的整体估值水平要远高于国外。
2015年12月,药明康德完成私有化,从纽交所退市。当时,该公司声称:“取消上市的主要原因是,作为私人持有实体,药明康德管理层可拥有更大弹性专注于改善长远财务表现而毋须承受公开股本市场着重短线的期间与期间财务表现而带来的压力。”如上这句话什么意思呢?露白一点说,就是美股太不好混了,对俺的价值不但低估还不认可。

话虽那么说,有市场分析人士指出,药明康德管理层自比高科技企业,可美国资本市场却给出不同的定位,因为其几年的一系列的投资及新业务拓展,例如在基因组学和细胞疗法上的投资,有的已超出传统CRO公司的业务范畴。简单地说,对他们“不务正业”有投资风险上的担心。
退市后,上了港股,又拿了一块“新三板”, 药明康德 “一拆三”上市布局其实已完成了二步,剩下的一步就是登陆上交所主板了,一旦IPO获批上市,恐怕李革家族的身价还得迅速飙升(用“蹿升”准确点!),或可应了篇首那一句:假如再给我一个支点,我可撬动千亿市值!
那么,药明康德A股上市之路最大的一头“拦路虎”是什么?特殊的股权结构。
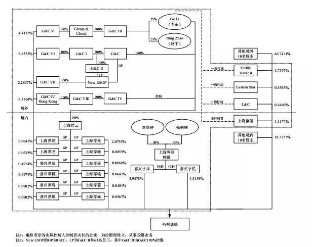
多次引进新的投资后,股权一直被动稀释,药明康德股权非常分散,一度没有实际控制人,比如2015年未退市之前,最高的持有者施罗德投资管理集团,股权比例也不超过10%,创始人李革及其团队本身持有的股份也是很少的。
股权方面,药明康德私有化后不单分散,股权结构还非常复杂。目前,外资股东居多,共有42名股东,另外,还有众多资本大佬参股,比如有由阿里巴巴马云、聚众传媒虞锋共同发起的“云峰基金”,还有泰康集团,以及红杉资本旗下基金等。
创始人李革夫妇及合伙人刘晓钟、张朝晖四个人,之所以成为公司的实控人,是由于他们共同拥有药明康德34.4812%的表决权。(目前,药明康德无控股股东,公司创始人李革、赵宁、刘晓钟、张朝晖,号称药明康德“四剑客”,已签署一致行动协议,为公司实际控制人。另外,李革还与其他部分股东签署一致行动协议或投票委托书。)

(药明康德招股说明书上的股权结构图)
据去年3月招股书披露,截至2017年3月底,药明康德共有30家境内控股子企业、27家境外控股子企业、3家分公司,还有6家参股子企业;难怪有人称之为中国医药业的资本市场“玩家”。
中概股回归,是好是坏还存在一些争议,市场也有质疑,比如境内外市场价差问题,又比如“炒壳”等;尤其是那些利用VIE架构海外上市企业,国外市场对其风险监管趋于严格;对于这类特殊股权结构的企业,国内如何提升监管水平,也是一大挑战。
许多家族企业将上市作为发家致富的捷径、通往成功之路的跳板,特别是“分拆上市”,这方面的期望值更高。想像一下,一个盘子里堆满一个个金灿灿的大饼,多爽呀!
非常有意思的是,美国很多优秀的家族企业“大佬”,并没有热衷此事。比如微软、沃尔玛、迪斯尼、亚马逊,还有多元化发展最厉害的企业之一的美国通用,也没有把子版图或者孙板块分拆上市,而我们的香港股市,还有国内A股,为何喜好这一口呢?此中缘由,其实不用多说吧!


评论