很多网友说贾乃亮爱得卑微,因为李小璐16岁就拿了金马奖最佳女主角,且是名三代,富二代,而他们结婚时贾乃亮还不是很出名,算是傍上了李小璐。但是事实真是这样吗?
不论贾乃亮是不是富二代,反正他是个“壕”
有传闻说贾乃亮其实也是个富二代,父母从事高科技IT行业,公司已上市,但是笔者根据网传的贾乃亮父母名字“王雫瑛”和“贾桽”在天眼查并没有搜到这家传闻中的公司。贾乃亮本人曾经对此进行过辟谣,因此真实性还需打个问号。
如果仅凭贾乃亮的家境就判定是他傍上了李小璐还言之过早。贾乃亮爱车这件事在圈内也算是小有名气,白色宾利飞驰、黄色法拉利、红色拉法、奔驰G级越野车、林肯领袖一号和法拉利458硬顶敞篷都是他的座驾。不论他是不是富二代,这些总价过半亿的豪车都能说明他的经济能力不输李小璐。
近几年这对夫妇中只有贾乃亮登上了福布斯中国名人榜,而李小璐并未上榜,由此可见,即使当初李小璐名气比贾乃亮大,但是近年来李小璐的吸金能力远远不敌贾乃亮是不争的事实。

李小璐曾在访谈节目中透露,自己赚的钱都给爸爸保管,家里的一切开销都依赖于贾乃亮,这进一步说明了贾乃亮的收入不低。
贾乃亮的收入从何而来?
大家都知道艺人收入高,尤其是中国艺人,简直高得吓人,所以贾乃亮收入高并不是一件让人意外的事,但是这并不是他收入的全部来源。贾乃亮除了是一名艺人,还是一名生意人。
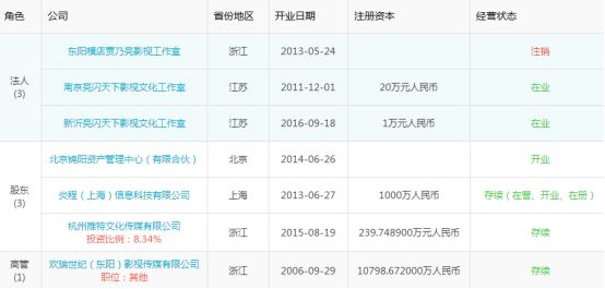
笔者从天眼查得知贾乃亮目前是南京亮闪天下影视文化工作室、新沂亮闪天下影视文化工作室的法人;北京锦阳资产管理中心(有限合伙),炎程(上海)信息科技有限公司和杭州推特文化传媒有限公司的股东;另外贾乃亮还担任欢瑞世纪(东阳)影视传媒有限公司的高管。

这些头衔已足够多,但是贾乃亮的身份却不仅仅如此,他还通过南京亮闪天下影视文化工作室参股了天津童乐影视文化有限公司、上海亮语馨言电子商务有限公司和杭州万核网络科技有限公司。

除了这些,其实贾乃亮还是椰子游戏的股东。由此可见,贾乃亮的商业版图非常广,并且涉及了多个行业,这样做的好处是可以分散风险。
反观李小璐,她虽然是3家公司的法人和8家公司的股东(中间有2家公司重叠),但是她的投资内容却集中在文化传媒和服装贸易上,较为密集,除了一家乐视是科技方面的,却没成想是个“雷”。贾乃亮的收入近年来的收入远高于李小璐正说明了分散投资的好处。
贾乃亮投资的成与败
南京亮闪天下影视文化工作室、新沂亮闪天下影视文化工作室、北京锦阳资产管理中心(有限合伙)和炎程(上海)信息科技有限公司替贾乃亮赚了多少我们不得而知,但是可以肯定的是贾乃亮对于欢瑞世纪(东阳)影视传媒有限公司的投资肯定个桩稳赚不亏的买卖。
贾乃亮于2014年6月26日出资50万,以每股2.5元购入欢瑞世纪(东阳)影视传媒有限公司20万股。2016年11月10日退股,彼时欢瑞世纪(东阳)影视传媒有限公司已借壳星美联合登陆A股市场,贾乃亮当初投资的钱翻了差不多10倍。
也许有人会认为欢瑞世纪是他最成功的一次投资,实则不然,他最成功的一次投资或许是以以自身的“星光”入股椰子游戏。
到2017年为止,中国手游市场已实现了180亿美元的营收,是两年前的两倍,占世界总营收的三分之一,中国俨然已成为世界第一大手游市场。而腾讯就占了中国手游市场的半壁江山,紧接其后的也是网易等大厂。

椰子游戏等中小厂想要生存,只能靠产品取胜。近年来游戏IP跨界合作,泛娱乐的趋势越来越明显。在各家游戏公司手中都握有一定量的小说IP和影视IP的情况下,椰子游戏想要脱颖而出并不容易。虽然他们手中也有《唐门世界》、《少年四大名捕》和《传奇世界》等知名IP,但有这些却远远不够。
因此他们另辟蹊径,发现除了小说IP和影视IP,明星本身也可以构成IP,这才有了他们的“融文化”战略,定位明星定制手游细分市场,与明星深度合作,签订股东合伙协议,允许明星以“星光”入股。即明星不用出任何费用,只需为产品宣传、代言,同意椰子游戏以自己的原型制作游戏即可入股。
所以贾乃亮入股椰子游戏相当于空手套白狼,且不说椰子游戏目前处于盈利阶段,即使椰子游戏亏钱,贾乃亮也不会有损失。
当然,投资与风险是并存的,贾乃亮也不是没有投资失败的时候,服装贸易方面他就不如李小璐玩得转。李小璐被称为“东大门带货女王”,除了她自己的服装品牌“JACQUELINELUU”和“LOVE LULU”销量喜人,她与朋友、母亲创立的服装品牌“Little-Date小日子”,“wannabebe”和“TALI REGAL”销量也都不错。
贾乃亮于2015年12月11日与另外三人合伙创立上海亮语馨言电子商务有限公司,2016年6月创立高端童装品牌“KID TO TEEN”,并开了淘宝店,可惜销量惨淡,早已关门大吉,这是贾乃亮较为失败的一次投资。


评论