西雅图早上6点,位于市中心7th Street和Blanchard St的十字路口边熙熙攘攘。很多人天还没亮就驱车赶来西雅图的市中心,为的就是一个小时后正式向公众开放的亚马逊无人商店Amazon Go。

14个月前,也就是2016年的12月5日,Amazon Go横空出世,着实吓坏了美国各大传统零售商。只要扫一下二维码就可以进店购物,随便从货架上挑商品,拿了就走,不需要排队结账。

然而,Amazon Go正式向公众开放的日期却从原计划的2017年上半年一直推迟到2018年1月份。就在人们即将要忘记Amazon Go这回事儿时,今天早上7点,芝麻开门了。

硅兔君(ID:sv_race)特派前线记者,获取最新一手讯息,以下为小记者从现场传回的报道。

















对Amazon Go有了初步了解后,硅兔君将一一解答以下问题:这到底是一个什么样的超市?开放第一天反响如何?亚马逊为什么要做Amazon Go?这种模式的未来会怎么样?

Amazon Go到底是个怎样的线下店?

要了解Amazon Go,首先要搞清楚一个关键词:即拿即走(Just Walk Out Technology)。
即拿即走,顾名思义就是拿了商品就能离开。
用户体验的流程是这样的:用户首先需要下载一个Amazon Go的app,登录自己的账号;

进入Amazon Go前,用户需要调出app中代表ID的二维码,扫码进入。进入Amazon Go之后,用户就不需要再用到手机了;
扫码通过时,亚马逊进口处的摄像头会捕捉用户的人脸,并且和用户的账号进行确认绑定;这样一来,哪个人买的什么东西,后台就能直接将购物信息和所对应的账户同步;

进入商店后,用户可以随意挑选货架上的商品,拿了就可以直接走。出口处的摄像头会再次识别并确认用户的人脸,并对购物篮中的商品结账。

只有当顾客离开Amazon Go之后,账户里的交易才会完成。

Amazon Go不是一家正儿八经的超市,它更像是一家开在市中心位置的便利店,比如711,又或者是迷你版的Whole Foods。Amazon Go的面积是1800英尺,比国内的全家或者罗森稍大一些。
开在西雅图市中心的Amazon Go周边都是办公楼,附近连个停车的地方也都被早早占领。店里没有什么新鲜的肉类或者蔬菜可以卖,主要的食物都是像国内全家或者罗森那样的三明治、小食和饮料。不过,Amazon Go有个还不错的酒柜。

因为老板不差钱,所以即使造价昂贵的Amazon Go,物品的价格并不是设置的很高,一个越式法包(bahn mi)卖5.99美元,一瓶橙汁也不过3.99美元,一个reddit用户就表示,这个价格在西雅图算是便宜的了。

最后,Amazon Go并不是真正的无人商店,因为它还是需要工作人员准备食物、补充商品,Amazon Go里还有一个厨房,会准备三明治、沙拉和一些外卖午餐等即食类商品。

同时,店里有很多穿着橙色衣服的亚马逊工作人员,搞得一家无人商店里的人比普通商店的人还要多。

Amazon Go的店内顾客人数大概控制在40-50人,一旦人数超过了60-70,亚马逊的工作人员就会开始限流。
Amazon Go开放第一天怎么样了?
毫无疑问,Amazon Go的开放,引发了一场媒体报道的狂欢。
BBC新闻:亚马逊即拿即走零售店Amazon Go开业

纽约时报:Amazon Go,解锁未来零售模式

彭博资讯:Amazon Go开业,成为零售业的分水岭

率先尝鲜的西雅图市民并未失望,但围绕Amazon Go的争议也不少。
一方面,即拿即走,无需排队等待结账的极速购物体验令消费者高呼“Amazing”,令人陶醉不已!



但Amazon Go不接受Food Stamps(美国政府发放给低收入家庭的食品补助劵)的做法令消费者担忧,七分之一的西雅图市民将被拒之门外,这是否是一种阶级歧视?

更多的消费者表达了自己的忧虑,一旦Amazon Go零售店的模式在全美推广,越来越多的收银员将失业,用科技取代劳动力对社会究竟是好是坏?


还有为Amazon Go查缺补漏的消费者,比如,消费者手中拿的是朋友要购买的商品,Amazon Go的算法将怎样准确将商品加入朋友而不是自己的购物车呢?

新事物的产生总是伴随着对旧有行业格局的冲击,面对Amazon Go来势汹汹势要颠覆传统零售业的态势,社会总要经历痛并快乐着的转型阶段。
亚马逊为什么要做Amazon Go?
距离马云爸爸提出新零售这个词,已经两年了。

不仅仅是亚马逊,几乎全世界的电商都在两三年前意识到:线上消费必须要和线下零售相结合。线上红利基本上都瓜分殆尽了,电商们要寻求进一步的突破,必须要从线下零售切入。
看看过去一年亚马逊和阿里巴巴的收购动作:亚马逊花了137 亿美元收购Whole Foods,当天,Walmart和Target的股价应声下跌;

阿里巴巴则和银泰、三江购物、百联等传统零售企业合作,并斥资224亿港币拥有了高鑫零售36.16%的股份,后者就是欧尚、大润发等大型超市的母公司。

线上线下结合最重要的就是用户体验和成本控制,Amazon Go体现的就是极致的用户体验,直接将“排队”和“付账”这两个最影响用户体验的环节连根拔掉,这种创新本身也继承了Amazon的线上消费功能:一键购买和两日送货。
当然,说到成本控制,拥有成百上千台传感器和摄像头的Amazon Go是重金打造、不计成本。所以,Amazon Go也可以被看成是一个不以盈利为目的、纯粹教育市场的产品,毕竟绝大多数人都不会在短时间内适应甚至喜欢上这种购物模式,Amazon Go是一个很好的试验场。

可能以后的某一天,用户会非常想念商品扫描器发出的那一声“嘀”~~。
Amazon Go有没有前途,就看有没有人跟着一起玩儿。结果,Amazon Go概念推出后半年,阿里巴巴在杭州推出了“淘咖啡”,阿里巴巴甚至把Amazon Go的计算机视觉算法负责人任小枫给挖了过来,拉到iDST当了首席科学家。

又过了半年,腾讯在上海K11推出了微信快闪店,京东直接就和中海地产签订战略合作协议,准备在未来建立数百家无人商店。

像Amazon Go这样的无人零售模式未来会不会成为主流,硅兔君说不好,无人零售的模式本就不止这一种。但是,无人零售会成为趋势是毋庸置疑的,人力成本总会越来越高,而传感器则越来越低,怎么算都是划算的买卖。
最后一点,Amazon Go可以拿到的数据是惊人的:脸部数据、购物数据、购物习惯等等都是宝贵的数据来源。
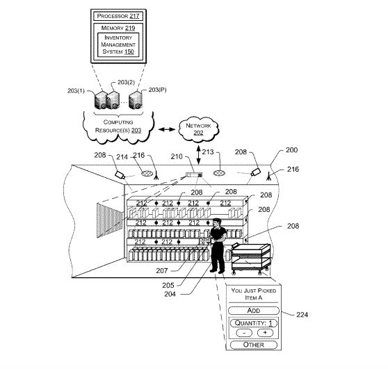
Amazon Go背后搭载了什么样的技术?
亚马逊并没有官方披露Amazon Go背后的技术,只是在介绍视频里提了一句“我们使用计算机视觉、深度学习算法和传感器融合”,但从亚马逊之前申请的专利上,还是能看到一些端倪。

一个有意思的发现是:当库存管理系统无法分辨用户拿的到底是一瓶番茄酱还是一瓶黄芥末时,这个系统会考量用户过去的购买习惯。如果用户在过去只买过番茄酱,那么系统会自动确认用户从货架上拿走的也是一瓶番茄酱。
另外,传感器融合专利提到,为了判断用户拿的是什么商品,Amazon Go会结合多个传感器进行判断。除了图像分析外,Amazon Go还用到了压力传感器、测力传感器等。图像分析可以减少目标的可能性选项,然后再用重量数据匹配进行进一步的锁定,以识别实际放置在货架上的物品。

请注意的是,以上这些说法都是亚马逊在很久之前提交的专利描述,有可能和如今Amazon Go的技术原理有些出入。
Amazon Go的未来会是什么样的?
这不会是第一家Amazon Go,但也不会像星巴克那样遍地开花。尽管亚马逊没有透露更多关于Amazon Go的计划,但很有可能会在未来几年在美国其他城市,甚至在欧洲开更多的Amazon Go。英国和欧盟就已经通过了Amazon Go的商标申请。

过去几年,无论是智能音箱Echo,还是可以开门送货的Amazon Key,以及Amazon Go,亚马逊在创新上总是独领风骚。以至于最近亚马逊宣布要成立第二个公司总部时,竟然有超过20多个美国重要城市毛遂自荐,希望能引入亚马逊的公司建设项目。

西雅图的市民无疑是幸运的。20多年前,他们就是最早一批接触到搭载着Win-Tel PC的人,20多年后,他们也是最早一批冒着寒风,哆哆嗦嗦但又欢欣鼓舞地等待Amazon Go开门的人。


评论