
图源于央视财经
近日,数家主流媒体报道中多用“疯狂、炒作、天价、乱象”等一系列关键词直击普洱茶产业现存的一些问题或现象。就云南普洱茶来讲,这一产业说大不大,其原产地也不过易武茶区、勐海茶区、临沧茶区、普洱茶区以及保山茶区等云南地理保护范围之内,换句话说,云南普洱茶的采制原料百分之九十及以上的晒青茶都源于这五大茶区。若谈及近年来兴起的古树普洱茶,其产量相对少之又少,占比不到普洱茶总产量的百分之二。物以稀为贵,古树茶价高,加之资本进入炒作,也是情有可原。

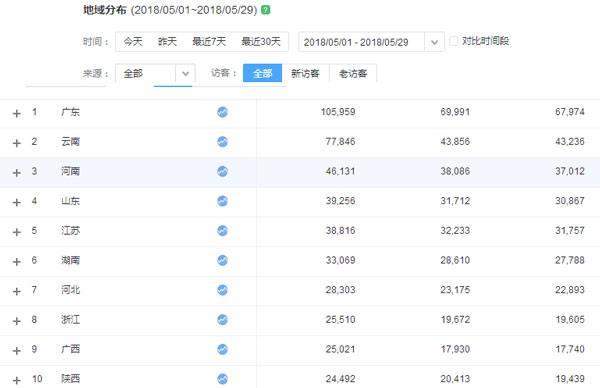
图为:普洱茶消费群体地域占比(图截自说茶网数据库)
然而,从普洱茶的消费群体来看,这一产业却着实不小。从消费地域来看,普洱茶的消费市场,中国的南方市场占比较大,其次是近年来开拓的北方市场,以及海外部分市场。从说茶网近期的消费数据报告来看,普洱茶这一产业在广东、云南、河南、山东、江苏、湖南、河北、浙江、广西、陕西等十大地区的关注度极高。其中,从消费群体的性别比例来看,男性消费群体占比高于女性群体;从消费年龄层次来看,以30—39岁年龄段的普洱茶消费群体居多,其次是40—49岁年龄段的消费者,第三是20—29岁年龄段的消费者,从这里我们不难得出,普洱茶消费群体逐渐呈年轻态发展。

图为:普洱茶消费群体性别比与年龄比(图截自说茶网数据库)
就媒体报道之行业乱象来讲,普洱茶之乱主要源于普洱茶原产地的一线山头,诸如勐海茶区的布朗山老班章,易武茶区的薄荷塘、茶王树、弯弓,临沧茶区的冰岛等小众产区的山头古树茶,包括但不限于以上提及的一线山头茶引资过度炒作,其产品呈以次充好、以假乱真等诸多乱象。
名山茶以“天价”引资炒作,在云茶产区已不是个例现象,近年来诸多类似老班章“茶王树”“茶后”的“天价”包采炒作现象频出,以致让整个普洱茶消费市场突显出普洱新茶老茶产品价格倒挂,即新茶价格高于同期的老茶价格,与此同时,这些乱象也严重影响市场正常秩序,或将让整个普洱茶产业陷入“信任危机”。
深圳特区报5月29日发文呼吁,“要找回甘醇浓厚的普洱茶香,亟须建立起一套规范的市场信用体系以支撑普洱茶行业的健康发展,有关部门也应及时介入整顿规范。”抛出这些频频在媒体前曝光的小产区、名山茶来讲,普洱茶产业乃至云茶产业,整体上是趋于健康向前发展现状。当然,近期除主流媒体用“疯狂、炒作、天价、乱象”直击云茶乱象之外,个别普洱茶产商普洱茶产品暗存造假事件,即“老班章茶农被代表”事件顺势被自媒体爆出,一时间内在业界内外引发轩然大波。

图为:引发“老班章茶农被代表”事件的广告语(源于网络)
总而言之,引发普洱茶乱象的诱因,多源于近年来兴起的名山、古树等概念茶,随着普洱茶界“老班章茶农被代表”事件的曝光后,但愿从事普洱茶行业的相关茶企、茶商等人士吸取该事件的教训,以“心”制茶,以“心”事茶的全新态度,从而引领普洱茶产业的发展,回归、走向健康、理性的新消费时代。
本文系说茶网主编艾文华专稿,未经授权,禁止转载,观点仅代表作者个人


评论