SMM讯:铜是史前金属,早在原始社会就被人类发现和应用。由于铜的出现,石器时代随之消亡,人类逐渐迈入青铜器时代。
1865年欧洲发明了铜电解精炼,对铜冶炼技术进步意义重大。

提及中国铜冶炼历史,不得不提到湿法铜,湿法铜源于我国,古称“胆水浸铜法”。在唐、宋主要集中在江西铅山、德兴和广东岭水,年产量最高近2000吨。铜陵地区的古矿规模更大,年代跨度又长,从商周到唐宋一直是采铜、冶铜的中心。近代炼我国铜工业处于落后地位,直到1949年前,全国只剩沈阳冶炼厂、上海冶炼厂、昆明冶炼厂和重庆冶炼厂4家工厂维持少量生产,产量不足3000吨。1949年以后,新中国整个工业水平迅速提高,新建了铜陵、白银、大冶和云南等大型炼铜厂。
目前世界上生产电解铜的冶炼方法主分为两大类:火法冶炼和湿法冶炼。目前精炼铜产量的80%以上是用火法冶炼生产的,湿法冶炼生产的精炼铜占20%左右。
一、火法冶炼
火法炼铜是当今生产铜的主要方法,占铜产量的80%左右,主要是处理硫化矿。火法炼铜的优点是原料适应性强,能耗低,效率高,金属回收率高。火法炼铜可分两类:一是传统工艺:如鼓风炉熔炼、反射炉熔炼、电炉熔炼。二是现代强化工艺:如闪速炉熔炼、熔池熔炼。
由于20世纪中叶以来全球性的能源和环境问题突出,能源日趋紧张,环境保护法规日益严格,劳动成本逐步上涨,促使铜冶炼技术从20世纪80年代起获得飞速发展,迫使传统的方法不得不被新的强化方法来代替,传统冶炼方法逐渐被淘汰。随之兴起的是以闪速熔炼和熔池熔炼为代表的强化冶炼先进技术,其中最重要的突破是氧气或富氧的广泛应用。经过几十年的努力,闪速熔炼与熔池熔炼已基本取代传统火法冶炼工艺。
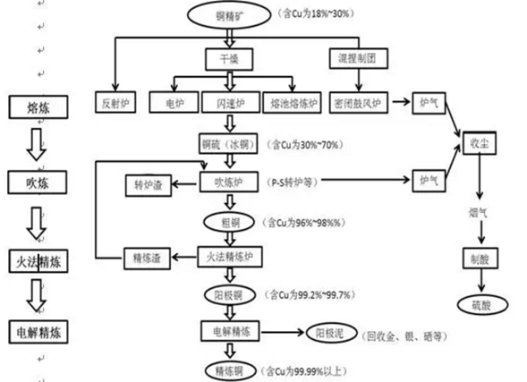
1、火法冶炼工艺流程
火法工艺过程主要包括四个主要步骤:造锍熔炼、铜锍(冰铜)吹炼、粗铜火法精炼和阳极铜电解精炼。
造硫熔炼(铜精矿—冰铜):主要是使用铜精矿造冰铜熔炼,目的是使铜精矿部分铁氧化,造渣除去,产出含铜较高的冰铜。
冰铜吹炼(冰铜—粗铜):将冰铜进一步氧化、造渣脱除冰铜中的铁和硫,生产粗铜。
火法精炼(粗铜—阳极铜):将粗铜通过氧化造渣进一步脱除杂质元素,生产阳极铜。
电解精炼(阳极铜—阴极铜):通过引入直流电,阳极铜溶解,在阴极析出纯铜,杂质进入阳极泥或电解液,从而实现铜和杂质的分离,产出阴极铜。

火法炼铜一般流程图
2、火法冶炼工艺分类
(1)闪速熔炼
闪速熔炼(flash smelting)包括国际镍公司因科(Inco)闪速炉、奥托昆普(Outokumpu)闪速炉和旋涡顶吹熔炼(ConTop)3种。闪速熔炼是充分利用细磨物料巨大的活性表面,强化冶炼反应过程的熔炼方法。将精矿经过深度干燥后,与熔剂经干燥一起用富氧空气喷入反应塔内,精矿粒子在空间悬浮1-3s时间,与高温氧化性气流迅速发生硫化矿物的氧化反应,并放出大量的热,完成熔炼反应即造锍的过程。反应的产物落入闪速炉的沉淀池中进行沉降,使铜锍和渣得到进一步的分离。这种方法主要用于铜、镍等硫化矿的造锍熔炼。
闪速熔炼在20世纪50年代末开始生产,已在四十多家企业推广应用,因为不断改进在节能环保方面有着显著成绩。该工艺技术具有生产能力大、能耗低、污染少等优点,单套系统最大矿铜产能可达40万t/a以上,适用于规模20万t/a以上的工厂。但是要求原料进行深度干燥到含水<0.3%,精矿粒度<1mm,原料中杂质铅加锌不宜高于6%。工艺的缺点是设备复杂、烟尘率较高,渣含铜比较高,需要进行贫化处理。
闪速熔炼中最具竟争力、发展最快并且工业应用较多的当属奥托昆普闪速熔炼。采用该法生产的铜量约占世界铜产量的三分之一以上。闪速熔炼具有技术成熟可靠,自动化程度高,生产强度大,作业成本低,环境保护好等优势,被称之为标准的清洁炼铜工艺。
奥托昆普闪速炉:该技术是当前世界上最先进的铜冶炼技术,具有节能、环保、高效的特点。而通过计算机在线优化控制系统进行“双闪”铜冶炼技术,更是在世界铜冶炼范围处于领先地位。由于环境要求越来越严厉,而老冶炼厂的P-S转炉正在过时淘汰,不能满足环境要求;从热平衡问题和造渣问题角度看,采用P-S转炉,熔炼的冰铜品位很难超过65%,而闪速吹炼由于可以使用高浓度富氧吹炼,热平衡可以保证,因而闪速熔炼的冰铜品位可以达到甚至超过70%,使熔炼的效率很高,符合铜闪速熔炼“四高”——高投料、高品位、高氧浓、高热负的技术的发展趋势。

闪速熔炼工艺流程图
(2)熔池熔炼
熔池熔炼包括特尼恩特炼铜法、三菱法、奥斯麦特法、瓦纽柯夫炼铜法、艾萨熔炼法、诺兰达法、顶吹旋转转炉法(TBRC)、白银炼铜法、水口山炼铜法和东营底吹富氧熔炼法等。熔池熔炼是在细小的硫化精矿加入熔体的同时,向熔体鼓入空气或工业氧气,在剧烈搅拌的熔池内进行强化熔炼。由于鼓风向溶池中压人了气泡,当气泡通过熔池上升时,造成“熔体柱”运动,这样便给熔体输入了很大的功能。它的炉型有卧、立式、回转式或固定式,鼓风方式有侧吹、顶吹、底吹三种。
熔池熔炼是20世纪70年代开始在工业上应用。由于熔池熔炼过程中的传热与传质效果好,可大大强化冶金过程,达到了提高设备生产率和降低冶炼过程能耗的目的。而且对炉料的要求不高,各种类型的精矿,干的、湿的、大粒的、粉状的都适用,炉子容积小,热损失小,节能环保都比较好,特别是烟尘率明显低于闪速熔炼。
奥斯麦特工艺:奥斯麦特顶吹浸没喷qiang工艺已经在有色金属和贵金属以及高温处理各种废料的商业生产中得到广泛应用。2003 年底,包括奥斯麦特在南澳大利亚新建的示范工厂在内,全世界有16 家冶炼厂应用奥斯麦特工艺进行商业生产,其中包括中国铜陵的金昌冶炼厂、印度的铜厂和韩国锌公司的再生铜厂家铜厂。奥斯麦特法工厂可以是单台或多台炉子配置,通常不需复杂的物料和烟气处理系统。由于该工艺简单、灵活和能效高,使用奥斯麦特工艺的设备成本比较低。奥斯麦特工艺注重减少外围设备的规模和复杂性,因此在奥斯麦特炉系统内或周围进行低成本改造使客户可以减少尾气处理规模,特别是硫的固定和酸厂、燃料和气体输送系统。原料简单并且给料不需要干燥和磨矿。


2011年世界铜冶炼产能主要冶炼厂

主要炼铜工艺对比

国内主要铜企粗炼能力(截止2013年)

国外部分铜企冶炼工艺情况
需要注意的是再生铜冶炼也是火法冶炼的一种,铜本身是可再生资源,再生铜是炼铜的重要原料,根据国际铜业研究组织(ICSG)数据,在主要发达国家,再生铜产量的比重非常高,其中美国约占60%,日本约占45%,德国约占80%。
一、再生铜冶炼工艺
再生铜处理工艺取决于原料,约2/3的高品位铜废料不需要熔炼处理而直接用于铜产品生产,1/3的废杂铜需要熔炼处理。目前国内外回收利用废杂铜的方法很多,主要可分为两大类:第一类是将高质量的废杂铜直接冶炼成紫精铜或铜合金后供用户使用,称作直接利用;第二类是将废杂铜冶炼成阳极板后经电解精炼成电解铜后供用户使用,称为间接利用。其中,第二类方法根据原料分为高品位和低品位,从冶炼工艺上分为一段、二段和三段法冶炼。
一段法:铜品位>98%的紫杂铜、黄杂铜、电解残极等直接加入精炼炉内精炼成阳极,再电解生产阴极铜。
二段法:废杂铜在熔炼炉内先熔化,吹炼成粗铜,再经过精炼炉—电解精炼,产出阴极铜。
三段法:废杂铜及含铜废料经鼓风炉(或ISA炉、TBRC炉、卡尔多炉等)熔炼—转炉吹炼—阳极精炼—电解,产出阴极铜。原料品位可以低至含铜1%。
三段法原料综合利用率高,产出的烟尘成分简单、容易处理,粗铜品位较高,精炼炉操作比较容易,设备生产率也比较高等优点,但又有过程复杂、设备多、投资大且燃料消耗多等缺点。因而,再生铜的冶炼一般采用两段法与三段法相结合的工艺流程,此法有利于降低能耗并提高有价金属的综合回收利用。
二、主要冶炼工艺介绍
1、北德精炼凯撒冶炼厂凯撒回收再生系统(KRS)
北德精炼凯撒冶炼厂是目前世界上最大最先进的再生铜精炼厂。凯撒冶炼厂用1台ISA炉取代3台鼓风炉和1台PS转炉,处理含铜1%~80%的残渣和杂铜;ISA炉间断地进行熔炼和吹炼,含铜残渣和杂铜,先在ISA炉中进行还原熔炼,产出黑铜和硅酸盐炉渣,黑铜继续吹炼,产出含铜95%的粗铜。

2、奥地利MontanwerkeBrixlegg冶炼厂鼓风炉-转炉-反射炉工艺
Montanwerke Brixlegg冶炼厂是奥地利唯一的铜冶炼厂,原料为废杂铜,含铜在15%~99%。生产工艺由鼓风炉、PS转炉、固定式阳极炉及电解组成,是典型的三段法。
该工艺的特点是:不同品位的残渣和紫杂铜用不同的工艺流程生产不同的产品。含铜15%~70%的残渣原料先进鼓风炉,用焦炭还原生产出黑铜,再进转炉生产出粗铜;含铜75%以上的黑铜和铜合金直接进转炉,生产出含铜96%以上的粗铜进阳极炉精炼;含铜品位较高的杂铜、粗铜则直接进阳极炉精炼;而含铜品位更高的光亮铜则无需冶炼处理,直接加入感应电炉生产铜材,对原料的适应性很强。
3、比利时Metallo-Chimique 冶炼厂氧气顶吹旋转转炉(TBRC)冶炼工艺
Metallo-Chimique 冶炼厂的TBRC炉对原料的适应性强,处理的原料非常杂,品种很多。主要原料为含铜25%~30%的工业残渣、各种铜合金(黄铜、青铜等)、废旧电机、海绵铜、电缆、各种品位的杂铜等等,尤以处理含铜、铅、锡的低品位工业残渣、铜合金、难处理的杂铜为主。

4、卡尔多炉处理低品位废杂铜
卡尔多炉处理低品位废铜是一种先进的熔炼技术,主要体现在金属回收率高和环境效益好等方面,可以处理含铜15%-99%的废杂铜,适应性强,物料不用预处理,可以直接入炉,可以控制氧化和还原气氛。处理低品位废杂铜分加料、熔炼、放渣、吹炼、出铜5个步骤,在一台炉内分阶段完成,粗铜品位可达到96%。其反应过程通常用废杂铜原料中的铁作为还原剂,添加石英石熔剂。卡尔多炉处理废杂铜工艺是国外二段法处理废杂铜的一种先进工艺,国内大型冶炼厂,如江西铜业也引进该方法处理废杂铜。

5、NGL炉精炼废杂铜工艺
针对现有废杂铜处理技术的不足,中国瑞林工程技术有限公司研发了“NGL”炉废杂铜火法精炼工艺。
NGL炉是结合倾动炉和回转式阳极炉的优点而开发的,侧面有大的加料门和渣门,另一侧有氧化还原口和透气砖,炉体可在一定角度内转动。“NGL炉精炼废杂铜成套工艺及装备”首次在废杂铜精炼工艺中采用了氮气搅动技术,有效强化了精炼过程的传质传热,提高了生产效率。该工艺采用氧气卷吸燃烧的方式供热,大大提高了热效率,缩短了生产周期,使排出的烟气量减少了65%以上。
NGL炉精炼废杂铜成套工艺及装备于2010年开始,分别在山东金升集团东部铜业有限公司和广西有色集团再生金属有限公司进行了大规模的工业化应用,其4套250吨的NGL炉系统均于2012年投产。
二、湿法冶炼(SX-EW法)
湿法冶炼占铜生产量的10%~20%,是用溶剂浸出铜矿石或铜精矿使铜进入溶液,然后从经过净化处理后的含铜溶液中回收铜的方法。主要用于处理低品位铜矿石、氧化铜矿和一些复杂的铜矿石。
湿法炼铜设备更简单,在矿山附近就近生产,生产成本低,不生产硫酸,无SO2污染。但杂质含量较高,且炼铜周期长、效率低、产能规模小;贵金属回收困难,回收率不确定;处理黄铜矿精矿的湿法工艺还没有工业应用,存在技术障碍。
虽然目前湿法炼铜在铜生产中所占比重不大,但从今后资源发展趋势看,随着矿石逐渐贫化,氧化矿、低品位难选矿石和多金属复杂铜矿的利用日益增多,湿法炼铜将成为处理这些原料的有效途径。
1、湿法冶炼工艺流程
湿法冶炼工艺过程主要包括四个步骤:浸出、萃取、反萃取、金属制备(电积或置换)。氧化矿可以直接进行浸出,低品位氧化矿采用堆浸,富矿采用曹浸。硫化矿在一般情况下需要先焙烧后再浸出,也可在高压下直接浸出。浸出过程常用的溶剂有硫酸、an、硫酸高铁溶液等。

湿法冶炼一般流程图
2、火法冶炼工艺与湿法冶炼工艺比较

火法冶炼与湿法冶炼工艺对比
三、铜冶炼方法展望
世界铜冶炼发展趋势铜冶炼的发展趋势归纳起来有以下几点:
(1)由于铜矿的性质,为了回收其中的银和硫,火法炼铜仍占主要地位,但湿法炼铜比例会有所提高。
(2)铜厂将是无污染工作,二氧化硫废气排放浓度将在300ppm以下,硫的实收率达到95%~99%。无废水废渣排放。
(3)火法炼铜将基本上是自热熔炼。
(4)铜锍连续吹炼将会更广泛的应用。
(5)低品位矿将会用湿法冶金进行利用。湿法冶炼中浸出和萃取效率将会进一步提高。
(6)计算机在线控制将是主要的生产控制手段。
(7)工厂的规模将会更大型化,每一工序将会是单台炉子生产,操作工作将会更加减少。
随着环保政策的严厉和生产成本的增加,从世界范围看,成本高、技术落后小型冶炼厂将陆续关闭,大中型冶炼厂将进一步扩大生产规模,降低成本。而通过技术升级改造,进一步提高原料利用率,最大限度在冶炼过程中回收废渣、废水、废气中有价元素将是降成本最重要的手段。


评论