最近,一段短视频在推特上引发了病毒式传播,短时间内有超过五百万人次观看。视频内容其实很简单,就是一个人形机器人在路上漫步。
然而,点开视频的人都感到无可言状的恐惧,大呼噩梦来临,著名的英国精神论者 Drren Brown 转发配文说“我们都要死(WE ARE ALL GOING TO DIE)”,更是引发了讨论热潮。
原因就在于:这个机器人和人类实在太像了!倒不是说它外性能以假乱真,但那不慌不忙的走路姿势、微微驼背的样子、面无表情的白色脸庞,让人觉得它彷佛有了智慧和思想,下一秒就能化身冷血杀手向你扑过来。

正面:

背影:

恐慌在社交网络上传播,人们纷纷打听这到底是什么玩意儿!幸好,很快有人出来解释:不要怕!虽然这段视频很像实拍,但其实是通过CGI渲染而来,制作该机器人的目的是为了展示著名游戏公司 Unity 的游戏开发平台的能力。
谜底解开了,但是别忙着松口气!你以为:这样的机器人在现实中是做不出来的吗?Too naive!
现实中,那些令人毛骨悚然的机器人,越来越多了。
欧洲项目 RobotCub 吸引了超过全球 20 个实验室参与。参与者之一意大利技术研究院,研发了儿童机器人 iCub。

这个机器人还应用了虚拟现实技术——它配备了53个发动机,具有视觉、声音以及其它传感器,还有加速度计和陀螺仪等。使用 VR 设备的研究员可以在一定距离外控制 iCub 的行为。
相当于三岁半儿童大小的 iCub 本应走萌系路线,然而却有外媒称 iCub 是个“诡异”的机器人,小探看了视频和照片后也有同感。
原因在于:iCub 模拟儿童,但是雪白的脸上只有两只大大的无神的眼睛,做不出任何表情;另外走路的时候步履缓慢,双手颤抖。想象一下,一个面孔雪白的孩子呆滞地、慢慢地、抖着身子朝你移动,要是在夜里看到,是不是吓 skr 人?

喜欢研发“儿童机器人”的机构真不少,下面这个看起来更加吓人。
Gaumard Scientific 是一家为医务人员生产用来练手的假人模型的美国公司,曾为医学院生产出世界首副合成人体骨架,从而取代了真正的人骨架。现在,该公司在研发医疗用途的机器人领域颇有成果,比如下面这个看起来像五岁男孩儿的机器人 HAL。
HAL 可以回答问题,模拟许多医疗故障,掉眼泪、流血和呼叫妈妈。它的出现,是为了帮助医学生们在接受医疗训练时能处理病人的情绪问题,所以它还能表现出很多负面情绪。
比如它会因为扎针而恐惧哭泣(此处有哭声):

又因为“肌肉”不灵活,看起来似乎被人为控制了:

可以用来练习抽血,和皮肤表层切割的手术:

作为仿真机器人,HAL 与医疗专业人员几十年来使用的毫无“人气”的假人非常不同。Gaumard Scientific 曾表示:我们的想法是让HAL足够真实,以帮助学生更好地在实践中学习,但又不能过于逼真和接近人类,否则,“学生们在切开它的喉咙插入导管的时候可能会被吓坏”。
但是看完短视频的小探表示:已经被吓坏好吗?一方面 HAL 具备很多人类生理和情绪特征,另一方面它反应迟钝又诡异,简直可以去演恐怖片了。
更别提 Gaumard Scientific 公司还开发了其它的仿真机器人用于临床医学模拟训练,比如这个浑身插满仪器的婴儿:

在此,小探想先问大家一个问题:为什么上面的机器人,会令人类感到恐惧呢?
这里我们提供一个说服力较高的答案,叫做恐怖谷理论。此观点由日本机器人专家森政弘提出,中心内容是:当机器人与人类相似程度超过一定程度的时候,人类对他们的反应便会突然变得极其反感,这是因为,此时的机器人与人类只有一点点的差别,但点差别会显得非常刺眼,整个机器人显得非常僵硬恐怖,使人有面对僵尸的感觉。

但是,当机器人和人类的相似度继续上升,相当于普通人之间的相似度的时候,人类对他们的情感反应会再度回到正面,产生人类与人类之间的移情作用,比如《西部世界》中男主就爱上了机器人Dolores。想必到时候宠物机器人会成为一个热门研发领域啦!

不过目前,机器人还做不到上图的水平,而是处于“越相似、越令人感到恐惧”的阶段。
但除了恐怖谷理论,机器人另一大可怕之处,在于其可以变得很强大,并拥有人类不具备的优势。
那么我们总会设想:一旦它不听从人类的命令,有了自己的思想,或者仅仅是被心怀歹念的人所利用,会给人类带来什么灾难?
要说到目前机器人研发制造水平谁最高,那就绕不过 Boston Dynamics(波士顿动力)这家公司可以说是机器人技术全球最为领先。该公司成立于 1992 年,是从麻省理工学院独立出来的。2013 年底,谷歌收购该公司;2017年 6 月,软银以不公开的条款收购波士顿动力公司。

波士顿动力每次在官方频道发布新的机器人视频,都能引发一片喧哗和惊叹。此前它家萌萌哒机器狗已经火遍全网,被人踢了一脚还能趔趄着站稳继续走:

但我们要具体说的,是去年 11 月底,该公司刷屏社交网络的人型机器人,身高 1.75 米的 Atlas。
这个机器人如果不看外形,动作之灵动,简直和人类毫无差异,比如这个后空翻:

又比如这个站位调整:

可谓完美展示了后空翻前的运动规划和接触地面后的控制,关于其如何保持平衡,如何控制接触力等,这些既是目前机器人研究的重点,也是难点,而 Boston Dynamics 不仅做到了,把同行远远甩在身后,而且其技术原理外界仍然一无所知,只能靠猜测推理。
Atlas 的出现,同样引发了许多担忧和恐惧。视频下的留言反映了这一点,有人说:“拜托你们,求求你们,一定要保证这个机器人是善良的,而不会对人类产生恶意”、有人疑问:“要是它能学会开枪,是不是能消灭所有人?”
“虽然我不是做这方面的,但是我还是感到了一丝绝望与恐惧。”
“如果它继续进化,在它面前人类将成为虫子”。
对心存忧虑的人来说,Boston Dynamics 最新发布的实拍短视频,可真是个“坏消息”了。
视频中我们看到,Atlas 已经能负重在野外长跑:

遇到障碍物能进行判断并且跳过去,虽然花的时间有点久:

两段视频发布时间间隔半年,可见 Atlas 机器人的“进化”之神速,Boston Dynamics 下一次又会展示什么新的逆天功能,一步步突破目前机器人研究面临的局限呢?——我们紧张地拭目以待。
其实很多不那么“先进”的工业机器人早已投入实际生产应用,这些机器人可怕之处在于:其巨大的身躯和强大的钢铁力量,一旦撞上人类,后者简直就像章鱼丸子一样柔软易碎,毫无抵抗之力。
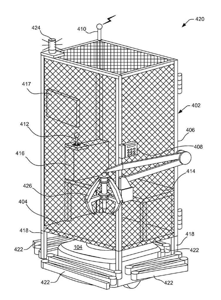
最近《西雅图时报》就发现一件事情:亚马逊公司早在 2016 年就申请了一项专利:将人类放入笼子里,以便他们可以安全地在机器人控制的工作区域内移动。外媒称此专利为“疯狂的主意”,“实在太可怕”。

专利研究人员称此研究为“工人异化的一个特殊例证”,笼子是人与机器人之间悬殊力量和关系的一个符号。亚马逊则说:公司以前从没有将此专利付诸实践,现在也没有这个打算;并且该设计的目的是善意的,是为了让人类能够安全地进入亚马逊高度自动化的机器人专区(robot-only zone)。

此言确实不虚,在亚马逊位于肯特郡的工厂,头顶着货架的机器人重达 675 斤,工作区域被高高地架起的链条围成栅栏,一旦有人类未经授权进入这片机器人专区,就会立刻触发警报,并且设备也马上被关闭,以避免机器人和人类发生碰撞,造成重大伤亡事故。
然而,无论是很像人类的机器人看起来很吓人,还是功能强大的机器人给人类以威胁和震慑,机器人的研究都不会因此停滞。对于前者,当机器人和人类的相似程度到了一个新高度,它们反而有可能开始惹人喜爱,并引发人类的“共情心理”;对于后者,人类在其面前却只会越来越渺小。
现在,机器人和人工智能几乎是分开研究的两个领域,前者是可编程机器,后者是计算机科学的一个分支。但未来它们会进行越来越紧密的结合,到时候我们得暗暗祈祷:机器人千万不要违反“机器人三定律”,不然那些潜入噩梦的恐惧,未来将成为现实。

注:机器人三定律是科幻小说家艾萨克·阿西莫夫为机器人设定的行为准则,具体内容是:
第一法则:机器人不得伤害人类,或坐视人类受到伤害;第二法则:除非违背第一法则,否则机器人必须服从人类命令;第三法则:除非违背第一或第二法则,否则机器人必须保护自己。
图片来自网络版权属于原作者


评论