空中客车公司在未来概念飞机中提出智能机窗设想后,目前已获得智能机窗的相关专利。智能机窗将进一步地为我们带来高科技交互式的旅行体验。
今年3月19日,美国专利局为空客智能机窗颁发了专利,美国专利局将这款新机窗形容为一种“在机舱中将信息交互可视化的方法”。
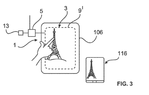
或许听起来并不浪漫,但这可能意味着当我们飞行在埃菲尔铁塔上空时,只需点开机窗便可了解埃菲尔铁塔修建的全过程。或许我们还能打开面前的座椅靠背上的超薄OLED显示屏,听着金·凯利(Gene Kelly)和莱斯利·卡侬(Leslie Caron)在《一个美国人在巴黎》中演唱的小调,悠然地飞过号称“灯光之城”的巴黎。
这项专利的授权展示出空客对这项独特构想的信心。在60年的时间里,飞机从木式机身发展到协和式超音速喷射飞机的形态。未来又将如何超越业已拥有的成就,智能视窗的构想或许能够让我们眼前一亮。

界面新闻从空客方面了解到,空客从2010年开始,对未来的航空业相继提出“概念飞机”、“概念客舱”、“智慧飞行”系列构想。
概念飞机旨在让人了解,如果飞机的制造技术不断向前发展,到2050年(甚至更早到2030年)时,飞机可能是什么样子。未来概念飞机的主要特点是机翼超长且细薄,发动机采用半嵌入式,尾翼呈U形,采用轻型“智能化”机身,并且具有低燃油消耗、低噪音的特点。在空客对未来飞机的设想中,飞机应该有着采光充足的开放空间,有着大片的空间伸展到空中,让乘客享受天空的美妙。

概念客舱旨在为乘客带来全新的飞行体验,包括仿生学结构、智能化交互界面等。飞机的客舱舱壁可以通过一个按钮就变成全透明,让乘客360°观赏飞机外的世界。目的地的特有图景,或者关于城市上空的鸟瞰都可以通过全息技术投射在墙上。利用仿真投影技术,把乘客在客舱中的私人空间变成自己的卧室或者办公室。
智慧飞行突破了飞机设计本身,将目光指向飞机在地面和空中运营的更高效率,提出了起飞时持续“环保爬升”、“高速航路”上自由及编队飞行等五大理念。
空客方面表示,许多相关技术目前已处于开发阶段。虽然很多技术与构想中的未必一模一样,但会有一些技术在空中客车未来推出的飞机项目中得到体现。



评论