作者:林易恒 编辑:张潇
作为泛娱乐直播阵营的著名App,花椒直播出身衔着360背后巨大的流量。在今年8月份,花椒直播就爆出了计划上市计划加速的消息,据媒体传出2018年底前有望在香港IPO的可能性。
然而,花椒直播目前没有进一步的IPO消息。麻辣娱投(id:malayutou001)记者在多个平台发现,花椒直播的用户数据有所下滑。同时,已经上市的YY、映客、陌陌等涉及泛娱乐直播的企业在资本寒冬中股价都遭遇大跌,其中映客作为今年登陆香港资本市场的企业已经跌破了发行价。
在双重压力下,花椒直播是否能如愿实现IPO呢?

1
数据下滑,流量到顶,花椒直播面临难题
随着抖音等短视频平台的火爆,娱乐直播平台的流量去年就已经到达顶峰,2018年度被短视频分流严重。
《中国互联网络发展状况统计报告》显示,截至2018年6月,综合各个热门短视频应用的用户规模达5.94亿,占整体网民规模的74.1%。但直播却呈现下滑趋势。截至2018年6月,网络直播用户规模达到4.25亿,较去年年末仅微增294万,用户使用率为53%,较2017年末下降1.7个百分点,游戏、真人秀、演唱会用户使用率均呈下降趋势。
《中国互联网络发展状况统计报告》认为,之所以出现这样的状况,一方面是短视频应用分流了部分网络直播用户;另一方面,是行业进入市场结构调整和业务重塑时期,发展趋于稳定。

麻辣娱投(id:malayutou001)记者通过艾瑞网发现,花椒直播在用户数据上整体呈现下滑起伏的状态。
艾瑞网数据显示,花椒直播月度活跃独立设备数今年1月为1115万台、2月1007万台、3月836万台、4月767万台、5月756万台、6月883万台、7月885万台、8月733万台、9月755万台。

同时,艾瑞网网络直播排行榜显示,花椒直播排名在陌陌、YY、映客、一直播之后,其9月份月度独立设备数仅为映客的一半左右。

在七麦数据网站,麻辣娱投(id:malayutou001)记者发现,花椒直播在苹果和安卓平台一年来下载量在今年1月至2月间达到高峰后,大幅下滑后一直平稳,未能再度有较大幅度上升。

根据易观2017年第三季度中国移动直播市场报告,2017年第三季度时花椒直播和映客在全网用户渗透率上不相上下,但目前花椒已经被映客拉开很大的距离。

今年5月28日,花椒正式对外宣布推出PC端 “猫啵”直播产品。
据花椒官方介绍,“猫啵”目前已吸引了直播行业中包括姿瓣、热度、华星、冰点、MJ等在内的数十家知名公会入驻。而花椒一姐徐若汐,来疯大主播兵子、裤衩、韩冷先生,奇秀大主播吴所谓和陌路,红豆等主播也纷纷成为了“猫啵”的头部大主播。“猫啵”直播凭借平台的资源和流量优势,已经成为了众多家族公会和头部主播开辟新天地的阵地。
猫啵相关负责人对媒体表示,猫啵上线得到花椒平台资源倾斜大力扶持,加上头部公会和主播的接连入驻,“猫啵”直播将会充分挖掘PC端直播的流量和变现红利,移动和PC双端共同发力 , 推动整个直播行业的发展。
但麻辣娱投(id:malayutou001)记者今天查询了“猫啵”网站的相关数据,来自国外著名分析网站ALEXA的数据显示,其流量有限。


2
融资与并购连连,谋划上市路途是否顺利?
花椒直播是2015年6月上线的360孵化的手机直播平台。在2016年10月获得了3亿元A轮融资,其中中首建投投资1亿元,奇虎360投资6000万,据称估值15亿元。2017年6月,花椒直播宣布已完成B轮融资,总融资额近10亿元,估值50亿元左右。
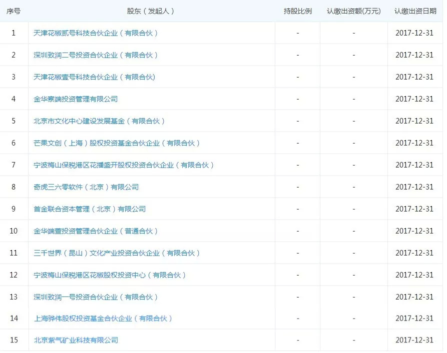
麻辣娱投(id:malayutou001)记者在企查查查询到,2017年12月31日,花椒直播完成了上一轮股权变更。

企查查显示花椒直播目前一共有15家股东方,包括了360的奇虎三六零软件(北京)有限公司以及360关联的旗下数只基金(花椒壹号、花椒贰号、三千世界文化产业投资合伙企业)、芒果文创、北京市文化中心建设发展基金等。
在今年6月27日,A股创业板上市公司宋城股份公告称,旗下全资子公司北京六间房科技有限公司将与北京密境和风科技有限公司(花椒直播运营主体)进行重组,两个品牌保持独立运营。
公告称,本次重组,六间房作价34亿元,花椒作价51亿元,组成新的集团公司。重组完成后,花椒全体股东占重组后主体60%股权,宋城演艺和战略股东合计占重组后主体40%股权。重组后的六间房将不再作为宋城演艺的并表子公司。
六间房与花椒直播重组,奇虎软件将持有重组后集团公司27.10%的股权,以及奇虎软件的一致行动人天津花椒壹号科技合伙企业(有限合伙)、天津花椒贰号科技合伙企业(有限合伙)分别持有重组后集团公司7.98%和3.99%的股权,合计持有重组后集团公司39.07%的股权。同时,奇虎软件还是密境和风的控股股东,目前持有密境和风45.16%股份。
8月29日,宋城演艺发布公告称,为保证六间房与密境和风重组的顺利实施,宋城演艺与交易各方协商一致后,将原有重组方案调整为分批交割。
调整后的重组方案为,2018 年,密境和风现有股东天津花椒壹号科技合伙企业(有限合伙)(以下简称“花椒壹号”)和天津花椒贰号科技合伙企业(有限合伙) (以下简称“花椒贰号”)先行以持有的密境和风的19.96%股权对六间房进行增资,同时六间房取得密境和风19.96%股权,合称首次交割。2019 年,在首次交割完成的基础上以及对六间房2015-2018年承诺业绩实现情况出具专项审核报告后,密境和风除花椒壹号和花椒贰号之外的现有股东以持有的密境和风的80.04%股权对六间房新进行增资,同时六间房取得密境和风80.04%股权。
两次交割完成后,密境和风所有现有股东将合计持有六间房60%的股权,六间房将持有密境和风100%的股权。
六间房和花椒直播的重组中,花椒直播估值为51亿元,与2017年6月份完成B轮融资时的50亿元基本持平,而重组后的主体总估值为85亿元,这一点很值得关注。
已经在香港上市的映客是花椒直播的参照对象。

映客于今年7月13日正式开始公开交易,其最高点是5.48港元,最高市值为112亿港元,而今天麻辣娱投(id:malayutou001)记者查询时市值仅为49.46亿港元。
8月27日,映客发布了2018年上半年财报,财报显示,截至2018年6月30日,映客整体营收22.81亿元,同比增长17.9%;经调整后纯利润4.09亿元,同比增长21.8%。

根据2017年6月份天鸽互动投资花椒直播时透露的信息,花椒直播的月流水已达 3 亿元人民币,据此可估算2017年度收入大约在30亿元以内。
宋城股份的公告显示,截至2018年3月,六间房累计注册用户约为6100万,签约表演者人数为285000名。2015、2016、2017年六间房分别实现扣除非经常性损益的净利润约为1.62亿元、2.30亿元、2.85亿元。宋城股份2018年半年报显示,六间房1-6月份收入为61976万元,净利润为18852万元。
而同样来自宋城股份的公告显示,截至2018年3月,花椒直播累计注册用户约为1.4亿。截止2017年,密境和风资产合计7.41亿元,合并营收24.19亿元,2017年净亏损达到1.4亿元。
据上述情况分析,六间房和花椒直播合并后的总营收应在40亿元左右,这个体量与映客基本相当。那么花椒直播上市,投资人必将其估值与映客的市值进行比较。
拿85亿元的重组估值到香港IPO,恐怕很难获得投资人的认同。
从这样的分析来看,花椒直播上市之路可能会并不容易。


评论