作者/刘佳宇
编辑/张 潇
审核/刘乐乐
我们每天在写字楼、住宅楼乘坐的电梯,正在上演着一场激烈火热的商战大戏,这场商战的主角是分众传媒和新潮传媒,但背后却是阿里巴巴和百度两个互联网巨头间抢夺线下流量红利的角斗。
11月8日,新潮传媒传出近期获得一轮15亿元融资的消息,该轮融资中百度以12亿元战略投资新潮传媒。新潮传媒创始人张继学对外宣称,新潮传媒F轮融资已结束,历史总融资金额超过60亿元。
而电梯媒体市场的老大分众传媒,早早地在7 月 18 日,迎接了阿里巴巴集团及其关联方约 150 亿人民币的战略投资。
如今,我们每个人都成为这场阿里和百度角斗大戏的旁观者和亲历者,在每日乘坐的狭小的电梯空间里,观看精彩的商战剧目。
阿里巴巴和百度为何都加入了电梯空间媒体的争夺,这场大战对互联网产业意味着什么?对文娱行业又会带来哪些影响呢?
1、四年超过分众,新潮传媒的传奇如何上演?
新潮传媒于2007年成立于成都,正式开始电梯媒体的转型则是在2014年,之后的发展速度就像火箭一般,截至2018年10月,已覆盖全国100个城市,65万部电梯,每天覆盖2亿社区人群。

如今,新潮传媒号称在电梯资源数量上已经超越了分众传媒。
作为一家从四川发展起来的电梯媒体公司,新潮传媒的发展轨迹与行业老大的分众传媒发展轨迹完全不同。
分众传媒2003年5月成立于上海,一个月后国际著名投资机构SOFT BANK和UCI维众投资就宣布对分众传媒投入巨资,推动分众的中国商业楼宇联播网的建设与运营。
而新潮传媒则是从西南部的四川成都起步,先抢占了二三四线城市的市场,2017年之后才开始进入到一线城市与分众正面对抗。如今新潮传媒已经进入到了北京、上海、广州、深圳、天津、重庆、苏州、成都等一线城市。
分众传媒至今已经15岁,而新潮传媒只有不到5岁。
但新潮传媒的发展速度却像火箭一般,这背后有着优秀的创始人和众多投资人、上市公司的资本推动。

新潮传媒的核心创始人包括创业20年的传媒老兵张继学、二三四五网络创始人庞升东和力美DSP平台创始人舒义,这三位创始人都有着极强的行业客户资源和投资界人脉资源。
实际上,新潮传媒快速扩张却是得益于创始人的强大人脉资源。
新潮传媒吸引到的著名企业家和VC投资机构是一个长长的名单,包括了顾家家居董事长顾江生、恺英网络创始人王悦、天神娱乐创始人朱晔、力美科技创始人舒义、快的打车创始人陈伟星、新潮传媒创始人张继学,以及欧普照明、红星美凯龙、泛城资管、源码资本、元璟资本、杭州金投。

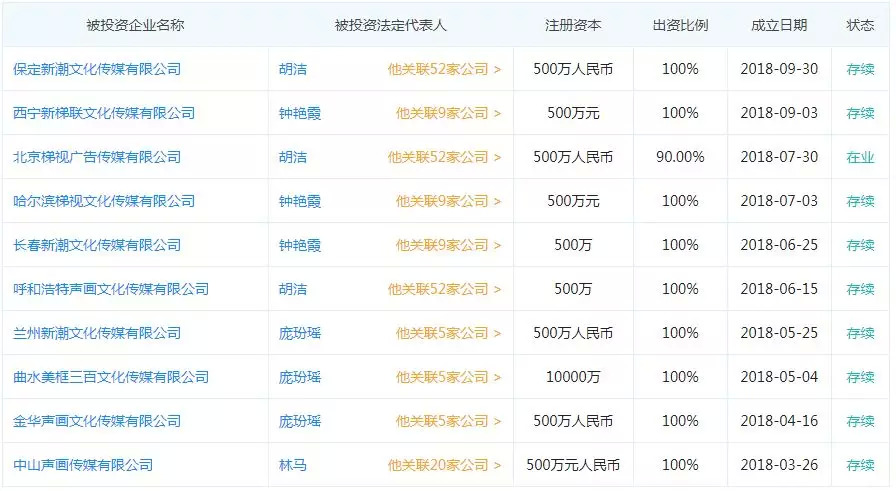
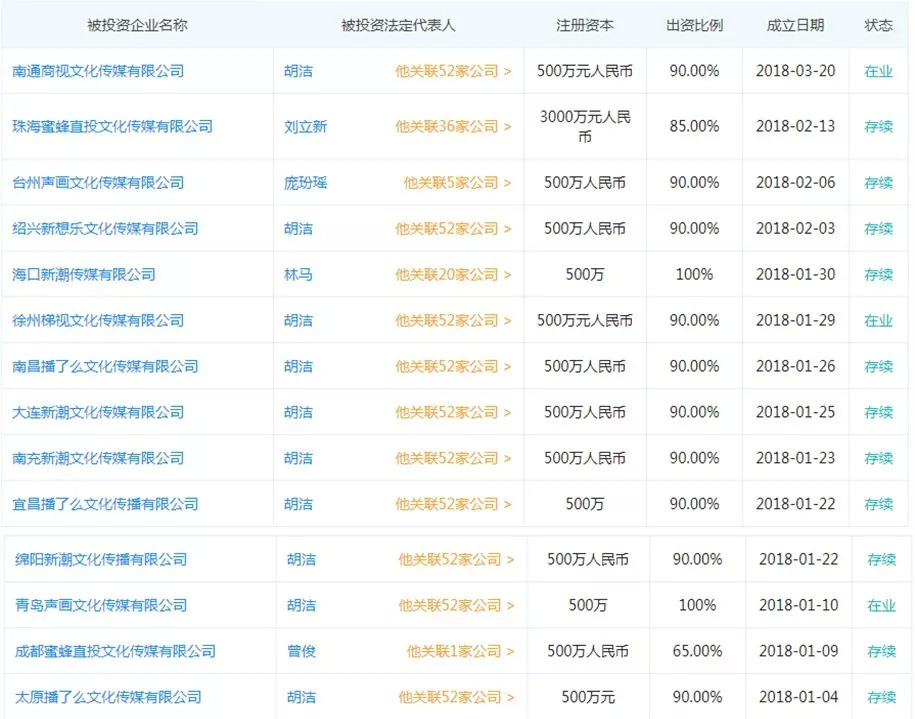
麻辣娱投(id:malayutou001)记者在企查查发现,一共有14家非自然人的投资机构是新潮传媒的股东。

新潮传媒在2018年初曾经传出资金链近乎断裂,但从目前来看,2018年反而是其加速跑马圈地的一年。
麻辣娱投(id:malayutou001)记者在企查查发现,新潮传媒在2018年年初到现在,在全国设立了25家控股子公司,速度仍然飞快。


新潮传媒号称要成为“中产家庭消费第一媒体平台”,而在另另一边,其挑战对象分众传媒拥有的300万广告媒体终端相比还差距甚大,在收入规模上差距就更大了。
据媒体报道,新潮传媒2017年度收入规模在2亿元左右,今年营收目标是10亿元。
而今年前三季度,分众传媒实现营业收入108.77亿元,同比增长24.59%;归属于母公司股东的净利润为48.1亿元。预计分众全年营业收入有望达到150亿元。
显然,新潮传媒作为后来者,面对分众传媒这样的行业霸主,别说追赶不易,就是想好好地活下去都是不容易的。
实际上,新潮传媒向分众发起挑战,核心的法宝是其推出的广告补贴模式,再加上用不计成本的互联网烧钱模式。
今年4月份,新潮传媒公开高调“约架”分众传媒,宣称要全面争夺后者亿元级客户,并采用广告补贴的形式、打出“效果和分众一样,价格是分众一半”、“分众的大客户来新潮,马上赠送1000万广告资源”等等的口号抢占头部客户。
据媒体分析,按照新潮传媒的互联网打法,现在每月基本上以负2亿的现金流在消耗,而百度这轮领投的融资有望支撑其近一年的资金需求。
面对新潮的挑战,分众也加强了在媒体资源方面的拓展,封杀新潮传媒的市场机会。
分众在停止高速扩张几年之后,2018开始重新大肆扩张,深挖一二线,开拓三四线,到7月底的广告点位数比去年增长50%以上。按江南春的说法:“在线下流量重估的背景下,公司有必要快速结束电梯场景的流量战场,不给其他公司任何机会,进一步加深已经很深的护城河。”
一方是后起之秀从三四线到一二线抢地盘,另一方那个则是从一二线到三四线建根据地,这场电梯媒体大战真的是精彩无比。
2、阿里和百度纷纷入局,线上线下能成为闭环吗?
在百度战略投资新潮传媒之前,阿里巴巴已经看到了电梯媒体作为线下流量入口的价值。
今年7月份,阿里网络拟协议以9.92元/股的价格受让分众传媒7.74亿股,占公司总股本5.28%,其关联方拟间接受让分众传媒3.98亿股,占其总股本2.71%。成交对价合计超过100亿元。并且,阿里网络协议入股后不久,则迅速与分众传媒在广告投入系统、人脸识别技术应用及OTT智能电视广告等领域展开合作,协议三年内合作金额不超过50亿元,共同探索新零售大趋势下数字营销的模式创新。
今年的“双十一”,人们乘坐电梯时惊奇地发现了阿里巴巴推出的“电梯红包”。

从10月15日到11月11日,阿里巴巴推出了天猫搜索框搜索“电梯红包”进入活动页面可有机会领取0.5-1111元现金红包,而在分众传媒的电梯媒体资源里可以看到“电梯红包”的广告,打开手机天猫APP摇一摇就可以进入领域红包的页面。
这可以看作是阿里巴巴在战略投资分众传媒后双方在OTT智能电视广告和线下流量与线上营销一体化战略的首次演出。
可以想象,未来阿里巴巴旗下的电商平台和分众传媒的楼宇电梯广告资源之间还可以碰出很多火花,一些新型的营销玩法还会被开发出来。在这背后的,是阿里拥有的庞大的品牌电商广告主资源,这种合作将为天猫、淘宝里面的大电商品牌主提供一个线上线下的闭环营销体系。
之前,互联网大数据积累下的用户信息只知道用户的身份和消费习惯,但并不知道用户的具体位置和更深层次的消费原因,借助于线下营销场景,则在带来线下流量的同时,也丰富了用户数据,可以更好地开展精准营销。
比如,一部电梯里面的乘坐者通过电梯广告登陆到电商平台的销售数据,可以反过来为电梯广告投放提供依据,从而增强对消费者的营销精准度。
互联网的人口红利即将见顶,线上的流量费用高居不下,相比之下,电梯媒体正成为快速崛起的线下黄金媒介,拥有稳定流量和多元场景,在5G和物联网等新一轮技术的带动下,蕴藏着巨大的流量价值与商业潜力。随着线下媒体迎来技术大变革,线下流量朝数字化、流量化发展,线下设备有强LBS属性,与线上LBS技术强相关,更容易产生连接点。因此,未来线下也会像线上一样成为超级平台。
第三方市场研究机构数字一百指出,消费者对于电梯广告媒体的接触率增幅位列第二,仅次于网络视频和APP广告;同时电梯广告在促进广告销售效果方面位列第一,尤其在二三线城市、中产人群的消费者中,电梯广告的渗透率增长最为明显。
数据显示,广告市场在2015、2016年连续两年下降之后,2017年企稳回升同比增长4%。而这其中,生活圈媒体电梯电视、电梯海报、影院视频分别增长20.4%、18.8%、25.5%,增速领跑全媒体,远高于互联网广告的12.4%增速。

百度本次战略投资新潮传媒,同样意在深远。
刚刚结束不久的2018百度世界大会商业生态论坛上,百度本地业务总经理傅海波指出了AI时代线下“新场景”的营销洞察并发布百度聚屏“航母计划”,依托百度AI营销能力及Omni Marketing全意识营销平台赋能线下屏幕,为广告主构建新场景下的营销解决通路。

傅海波表示,线下场景正在占据用户的大量时间,日均占用用户时常达到682分钟,数字化户外广告消费呈现出高速增长态势。线上流量增速放缓,线下场景正在爆发出巨大潜力,数字户外广告已经成为广告主的新宠。
百度聚屏是百度基于人工智能技术驱动的线上线下一体化场景营销服务模式。百度聚屏打通OTT、户外广告屏、手机屏、智能音箱屏等线上线下的不同场景,捕捉用户碎片化时间,能够精准覆盖消费者全场景触点,为广告主提供了线下场景营销的全新流量与玩法。官方发布的数据显示,目前百度聚屏已经接入31个省份的100万块屏幕,触达人群达到3亿人,未来还将在更加多元化的场景中深度渗透。
会上,百度本地业务总经理傅海波发布了百度聚屏“航母计划”。据介绍,“航母计划”借助AI营销大脑以及Omni Marketing全意识营销数字平台,能够对海量数据进行分析,精准识别用户行为意图,帮助广告主在线下营销场景有效对接用户,并完成数据分析、用户定位、策略优化、广告投放、效果追踪等一站式营销,实现全时、全地、全事件的精准营销,打通全域人群定向,让品牌信息潜移默化融入消费者内心。
百度的计划恰好与新潮传媒的发展方向非常一致。
2018年,新潮传媒投资力美科技旗下“小区通”业务,布局线上线下联动投放;另外,还分别与华为、中国移动、信大捷安签署战略合作协议,共建“安全、智能、精准”的中国生活圈物联网流量实验室。
新潮传媒2018年发布了基于大规模自有媒体资源开发的线下程序化交易系统——蜜蜂智能投放系统(BITS)。新潮传媒抢先布局线下媒体数字化,配合全国首家线下媒体程序化交易平台,能够支持定价/竞价,预算灵活分配,线上智能选点、在线投放、精准覆盖目标人群、全透明实时监播的精准投放。
据其对外发布的消息,新潮传媒将对旗下100个城市的近65万部电梯电视终端实现程序化投放,为广告主提供线上+线下场景定位的智能营销服务,实现广告投放的数据化、流量本地化、场景精细化。
显然,百度和新潮传媒走到一起,是基于百度的线上和新潮的线下。
麻辣娱投(id:malyutou001)记者认为,线下流量改变着中国互联网产业,而互联网科技改变着线下的营销模式,最终交汇在一起创造出一个智能营销的新时代。
智能营销也将应用在文娱产品的营销上,电影、网剧、演出、图书等产品都可以通过电梯广告引流到线上票务平台、电商平台和视频网站,打造出全新的营销模式。
(麻辣娱投原创文章,未经授权不得转载)


评论