文| 六玛股权
世界首富,亚马逊创始人贝佐斯宣布与妻子麦克肯齐离婚,很多文章炒作660亿的分手费,以及对亚马逊控制权的影响。
可看他们的离婚宣言,比很多人的结婚宣言还是要感人哦。
贝佐斯在Twitter说:经过长时间的爱探索和试着分居,我们现已决定离婚,将来还是朋友。我们能够找到彼此,令我们感到非常幸运;我们也深深地感恩两人共同走过的25年中的每一年。哪怕我们早已知道今天的结局,我们仍不后悔当初的决定。
这么有爱的离婚宣言,他们对于财产和公司控制权的处理早就谈好了吧?何需为他们操心呢?
不如来看看国内的13家公司,实际控制人离婚分股权后对公司控制权的处理吧。
一、提前安排,不受离婚分股权影响
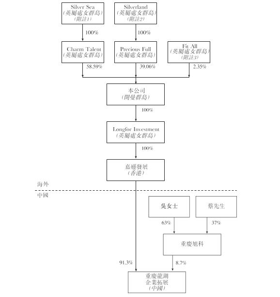
有的公司,实际控制人夫妻两人一直作为单独的个体持股,离婚时各自名下的股份归各自所有,不需要分割,比如龙湖地产和一心堂。
1.1龙湖地产, 离婚后各自信托不变
龙湖地产,由吴亚军和前夫蔡奎创办,创立时的股东还包括吴亚军的妈妈。
龙湖地产于2009年11月在香港上市。
论规模,龙湖地产虽然不是地产业第一梯队;但论企业品质,龙湖应该是第一梯队的。
地产是密集型行业,融资非常重要,不是高科技企业的股权融资,是通过金融机构等的债权融资。而龙湖的融资利率经常低于地球前一二大房企,这是金融机构对龙湖企业品质的认可和信赖吧。
2012年11月,媒体曝出吴亚军和丈夫蔡奎已于2012年8月初离婚。
两人离婚不涉及分股权,也不需要公告,所以媒体在几个月后才曝出两人离婚,还说吴亚军被前夫分走了200亿港元……
其实,两人的股权一直都是单独登记的,离婚时并不需要分割。
早在重庆龙湖创立时,两人就是分别作为实名股东持股的,当时吴亚军持股58%,蔡奎持股37%。
在龙湖上市前的2008年6月,吴亚军和蔡奎就在境外成立了吴氏家族信托和蔡氏家族信托,两人的股权已转移给信托持有,两人都不再直接或间接持有龙湖的股权。

上市前,吴氏信托拥有58.59%的权益,蔡氏信托拥有39.06%权益。
上市后,两家信托共持股约80%,并由汇丰国际信托作为两个信托的受托人,而吴亚军和蔡奎作为信托的监管人。
两人离婚后,各自的股份仍分别由两家信托持有,不需要做任何处理。
龙湖发言人表示,吴亚军与蔡奎已经就未来“继续保持一致行动,维护公司权益”达成了共识。
所以,夫妻离婚的股权分割,并未对龙湖地产的控制权有影响。
不清楚两人是否签过婚前财产协议,或者是否在婚前一起创办公司,结婚后保持各自份额的股权?
关于龙湖和吴亚军,竹子曾写过一篇文章
吴亚军一直是龙湖的董事长和掌门人,而蔡奎多年前已不在龙湖任职。
如此大格局和大胸怀的女掌门人,想找到可仰慕的男人不容易吧?所以离婚也很正常?
1.2一心堂,离婚后各自持股不变
一心堂的实际控制人阮鸿献和刘琼夫妻两人一起创立公司,在公司创立的早期,两人就是作为实名股东登记的,当时阮鸿献持股60%,刘琼持股40%。
公司在2014年6月上市。
2017年1月,公司发公告称,阮鸿献和刘琼夫妻两人已离婚并进行股票分割。
离婚前,阮鸿献持股33.75%,刘琼持股18.37%,两人共持股52.12%,两人是公司的共同实际控制人。
离婚后,各自持有的股份归各自所有,两人的持股比例都不变。
媒体报道说,刘琼分到18.37%的股份,按当时股价计算约为20亿元。
离婚进行股票分割后,阮鸿献是持股33.75%的第一大股东,任公司董事长、法定代表人,公司的实际控制人由夫妻两人变成阮鸿献一人。
而刘琼,从2010年12月至今一直任一心堂的董事。
二、离婚分财不分权
在有的公司,实际控制人离婚后,虽然进行股票分割,但仍将投票权交给原实际控制人行使,不因离婚的财产分割而影响公司控制权。
能在离婚后给出这样的委托投票,是基于对前任人品的信任吧。
2.1金科股份,离婚后各自股份不变,签一致行动+委托投票
金科股份的实际控制人离婚后,两人的持股比例保持不变,但对控制权做了绑定。
2017年3月,金科股份发布公告称,公司实际控制人黄红云和前妻陶虹遐已办理离婚手续。
离婚前,夫妻两人各自作为公司的实名股东进行登记,其中:
黄红云直接持股9.55%,陶虹遐直接持股2.49%;
黄红云、陶虹遐共通过重庆市金科投资控股(集团)有限责任公司持股14.20%,其中黄红云持有金科控股51%股权,陶虹遐持有金科控股49%股权。
离婚后,各自名下的股权归各自所有,不需要做变更或调整。
同时,两人签署一致行动协议,约定:
在股东大会、董事会表决等事项保持一致行动。
陶虹遐同意将自己的股东表决权、提案权委托给黄红云行使。
这样操作后,黄红云虽只持股16.6%,但控制26.24%的投票权,其控制权不受离婚分股权的影响。
但后来融创多次增持金科股份,至2018年10月25日,融创共持股27.6783%。
而此时,黄红云实际控制的投票权为27.6781%,已经低于融创的持股比例。
但公告说,公司实际控制人未发生变动,仍为黄红云。金科股份好象在上演控制权争夺战,下次有时间再专门研究此问题吧。
2.2麦迪科技,离婚分股权后,签一致行动+委托投票
2017年10月,麦迪科技发公告称,公司实际控制人翁康与其配偶严黄红已协议离婚,并进行了股票分割。
在离婚分割前,翁康直接持股24.3768%,通过苏州麦迪美创投资管理有限公司持股0.0258%,合计共持股24.4026%。
离婚后进行股票分割,翁康将直接持股的一部分分给严黄红,分割后翁康共持股14.8758%,严黄红持股9.5268%。
同时,两人签署一致行动协议,约定:
两人在行使股东权利时保持一致行动。
如严黄红不亲自出席公司股东大会,则委托翁康表决。
严黄红按翁康的意愿进行表决。
协议有效期为五年,且在协议有效期内不可撤销。
这样处理后,虽然两人离婚进行了股票分割,但对翁康控制权不受影响,翁康仍能控制超过24.4%的投票权。
2.3神州泰岳,离婚分股权后委托投票
神州泰岳上市时,公司的控股股东和共同实际控制人是王宁、李力两人,上市后两人各自持股比例都是13.9317%,合计持股比例为27.8634%。
2013年10月,公司实际控制人王宁与前妻安梅通过法院起诉后调解离婚,将原由王宁持股的神州泰岳股票进行对半分。
在股份分割前,王宁持股13.78%;股份分割后,王宁持股6.89%,安梅持股6.89%。
媒体报道说,安梅分到的股票市值将超过14亿元。
股票分割后,王宁不再是神州泰岳第一大股东,但安梅承诺将所取得股票后的表决权委托王宁代为行使,所以王宁的控制权并没因离婚而发生变化,王宁与李力仍为公司的共同实际控制人。
至今王宁仍为公司的董事长,而安梅的减持也不多,至2018年9月底仍持股4.36%。
三、离婚分割后通过合伙企业控制
昆仑万维,周亚辉通过合伙企业控制前妻持有的股份。
昆仑万维的实际控制人周亚辉,离婚前直接持股35.094%,通过北京盈瑞世纪软件研发中心(有限合伙)盈瑞世纪间接持股16.002%,周亚辉合计持股51.096%;前妻李琼通过盈瑞世纪间接持股1.778%。
2016年9月,两人通过法院起诉后调解离婚,对昆仑万维的股份进行对半分。
媒体说,李琼获得的股份价值约70亿元,堪称国内最贵分手费。
在离婚前周亚辉的持股包括直接持股和通过合伙企业持股两部分,虽然是对半分股权,但也可选择分哪部分哦。
周亚辉选择分出更多的直接持股,保留更多的通过合伙企业持股的部分。
股票分割完成后,周亚辉直接持股16.6944%,通过盈瑞世纪间接持股9.7435%,周亚辉合计持股26.4379%。
李琼直接持股18.3996%,通过盈瑞世纪间接持股8.0366%,李琼合计持股26.4361%。
两人的最终股份比例一样;但是,周亚辉作为盈瑞世纪的普通合伙人间接控制合伙企业持有昆仑万维的全部股份(含李琼的部分)。
所以,周亚辉合计共控制34.4745%,离婚后仍为公司的实际控制人。
四、离婚后联合他人绑定控制权
前面说了,离婚分了股权后,前任还同意委托投票,应该是对实际控制人的人品有信任的吧?
如果拿不到前任的委托,也可以拿其他股东的委托以增加控制权?
4.1梦洁股份,与他人的委托投票
2017年1月,梦洁股份发公告说,公司实际控制人姜天武与配偶伍静协议离婚,原登记在姜天武名下的37.34%股份对半后,伍静分得18.67%,媒体报道说价值超过10亿元。
股份分割后,伍静和她的姐妹伍伟(持股1.09%)成为一致行动人,合计持股19.76%,超越姜天武持股18.67%。
为保护姜天武的控制权,离婚分股权的同时进行以下操作:
1. 协议约定,姜天武对伍静分得的股份有优先受让权。
2. 姜天武与持股5%以上的4位股东:李建伟、李菁、李军、张爱纯签订《表决权委托协议》,4人将各自持股中的37%或40%股票表决权委托给姜天武行使,委托期限为3年。
这样操作后,姜天武直接持股18.67%,加上委托投票部分合计共拥有29.36%的表决权。
姜天武仍为公司单一表决权比例最大的股东,为公司实际控制人。
在2017年12月,前妻伍静按约定将部分股票转让给姜天武,姜天武能控制的投票权比例达到30.85%。
此比例超过了30%的上市公司要约收购线,按规定如继续进行增持,除经证监会审批同意豁免外,需要向所有股东发出收购要约。
就在姜天武能控制的投票权超过30%的不到1个月内,2018年1月,梦洁股份向特定投资者非公开发行股票,导致姜天武控制的表决权比例从30.85%降低至27.77%,离开30%的要约收购线。
4.2纳川股份,与他人绑定投票权
纳川股份的实际控制人陈志江,离婚前持股32.29%。
2013年8月,公司发公告称陈志江夫妻两人已协议离婚,对持有公司的股票进行对半分割,其中,陈志江分得16.147%,张晓樱分得16.147%。报道说,张晓樱分得的股份市值5.47亿元。
这样分割后,两人同为第一大股东,公司暂无实际控制人。
当时陈志江为并列第一大股东、董事长、法定代表人,持股16.146%
刘荣旋持股6.524%,为副董事长、总经理;刘荣旋父亲刘炳辉持股5.69%(后转给刘荣旋之子刘炜),委托刘荣旋行使股东权利;所以刘荣旋有12.214%的投票权。
为保护对公司的控制权,陈志江和刘荣旋签订《一致行动协议》,约定:
两人在行使股东权利时保持一致行动。
当两人无法达到一致意见时,以持股多的一方意见为准。
一致行动期限为36个月。
这样约定后,两人合计控制28.362%的投票权,陈志江和刘荣旋两人为公司的实际控制人。
2016年,通过定向增发后,陈志江的持股比例达到25.96%,两人合计控制的投票权比例达到36.88%,超过持股30%的要约收购线。
由于陈志江增持的股份是通过审核后的定向增发而来,纳川股份的律师发表意见说,陈志江的认购符合可免于提交豁免要约收购申请的条件。
至2016年9月13日,陈志江和刘荣旋两人的一致行动协议到期,两人解除一致行动关系,不再续签,公司实际控制人由陈志江、刘荣旋两人变更为陈志江一人,也不再踩到30%的要约收购线。
五、离婚后保持与他人的一致行动
有些公司,在上市前创始人、联合创始人间已签订一致行动协议,共同绑定以增加控制权。
虽然创始人离婚后分出一部分股份,但由于签一致行动协议的联合创始人总持股比例仍较高,离婚分股权对公司控制权的影响较弱。
5.1芬尼科技
芬尼科技上新三板时,创始人宗毅持股26.97%,张利持股25.32%,两人为一致行动人和实际控制人。
2016年6月,宗毅因离婚与前妻分股权,将间接持股的3.61%和直接持股的10.51%股份分割给前妻,自己剩下16.82%的股份。
2017年1月经定向增发后,宗毅的持股增加至20.47%。
宗毅与张利保持一致行动,合计控制超过40%的投票权,离婚分股权不影响公司控制权。
5.2金溢科技
2018年1月,金溢科技公告说,董事长兼总经理罗瑞发与王丽娟协议离婚,对公司股票进行分割。
分割前,罗瑞发直接持股11.21%,通过深圳市敏行电子有限公司间接持股18.83%。
分割后,罗瑞发直接和间接持股为24.43%,王丽娟直接持股5.6%。
报道说,王丽娟分得的股票当时市值约2亿元。
而早在2014年2月,罗瑞发就与刘咏平、杨成、王明宽、李娜、李朝莉5人签署一致行动协议,约定六人在公司的董事会会议、股东大会会议中一致行使投票权。
离婚进行股票分割后,罗瑞发等6人共同控制的投票权为51.1%,公司实际控制人没发生变化。
六、家族持股稳定控制权
6.1华测检测,父子一致行动
华测检测的实际控制人万峰,离婚前持股11.87%;万峰的父亲万里鹏持股13.81%。
父子两人为一致行动人,共控制25.68%的投票权。
2017年6月公司公告称,万峰与前妻离婚,对股票进行不平均的分割。
离婚分割后,万峰持股持股7.22%,仍为公司第二大股东;于翠萍持股4.66%。
媒体报道说,翠萍获得的“分手费”约为3.67亿元。
离婚分割后,万峰和万里鹏父子两人为公司的第一、第二大股东,合计持股21.02%,为公司控股股东、实际控制人,没有因离婚导致公司实际控制人变化。
到2017年9月,万里鹏(万峰父亲)将所持股票转让人万云翔(万峰儿子),股票在子孙间流转,实际控制人没变化。
2018年6月,万峰辞去总裁职务,继续担任董事长、董事会薪酬与考核委员会委员职务。
聘任申屠献忠担任公司总裁,万云翔未任高管,不知道是不是家族管理向职业经理人的转变呢?
6.2恒星科技,分小股份不影响控制权
2018年1月,恒星科技发公告称,董事长谢保军与其配偶焦会芬解除婚姻关系,对股票进行分割。
在进行离婚财产分割后,谢保军持股21.16%,仍为第一大股东和实际控制人。
焦会芬的持股比例将从0%上升至7.96%,跃升至第二大股东,报道称这笔分手费股份市值约5亿元。
现在谢保军已经卸任董事长一职,改为谢保军之子谢晓博任董事长。
谢保军之兄弟谢保万任公司董事、副总经理。
七、创始人净身出户型
很多夫妻离婚后,因分股权、分财产纷争不断,而龙辰科技前董事长离婚,将全部股权都给了前妻,潘旭祥被称为净身出户的中国好前夫。
不清楚他们是否还有其他财产补偿,如果没有的话,能这么做的男人很有魄力和自信吧?
至2017年5月1日,龙辰科技潘旭祥任董事长持股76.22%,前妻林美云持股2.19%,任总经理。
2017年5月,董事长潘旭祥与前妻林美云签订《离婚协议》,潘旭祥将全部股份转让给林美云,转让后林美云持股比例由2.19%增持到78.41%,潘旭祥不再持有公司的任何股份,林美云成为公司控股股东、实际控制人。
上面的案例都是上市或上市三板的股份有限公司的例子,如果是有限责任公司,由于公司法的规定不一样,则离婚分股权的影响有不同。
1. 如果没有约定,婚姻期间取得的股权为夫妻共同财产。
2. 有限责任公司股东的配偶如果要求分割股权成为公司股东的,如公司章程没有另外规定,须经过过半数股东同意、且其他股东还须表示放弃优先购买权。否则就算前任同意分股权,也可能成不了股东哦。
3. 对于在乎控制权的创始人,可在公司章程或协议对各方股东配偶成为股东进行限制或约定特别的条件。
婚姻法解释二第16条规定:
人民法院审理离婚案件,涉及分割夫妻共同财产中以一方名义在有限责任公司的出资额,另一方不是该公司股东的,按以下情形分别处理:
(一)夫妻双方协商一致将出资额部分或者全部转让给该股东的配偶,过半数股东同意、其他股东明确表示放弃优先购买权的,该股东的配偶可以成为该公司股东;
(二)夫妻双方就出资额转让份额和转让价格等事项协商一致后,过半数股东不同意转让,但愿意以同等价格购买该出资额的,人民法院可以对转让出资所得财产进行分割。过半数股东不同意转让,也不愿意以同等价格购买该出资额的,视为其同意转让,该股东的配偶可以成为该公司股东。
离婚分股权的处理,关系到感情、生活、事业、金钱、权力、法律,不同的态度,也许会采用不同的处理方法吧。
竹子以为:
努力工作是为了更好的享受生活。
感情、婚姻是生活幸福的重要因素。
法律也许能分开清钱和责任,但解决不了感情问题。
世上很难有完美的方式,当金钱、权力与感情冲突时,如果在乎感情就舍弃多一些金钱或权力;当钱和权力冲突时,如果在乎权力就多舍弃一点金钱。取舍得当,也许就解决了。


评论