文 | 全天候科技 杨泳洁
3月27日晚,一则关于团贷网总部被经侦封锁的消息在多个微信群疯传。
3月28日上午,东莞市公安局官方通报,团贷网实控人唐军、张林投案自首,警方以涉嫌非法吸收公众存款立案侦查。同时,警方在通报中呼吁团贷网投资人报案登记。
目前,公安部非法集资案件登记平台已开通“团贷网案件窗口”,登记期限显示为2019年3月28日至2019年9月27日。
3月27日晚间,根据微信群疯传的短视频显示,大量特警出现在团贷网总部所在的东莞众创金融街。就此,每日经济新闻记者以投资人身份联系团贷网官网客服,客服回应称:是(团贷网总部所在)金融街整栋例行检查,目前平台正常运营中。而此时拨打唐军电话,已无人接听。
据团贷网官网显示,截至2019年2月28日,团贷网历史累计成交量达1307.70亿,借贷余额超145亿,待偿金额118.9亿。当前出借人数达22.2万人,借款人数达37.2万人。

在第三方评级网站网贷天眼上,团贷网评级为A级,借贷余额排名为十四名,属于P2P行业内影响力较大平台,因此,在此次“爆雷”后引发业界广泛关注。
1
大客户群统计损失已达5000万
刘勋是一名团贷网的出借人,两年前在某互金自媒体公众号的推广下“上了车”,随后发现团贷网收益确实不错,至今一直坚持投入,甚至为了享有各种福利还分了多个账号同时投资。
3月27日临睡前,刘勋习惯性地浏览几个互金微信群,猛然发现一段关于经侦封锁东莞团贷网总部的短视频。他联想起前几天团贷网刚刚召开了一场大户(大额出借人)会议,会上,唐军明确表示公司会压缩P2P业务,要转型线下。刘勋顿时觉得心里很不踏实,马上把自己手上的所有债权共计三十余万元进行了转让,在亏损几千元的利息后,转让很快成功,他又马上申请了提现。按照刘勋的打算,3月28日他就可以提现成功。
然而,一觉醒来,他等到的是团贷网被立案的消息,而他的账户也已经被冻结,提现状态仍显示“审核中”。现在,他只能自我安慰——起码资金已经在自己的存管银行账户中。根据此前他踩雷另外一家P2P平台牛板金的经验,如果已经在账户里的钱或许隔几天就允许被提现。
相比之下,家在山西小城的年轻妈妈时棋则没这么“幸运”,由于去年直接投了一整年,时棋在团贷网的11万元要到今年五月份才到期。目前除了报案和等待,她没有任何办法。
而此时,团贷网的遭遇让她也对在其他平台投资的钱表示担心,生怕受到波及。“我现在完全不相信P2P了,这些钱加起来够买套房子的首付了。”时棋欲哭无泪。
而刘勋和时棋都不算团贷网的大户,据刘勋透露,团贷网有一个大户群,群内前期已经曝出亏了5000万元左右,目前统计还未结束。
2
爆雷背后的迷局
团贷网立案之后,其关联的上市公司派生科技也在今晨紧急停牌。

随后派生科技发布公告称,公司的实际控制人唐军(未在公司担任职务)、董事长兼总经理张林、董事余军、副总经理兼董事会秘书晋海曼,因涉嫌非法吸收公众存款被公安机关采取强制措施,现案件正在调查过程中。
公告同时表示:目前,公司日常生产经营运作正常,上述事件未对公司的正常生产经营产生影响。公司于2018 年底出售鸿特普惠和鸿特信息两家金融科技信息咨询业务全资子公司后,已经完全剥离了互联网金融相关业务,消除了互联网金融行业未来政策不确定性对公司发展的影响;公司今后将聚焦科技实业,以智能制造、环保制造为发展方向。

值得注意的是,派生科技自3月28日停牌,停牌前两个交易日,3月25日和26日股价大跌,约12亿资金出逃。
自上市以来,派生科技经历过多次更名,2018年5月由“鸿特精密”更名为“鸿特科技”,再于2019年2月更为现名。但这丝毫不影响派生科技“A股最牛庄股”地位。

据中国基金报,派生科技从2015年低点到如今,股价涨幅已经超过10倍。至今日停牌时,派生科技每股股价52.5元,总市值达203.32亿,流通市值为195.53亿元。
虽然股价虽高涨,但股东近期却纷纷质押股权,包含大股东广东硕博投资发展有限公司(以下简称广东硕博)和派生实控人唐军。
3月22日,广东硕博将持有的8339万股质押,质押股数占其所持股份比例的91.42%市值约40.70亿,3月28日又将剩下的783股全部质押; 3月26日唐军将597万股进行质押,市值约3.04亿元,质押股数占其所持股份比例的99.89%。两次的质押方均为中融国际信托有限公司,质押金额合计43.74亿,质押目的均为贷款。
企查查信息显示,唐军是广东硕博投资发展有限公司的实控人。

有行业人士透露称,此次团贷网事件是唐军打算质押所有派生科技股份,然后带40余亿资金出境,然而计划并未成功便被银行拦截,从而导致了这次的收网。
也有行业人士表示上述说法并不可信,因为股权质押涉及金额较大,会有一个较长的放款周期,唐军不可能短期内拿到这么大的金额并带出境外。团贷网此次问题或与资金链断裂有关,祸起派生科技线下“小黄狗”项目。
据百度百科,小黄狗环保科技有限公司成立于2017年,是派生科技集团旗下的全资子公司,主要业务是以有偿方式回收市民的生活垃圾,提高再生资源利用。
企查查显示,唐军为小黄狗董事长。截止到团贷网爆雷前,小黄狗一直处于激进扩张中,截至2018年7月,小黄狗项目已经覆盖北京、上海、广州等城市,目标是覆盖全国。

2018年6月23日,唐军在接受金融界采访时曾表示:我们2019年的目标是铺设30万台,2020年是50万台,整个五年内的时间是100万台。如果我们100万台全部铺设下去,并且运营起来以后,每天的收入是会超过1.5亿,一年的收入是会超过500亿。
小黄狗的快速扩张靠的是全国招商加盟,据其官网介绍,预定回收机即可在3年内与公司分享对半分享利润,但加盟商需要预订其垃圾回收的智能设备,10台起步,每台租金500元/年,押金5万元/台。这意味着每个加盟商至少要预付50万元,而如果他们100万台的计划完全实现,将形成大量的资金沉淀。
浙江一家制造同类设备的设备制造公司向野马财经表示,小黄狗的垃圾回收机制造并不复杂,成本大概在2万-2.5万之间,100万台的目标将形成200亿元左右的设备制造订单。
而设备制造的钱,小黄狗也能赚,因为其投资方上市公司易事特正是环保设备制造商。
理想很丰满,现实很骨感。
据野马财经,一位废品回收从业人员表示,废品回收行业是长链行业,分为前端回收、中端物流清运、后端集中处理三个阶段,智能设备只是做到前端低价回收,只有在中端和后端投入大量资金和人力,才能做到城市废品处理的相关规范。但目前,看不到小黄狗在中后端有任何的优势,也看不到他的盈利模式。
2018年10月26日晚间,上市公司易事特发布公告称,拟以自有资金 1.5 亿元人民币对小黄狗进行增资。
但易事特的增资是有条件的,要求标的公司即小黄狗保证以合理价格向易事特采购智能垃圾分类回收设备,2018 年最低完成不少于1亿元、2019 年最低完成不少于10亿,2020年最低完成不少于9亿,2021 年最低完成不少10亿元。否则就要支付1.5亿元违约金。
而据网贷天下报道,小黄狗环保科技2018年前三季度的营业收入仅为39.77万元,亏损608.96万元。如此的业绩差距,目前来看,小黄狗或要违约了。
某互金从业者集中的微信群中,一位互金公司高层对此评论:“唐军是想做个资本的局,一手环保科技小黄狗,一手上市公司派生科技,中间还有网贷平台作为资金端,可惜,玩砸了。”
3
85后创业精英昔日“荣耀”
而在因非法吸收公众存款立案之前,团贷网也曾是资本市场的宠儿。
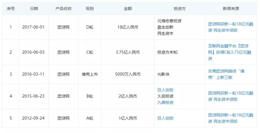
企查查显示,成立于2012年的团贷网迄今已经经历了四次融资,并通过光影侠曲线上市新三板。

2016年3月,知名艺人王宝强宣布担任团贷网首席体验官,并以形象代言人的身份,大力推广团贷网品牌形象。
作为曾经的网贷头部平台,团贷网也曾获得许多奖项。包括2018年5月,广东科技厅发布公示,团贷网入选广东省2017年高新技术企业培育库入库企业(第二批),并获得300万元的奖励补贴。

今年315,团贷网还得到了消费日报“20193.15中国消费者行业影响力品牌”奖。
而团贷网创始人更是85后金融精英典范。根据公开信息显示,唐军和张林两人作为团贷网创始人,同时也是校友,同毕业于北京航空航天大学,均为1987年出生。

唐军的履历十分精彩,曾就读于北航北海学院经济管理学院市场营销专业,未毕业就回到东莞做起金融中介生意,而后创业。
根据百度百科,2012年12月,唐军以213万元的价格拍下了史玉柱的“天价午餐”,并将该款项捐赠中国少年发展基金会与爱佑慈善基金会。此次见面后,唐军也由此进入史玉柱的社交圈。据金融派报道,史玉柱和唐军见面后,对这个年轻小伙印象不错,向唐军引荐了很多人,其中包括当时的民生银行董事长董文标等。
唐军看起来热衷慈善事业,2016年10月,爱佑慈善基金会举办的年度慈善晚宴上,支付宝一天的开屏广告经过三轮举牌,被唐军4100万元拍得。整个慈善晚宴,唐军共捐出5200万元善款支持爱佑慈善基金。
此外,唐军个人还入选2017福布斯中国30位30岁以下精英榜、《2018胡润80后白手起家50强》榜单。
遗憾的是,属于唐军和团贷网的一切的荣光,在今天戛然而止。
(应受访者要求,文中刘勋、时棋为化名)



评论