文 | 股权道
科创板开通至2019年4月2日,已受理37家企业的上市申请,其中包括8家芯片行业公司。
我们最重要的合作方是芯片设计公司,所以竹子决定一并研究科创板的多家芯片企业。可惜时间来不及了,就研究其中的6家吧。
第一家获科创板受理的企业是晶晨半导体,是芯片设计公司,澜起科技、聚辰半导体、晶丰明源也是芯片设计公司;中微半导体是芯片设备公司;和舰芯片是台资的芯片代工厂。
澜起科技2013年在美国上市,2014年退市,后筹备回A股。
晶晨半导体曾考虑在境外上市,后转回国内,聚辰半导体和中微半导体也是吧?
晶丰明源曾申请创业板上市没通过,现在改投科创板。
和舰芯片仍在亏损中,正好赶上科创板开闸吧。
注:本文资料主要来源于上述6家公司的招股书,芯片知识主要来源于和舰芯片的招股书,因为他们家把芯片知识介绍得比较清楚。
一、芯片知识
半导体是许多工业整机设备的核心,普遍应用于计算机、通信、消费电子、汽车、工业/医疗、军事/政府等核心领域。
半导体主要由4个组成部分组成:集成电路,光电器件,分立器件,传感器。
据 WSTS 的数据,2018 年集成电路、光电子器件、分立器件和传感器的全球市场规模分别为 3,933 亿美元、380 亿美元、241 亿美元和 134 亿美元,占 4,688亿美元半导体市场整体规模的比例分别约为84%、8%、5%和3%。
由于集成电路占比高达84%,因此通常将半导体和集成电路等价。
集成电路(Integrated Circuit,IC),通常也称为芯片(Chip),是绝大多数电子设备的核心组成部分,被誉为“工业粮食”。
它不仅在智能手机、电视机、计算机、汽车等电子设备方面得到广泛的应用,在军事、通讯、遥控等方面也不可或缺,对5G、人工智能、物联网、自动驾驶等都是必不可少的基础,只有在集成电路的支持下这些应用才可能得以实现。
根据国际货币基金组织测算,每 1 美元半导体芯片的产值可带动相关电子信息产业 10 美元产值,并带来 100美元的 GDP,这种100倍价值链的放大效应奠定了芯片行业在国民经济中的重要地位。
集成电路产业对经济建设、社会发展和国家安全具有重要的战略地位和核心关键作用,是国民经济中基础性、关键性和战略性的产业,集成电路产业的强弱是国家综合实力强大与否的重要标志。
我们集成电路行业受到国家政策的大力扶持,近年来政府颁布了一系列政策法规,大力扶持集成电路行业的发展。比如,2014 年 6月国务院发布《国家集成电路产业发展推进纲要》,将半导体产业发展提升到国家战略的高度。
因为芯片是鼓励发展行业,不限制外资进来,引入外资不需要搭建VIE架构。
但别人可能限制外资进来,比如台湾地区的芯片代工技术处于领先地位,台湾方面规定到大陆投资之制程技术须落后该公司在台湾之制程技术一个世代以上…
1.1 芯片的市场状况
从应用市场看,半导体应用市场主要包括通信(有线/无线)、计算机(计算类/存储类)、消费电子、工业应用、汽车电子、军工/航天等。
其中最大的两类为通信和计算机,占比分别为 33.6%和 36.2%,两者合计占比 69.8%;消费电子、工业应用和汽车电子三大类应用占比接近,分别为 10%左右。
由于存储器产品的大幅度涨价,计算机领域的集成电路2017 年增速达到 23%;得益于工业智能化水平的不断提高,工业控制领域集成电路市场2017年增长率为22%;网络通信增长也达20%。

根据 WSTS 统计,从 2013年到 2018 年,全球半导体市场规模从 3,056 亿美元迅速提升至 4,688 亿美元,年均复合增长率8.93%。
根据 IC Insights 统计,中国半导体集成电路市场规模从2013年的 820 亿美元扩大至2018年的 1,550 亿美元,年均复合增长率约为 13.58%,远远高于全球的增速。
随着互联网、大数据、云计算、物联网、人工智能、5G 等高新技术产业和战略性新兴产业的进一步发展,中国的半导体器件消费还将持续增加,中国将成为全球半导体最具活力和发展前景的市场。
2018 年我国集成电路自给率仅为 15%,计算机系统中的 MPU、通用电子系统中的 FPGA/EPLD 和 DSP、通信装备中的 Embedded MPU 和 DSP、存储设备中的 DRAM 和 Nand Flash、显示及视频系统中的 Display Driver 等,国产芯片占有率都几乎为零。
从 2015 年起,芯片已连续4年位列我国所有进口商品中的第一位,2018 年进口集成电路 4,175.7 亿块, 同比增长 10.75%;进口金额约合3,120.58亿美元,同比增长19.84%。
2018年中国出口集成电路2,171亿块,同比增长 6.23%;出口金额约合 846.36 亿美元,同比增长 26.56%。
芯片的进出口差额年近 2300 亿美元,进口替代的空间巨大。
注:全球规模3,933 亿美元,可根据上面数据中国进口+出口已占完了?
不知道哪个数据出错了,资料来源于各家公司的招股书,中国的数据据说是来源于海关,全球的数据来源于WSTS 。
1.2 芯片的分类
集成电路按应用领域可分为标准通用集成电路和专用集成电路两大类。
标准通用集成是应用领域比较广泛、标准型的通用电路,如处理器、存储器、数字信号处理器等,具备标准统一、通用性强、量大面广的特征。
专用集成电路是针对特定系统需求设计的集成电路,每种专用集成电路对应一类细分市场。
晶晨半导体、澜起科技、聚辰半导体三家的产品都是专用集成电路?
晶丰明源则有通用集成电路和专用集成电路两类产品。
根据晶体管工作方式分为两大类,数字芯片和模拟芯片,数字芯片主要用于计算机和逻辑控制领域,模拟电路主要用于小信号放大处理领域。
晶晨半导体、澜起科技、聚辰半导体三家都是做数字芯片?
晶丰明源是做模拟芯片?
网上的评论说:做数字芯片的可以速成,数字工程师稍微不注意就被淘汰,做模拟的工程师越老越牛。
集成电路按照产品种类主要分为四大类:微处理器、存储器、逻辑器件、模拟器件。

我们合作的芯片企业是模拟芯片设计公司,算法+芯片的技术团队。
可利用AI技术提升芯片设计效率和产品品质,也许可以改变模拟芯片设计要靠多年积累的局面,助力国内芯片从中低端进入中高端市场哦。
除了技术优势外,还有创始人的理念+方法+人品…在公司还没开始成立时,就已联络技术人才、上下游,考虑股权激励等。
现在已做了一年多的研发,在取得阶段性突破后,准备开始融资。
有兴趣的投资人欢迎联系哦,也欢迎认识投资人的朋友联系,有共20万的推荐奖金。
虽然这公开的文章只能写这么含蓄,但竹子完全相信他们能做出改变格局的事情,特别庆幸遇到这样的创始人合作,不知道错过的投资人会不会象当年错过腾讯一样后悔呢。
二、芯片企业的分类
集成电路产业涵盖设计(Fabless)、制造(Foundry)、封装和测试(Package Testing)等环节。
注:下面内容来源于数字芯片企业的说法,有可能对模拟芯片是不准确的。

设计,是将系统、逻辑与性能的设计要求转化为具体的物理版图,主要包含逻辑设计、电路设计和图形设计等。
制造,一般指晶圆加工,是在制备晶圆材料上构建完整的半导体电路芯片的过程,主要包含薄膜沉积、光刻、刻蚀、离子注入等几大工艺。
封装测试,主要包含减薄切割、贴装互联、封装、测试等过程。
IC 封装是将生产出来的合格晶圆进行切割、焊线、塑封,使芯片电路与外部器件实现电气连接,并为芯片提供机械物理保护的工艺过程。
IC 测试是指利用集成电路设计企业提供的测试工具,对封装完毕的芯片进行功能和性能测试,测试合格后,即形成可供整机产品使用的芯片产品。
芯片企业,有垂直整合和垂直分工两种商业模式。
垂直整合模式(IDM,Integrated Device Manufacturer),指企业业务范围涵盖集成电路设计、晶圆制造、封装及测试等全部环节的模式,比如三星、英特尔、德州仪器等极少数国际芯片巨头采用此种模式,三星、英特尔等同时也从事晶圆代工业务。
垂直分工模式,Fabless (Foundry)模式,即无晶圆厂的集成电路设计企业,专注于集成电路的设计研发和销售,将晶圆制造、封装测试等环节分别委托给专业的晶圆制造企业和封装测试企业代工完成。
全球绝大部分集成电路设计企业均采用 Fabless 模式,设计公司的主要代表有高通、AMD、联发科等,国内芯片行业中的领先企业如华为海思、展讯通信、华大半导体、大唐半导体、中兴微电子等。
著名的 Foundry 厂商有台积电、格芯、联华电子、中芯国际、和舰芯片、华力微等。
2.1 Fabless 模式下的芯片设计公司
芯片设计(IC 设计),主要包含系统实现模型的搭建、数字电路代码的编写、模拟图设计逻辑和性能仿真验证后端物理版图实现等几个重要环节。
IC 设计处于集成电路产业链的前端,设计水平高低决定了芯片产品的功能、性能和成本。
目前,美国集成电路设计行业仍处于全球领先地位,2017 年美国集成电路设计行业销售额占全球集成电路设计业的 53%,位居全球第一位;中国台湾地区占 16%,位居第二;中国大陆地区的 IC 设计企业,扣除海思半导体、中兴微电子和大唐微电子为自用的 IC 产品之外,直接向市场供应的 IC 产品销售额占 11%。
2018年我国集成电路设计、制造和封装测试占比分别为 38.6%、27.8%和 33.6%。
据说,在世界范围内,集成电路设计的产值占比接近 60%,封装测试环节的份额占比不到20%。
就是说,芯片设计领域仍有很大的发展空间?
截至 2017 年底, 我国 IC 设计企业达到 1380 家,较 2015 年的 736 家上升了近一倍。在当年全球前五十大 Fabless 企业中占据了 10 个席位,已逐步进入全球市场的主流竞争格局中。
据集成电路产业“十三五”发展规划总体目标显示,到 2020 年,我国集成电路设计业年销售收入将达到 3,900 亿元。
本文研究的晶晨半导体、澜起科技、聚辰半导体、晶丰明源4家都是Fabless 模式的 IC 设计公司。
2.2 Fabless 模式下的晶圆代工厂
晶圆制造是指晶圆制造厂接受版图文件(GDSII 文件),经过一系的加工工艺将生产掩膜(MASK),通过光刻、掺杂、溅射、刻蚀等过程,将掩膜上的电路图形复制到晶圆基片上,从而在晶圆基片上形成电路。
晶圆制造制程从 0.5µm、0.35µm、0.25µm、0.18µm、0.15µm、0.13µm、90nm、65nm、45nm、32nm、28nm、22nm、14nm,一直发展到现在的 10nm、7nm、5nm,甚至达到物理极限的 3nm。
由于工艺升级需要耗费大量财力,许多芯片厂商已宣布放弃对先进工艺的研发。
28nm 是传统制程和先进制程的分界点,工艺节点已经成熟,是逻辑闸成本最小的技术节点,目前以 28 nm 制程市场需求量最大,预计到 2025 年仍是市场主流产品之一。
全球具备 28nm 及以下先进制程技术的纯晶圆代工厂有台积电、 格芯、联华电子、中芯国际、和舰芯片、华力微6家。
能生产14/16nm 以下代工厂只剩下台积电、格芯、联华电子 3 家。
中芯国际是国内纯晶圆代工厂龙头,14nm 制程量产已进入客户验证阶段。
台积电 7nm 生产线 2018 年上半年已经宣布量产,是目前唯一一家能提供7nm 制造服务的纯晶圆代工厂商。
Intel 宣称其 10nm 工艺堪比台积电、三星的 7nm 工艺。
格芯则在宣布放弃 7nm FinFET 计划的同时,2019年推出另一种 12nm FDSOI 技术,其性能等同于10nm FinFET,但功耗却低于 14nm 的 FinFET。
申请上科创板的和舰芯片,就是晶圆代工厂。
2.3 摩尔定律
摩尔定律由英特尔创始人在 1965 年提出,说集成电路的集成度会每两年翻一番。后来这个周期缩短到 18 个月,即每 18 个月集成电路的性能会翻一番,相同性能的芯片价钱会降一半。
在 2010 年以后,集成电路的缩小步伐明显放缓,由原来的 18 个月延长至36 个月左右,半导体行业的摩尔定律已经进入发展相对缓慢的周期。
竹子完全外行的猜想:如果把代工理解为硬件,设计理解为软件,是因硬件进步已接近极限所以发展缓慢么?就是设计企业大展拳脚的机会?
不过,芯片设计企业研发费用包括 IP 授权使用费用、研发团队人员费用、流片费用等费用,其中流片的费用可从从上百万元到上千万元不等。
如果研发方向错了,数千万的研发投入可能就打水漂了吧?
三、四家芯片设计公司的业务比较
3.1 澜起科技
澜起科技的主营业务是为云计算和人工智能领域提供以芯片为基础的解决方案,主要产品包括内存接口芯片、津逮®服务器CPU以及混合安全内存模组。
澜起科技也曾做消费电子类的芯片,现已剥离出去。
澜起科技发明了DDR4全缓冲“1+9”架构,最终被JEDEC国际标准采纳。
公司是全球可提供从DDR2到DDR4内存全缓冲/半缓冲完整解决方案的主要供应商之一,在该领域拥有重要话语权,已成为国际知名的芯片设计公司。
澜起科技的主营产品为内存接口芯片,在全球范围内从事研发并量产服务器内存接口芯片的仅有澜起科技、IDT和Rambus三家公司。
内存接口芯片下游为 DRAM 市场, 2018 年前三季度,三星电子、海力士、美光科技位居DRAM 市场行业前三名,市场占有率合计超过90%,导致澜起科技2018年前五大客户的销售点比高到90%。
澜起科技的营业收入从2016年的8.4亿元增长到2018年的17.6亿元,年均复合增长率达44.23%。
扣除非经常性损益后的净利润从2016年的315万元增长到2018年的7亿元元,年均复合增长率达1388.11%。
盈利能力飞速增长,而且净利润率高达40%?
澜起科技三年研发费用为2.77亿元,占营业收入的27%,研发人中占员工比例达到71%。
已获授权的国内外专利达90项,获集成电路布图设计证书39项。
3.2 晶晨半导体
晶晨半导体主要从事多媒体智能终端 SoC 芯片的研发、设计与销售,是国内最大的智能机顶盒、智能电视和 AI 音视频系统终端等智能多媒体 SoC 芯片和全系统解决方案供应商之一。
公司的产品方案已经被小米、阿里巴巴、百度、海尔、TCL、创维、中兴通讯、中国移动、中国联通、中国电信、Google、Amazon、俄罗斯电信、印度 Reliance 等企业采用。
2016年至2018年,公司营业收入从11.5亿元增长到 23.7亿元,年复合增长率达44%。
扣非后净利润从 2016 年的 6500 万元增长到2018年的2.7亿元, 年复合增长率达 104%。
公司采用“经销为主、直销为辅”的销售模式,2018年经销模式占比为65%,直销占比为35%,2018年产品的产销率约为90%。
2018年,公司的研发投入占营业收入的16%,研发人员占总体员工的比达到81%,销售人员占比只有5%。
已拥有 11 项核心技术、47 项专利、39 项集成电路布图设计、多项计算机软件著作权等。
3.3 聚辰半导体
聚辰半导体的主要产品是 EEPROM、音圈马达驱动芯片、智能卡芯片,主要应用于智能手机、液晶面板、蓝牙模块、通讯、计算机及周边、医疗仪器、白色家电、汽车电子、工业控制等众多领域。
其中,2018年EEPROM的营业收入占比达到90%。
公司已成为全球领先的 EEPROM 芯片设计企业,2018 年是全球排名第三的 EEPROM 产品供应商,占有全球约8.17%的市场份额,市场份额在国内 EEPROM 企业中排名第一。
公司的产品应用于三星、华为、vivo、OPPO、小米、联想、中兴等多家市场主流手机厂商的消费终端产品。
聚辰半导体2018年的营业收入4.3亿元元,比一上年的增幅为25.7%。
2018年净利润1亿元,与上一年相比增幅为80%。
净利润率高过23%?
2018年,公司研发投入占营业收入的比例为12%,研发人员占员工总人数的45%。
公司拥有境内发明专利 26 项,实用新型专利 16 项,美国专利 5 项,集成电路布图设计登记证书44项。
3.4 晶丰明源半导体
晶丰明源的主要产品为 LED 照明驱动芯片,属于模拟芯片行业中电源管理芯片范畴。
晶丰明源是国内率先设计出 LED 照明驱动芯片并进行商业化的企业,是国内领先的电源管理驱动类芯片设计企业之一。
主要的 LED 照明企业如飞利浦、欧普照明、雷士照明、阳光照明、三雄极光、佛山照明、得邦照明等均配套使用了晶丰明源的 LED 照明驱动芯片产品。
2018年公司营业收入为7.7亿元,净利润8100万元,扣非后净利润7400万元。
2018年研发投入占营业收入的8%,研发人员占员工总人数的60%。
模拟芯片公司与数字芯片公司的特点有所不同,模拟芯片设计公司的核心技术主要由少数核心技术人员掌握。
公司已获得国际专利 4 项,国内专利技术 149 项,集成电路布图设计专有权 105 项。
3.5 中微半导体设备
与前面4家做芯片设计不同,中微半导体是做制造芯片的设备的。
中微公司聚焦用于集成电路、LED 芯片等微观器件领域的等离子体刻蚀设备、深硅刻蚀设备和 MOCVD 设备等关键设备的研发、生产和销售,是国际半导体设备产业界公认的后起之秀。
中微公司的等离子体刻蚀设备已广泛应用于国际先进的 14 纳米、7 纳米和 5纳米生产线。
中微公司的创始人、董事长及总经理尹志尧博士,曾供职于英特尔,在半导体芯片和设备产业有35 年行业经验,是国际等离子体刻蚀技术发展和产业化的重要推动者。
中微半导体设备的前五名客户包括台积电、中芯国际、海力士、华力微电子、联华电子、长江存储、三安光电、华灿光电、乾照光电、璨扬光电等,2018年前五名客户收入占比为60.5%。
2018年公司营业收入为16.4亿元,获政府补助1.7亿元。
获得如此高额的政府补助,与比例高达45%的国有股东有关系么?
2018年净利润9000万元,扣非后净利润为1.8亿元?
对了好几遍还是看不明白,有财务专家解释下么?扣非后净利润比没扣之前多一倍?
公司三年累计研发投入为 10.4 亿元,约占营业收入的 32%,研发和工程技术人员占员工总数的58%。
四、申请上市历程
4.1 澜起科技的上市历程
公司在2004年成立,获数轮融资后,于2013年到美国上市,上市一年后于2014年退市。
中间进行过融资,公司在2018年4月拆除境外架构,股权平移回境内公司。
2018年10月,从有限责任公司改为股份有限公司。
澜起科技2019年1月接受上市辅导,2019年3月申请上科创板,2019年4月1日获得受理。
赶得很及时哦,2014年从美国退市回来的公司,投资人都着急了吧?
4.2 晶晨半导体的A股历程
创始人John Zhong 1995年3月在美国加州成立公司,是5家公司中成立时间最久的一家。
2006年前在开曼群岛成立公司已进行了6轮融资,股东包括TCL 王牌、创维等同是客户的机构,之前是计划去海外上市的。
晶晨半导体在2013年就开始筹划回A股上市了,2014年至2017年间,第一轮股东将境外股权平移回境内公司,期间有部分股东退出,估值约为2.5亿美元左右。
在筹划上市期,2017年1月进行了新一轮融资,并增设员工持股平台。
完成融资后,2017年3月从有限责任公司改为股份有限公司,进入上市筹备最后阶段。
原本是打算去A股普通板块上市的吧?后来遇上科创板才改道的?
2018年8月,第二阶段的境外股权平移回境内公司。
相隔这么长时间,而且在股改后才进行股权平移,不知道是不是有些股东对A股上市有不确定意见呢?
2018 年9 月至12月,有3家股东完全退出晶晨半导体,也有新股东进入。
眼看快要上市了还有人退出,对是否能上市信心不足么?
前几次股东进退的估值约为30-50亿元,最后一家股东在2018年12月退出估值涨到72亿元人民币。
领导在2018年11月表态要设科创板,晶晨半导体的估值突然涨这么快,不知是否与科创板有关系呢?
公司与之前与TCL 王牌、创维投资、天安华登、FNOF、嘉兴珐码共5 家投资人,签署了优先清算权、反稀释权、优先认购权、股权转让限制、优先购买权和共同出售权等投资人特殊权利安排。
虽于2018 年 8 月 22 日与5家投资人签署了终止上述特殊权利安排的补充协议,但又与 TCL、创维两家约定,如1年内没申请上市或申请没被受理的,或上市不成功的,TCL 、创维的特殊股东权利将恢复。
4.3 中微半导体完美把握科创板时机
公司在2004年成立,之前在开曼群岛设立境外公司,应该是准备去海外上市的吧,2015年11月已完成D轮融资。
股东包括高通、高盛、上海国资委、国开金融等国际知名公司和国有资金。
2016年计划回A股上市,2016年—2018年调整海外架构,部分股权平移回国内,部分股东退出。
2018年2月和7月,公司还进行了2轮融资。
2018年12月股权调整完成,公司从有限责任公司改为股份有限公司。
是冲科创板去的吧?好及时哦。
4.4 聚辰半导体的及时赶上科创板
公司在2009年成立,之前是纯外资企业,不清楚是不是打算去海外上市?
2016年,外资公司的大部分股权转为内资公司持有,成立4家员工持股平台(1家境外)。
并进行唯一的一次融资,不清楚是之前在境外融资平移回来的?还是2016年才进行融资引入的新股东?这次融资估值约为2.26亿元。
实际控制人陈作涛自己就控制多家投资公司,有多个基金。
之前没有对外融资,难道是为了把赚钱机会留给自己么?
2018 年 9 月,公司从有限责任公司改为股份有限公司,2019年3月申请科创板上市。
4.5 晶丰明源从创业板转投科创板
公司在2008年10月成立,公司成立时只有3位个人股东。
公司之前曾申请创业板上市,2018年7月被否。
创业板的申请书说,之前存在股权代持,2017年1月已清理完比。因时间有限,我们来不及去翻看创业板的招股书核对了。
2017年2月从有限责任公司改为股份有限公司,后在2017年3月进行一次融资,出让了2%多的股权,估值约10亿元。
公司成立10多年只进行了唯一一次的融资,而且是在股改之后,不清楚是否与上市意义有关?
虽然聚辰半导体也只进行过一次融资,但融资时间在2016年8月,而公司在2年多后的2018年9月才改制为股份有限公司;且融资估值只有2亿多元。
这样的操作应该是很正常的,不会有人想到其他意思?
五、5家芯片公司的控制权
5.1 控制权与锁定期
在中国A股上市,对实际控制人、普通股东的持股,有不同的锁定期要求,这也是影响一些股东要不要争取控制权的原因之一吧。
科创板关于锁定期的规则:
(1)控股股东和实际控制人持有的股份,上市后锁定3年。
(2)控股股东和实际控制人的亲属所持股份,上市后锁定3年。
(3)在申报上市前6个月内从控股股东或实际控制人处受让的股份,上市后锁定3年。
(4)申报上市前6个月内进行增资扩股的,完成增资扩股工商变更登记手续之日起锁定3年。
(5)其他股东,上市后锁定1年。
竹子私语:也许因为锁定期的考虑,上市后很多投资人愿意主动表示不谋求公司控制权吧,但在上市前可不一样哦。
没有实际控制人的公司
股东按持股比例从高到低承诺上市后锁定3年,直至锁定不低于上市前股份总数的51%【持股5%以下股东、符合条件的员工持股平台和不是第一大股东的创投基金除外】。
竹子私语:就是说,如果没有实际控制人,其他股东一起遭殃要锁定3年。
所以上市后投资人是很愿意让出控制权的。
不受锁定3年限制的创投基金须同时符合以下条件:
(1)在公司成立前5年内投资的。
(2)投资时公司营业额和总资产都不超过2亿元、员工人数不超500人。
(3)投资时间已满3年。
(4)已作为创业投资基金备案。
以下的员工持股平台可以不用锁定3年:
(1)计算股东数量时穿透到员工个人(避免股东数超过200哦),可不用锁定3年。
(2)或者员工持股平台作为基金已在基金业协会备案。
注:参与股权激励人数较多的公司,一般都无法满足上述条件,选择锁定3年更容易操作。
5.2 聚辰半导体的控制权结构
在五家公司中,聚辰半导体的控制权结构最有特色了。
聚辰半导体的实际控制人陈作涛,除了此公司外还控制了共70家投资或实业公司。
从招股书的资料中,竹子无法看出陈作涛是不是创始人,也无法看出陈作涛何时加入公司?或者是中途收购过来的公司?
陈作涛不是技术人员,是5家芯片公司中唯一一个创始人或实际控制人不是技术出身的公司。
陈作源是中国籍人员,而最重要的两位核心技术人员(总经理和副总)是美国籍。
难道是一个中国的投资专家,找来美籍技术专家创办的公司么?
聚辰半导体的股权结构
陈作涛通过3家公司共控制40.70%股份,控制结构比较复杂,见下图:

太复杂了,好不容易画出这个图,不想再计算陈作涛的间接持股比例有多少了,招股书也没披露最终的持股比例。
聚辰半导体共7家员工持股平台(境内6家、境外1家),虽然不是陈作涛作为实际控制人,但都是有关人员控制的吧?
大股东江西和光是陈作涛自己的公司,两层公司都让兄弟陈作宁持股0.01%,是为了规避无限责任风险么?
陈作涛持股的武汉珞珈、北京珞珈、新越成长三家机构已办理基金备案手续,是专门做投资的基金的么?
聚辰半导体的董事会
聚辰半导体的董事会共有7人,其中3位独立董事。
陈作涛任董事长、法定代表人,1位美籍核心技术人员任董事、总经理,1位美籍核心技术人员任董事、副总经理。
7位董事中,6位由陈作涛控制的公司提名。
聚辰香港提名一位财务出身的马来西亚籍董事,聚辰香港是第二大股东,持股12.43%,是2009年之前就成立的公司,不清楚与陈作涛是何种关系?
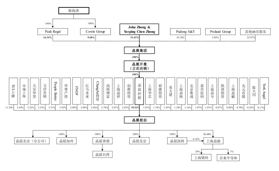
5.2 晶晨半导体的控制权
晶晨半导体的创始人是夫妻两人,John Zhong和YeepingChen Zhong,都出生于1963年,在美国读书,据说是美籍华人。
晶晨半导体的股权结构
公司的股权结构见下图:

夫妻两与YeepingChen Zhong的父亲陈海涛为一致行动人,境外的晶晨集团间接持股晶晨半导体。
夫妻两人共同为公司的实际控制人,控制晶晨半导体39.52%股份的投票权,两人的持股加起来约为13%。
境内的4家员工持股平台共持股4.5%,并不由创始人控制。
主要财务投资已书面承诺,不谋求公司的控制权,也不参与公司的日常经营。
晶晨半导体的管理权
John Zhong任公司董事长、总经理、法定代表人。
Yeeping Chen Zhong 曾担任公司执行副总裁、副总经理职位,在公司股改后已不再担任高管职位。
董事会共为5人,包含 2 名独立董事和 3 名非独立董事。
John Zhong方推荐4名董事,TCL 王牌推荐1名董事闫晓林。
所以,创始人John Zhong对公司有较强的控制权。
5.3 晶丰明源的控制权结构
公司的股权结构见下图:

公司实际控制人为胡黎强、刘洁茜夫妇,二人直接和间接持股合计49.82%,加上员工持股平台共控制公司 64.69%的表决权。
公司申请发行25%的新股,如成功上市,夫妻两人仍将控制 51.74%的表决权。
第二大股东夏风是创始股东,在公司成立时已持股,上市后持股比例仍达24.54%。
公司董事会共设 7 名董事,其中独立董事 3 名。
胡黎强方推荐5人,夏风推荐2人。
胡黎强任公司董事长兼总经理,刘洁茜任公司董事兼副总经理。
5.4 两家无实际控制人
澜起科技的股权结构见下图:

由于公司曾在美国上市后退市,股权结构较为分散,大股东也无意控制公司,公司无实际控制人。
杨崇和Stephen Kuong-Io Tai两位创始人间接持股极低,各持股2%而已。
董事会由 11 名董事组成,含4 名独立董事。
杨崇和Stephen Kuong-Io Tai两位创始人都任董事,杨崇为董事长兼首席执行官。
中微半导体设备的股权结构见下图:

公司前两大股东是上海国资委下属公司,4名国有股东合计持股44.89%,他们并不打算控制公司。
公司无实际控制人,尹志尧和杜志游两位创始人的持股比例极低,尹志尧持股1.29%,杜志游持股0.48%,两人加起来还不到2%。
董事会11 名董事,其中独立董事 4 名。
尹志尧和杜志游分别任董事长及总经理、董事及副总经理。
上海国资委企业共提名3名董事,其他非独立董事由其他股东提名,独立董事则由董事会提名。
六、5家芯片公司的股权激励
6.1 晶晨半导体的股权激励
2018年晶晨半导体的员工人数约为760人,研发人员占比达到81%,销售人员占比只有5%,受股权激励员工约为100-200人,涉及人员约为20%左右。
公司在1995年、2007年、2014年推出了多期股权激励计划。
在筹备A股上市后将中国籍员工的部分平移回国内,没行权的期权加速行权,转换为限制性股票,规定上市后12个月才可变现,因涉及到穿透计算问题,已承诺锁定3年。
2017年1月成立4个境内的员工持股平台,加上境外的晶晨集团,共5个员工持股平台。
创始人和其他非中国籍人员则仍通过境外的晶晨集团间接持股。
有的人在多个员工持股平台持股,竹子猜想,晶晨半导体的员工持股平台可能是按不同期的股权激励设立的,按时间设立,并非按人员设立。
2018年几位技术负责人薪酬在110-130间万元,除副总持股1.5%外,其他核心技术人员持股比例在0.2%上下。
公司的创始人、副总等核心高管都是60后,技术总监等是70后至80年,核心人员都在2006年前加入公司,至今已有10多年,核心团队非常稳定。
最幸运的应该是公司董秘余莉吧,1981年出生,2003年法律专业毕业。
2016年加入晶晨半导体任法务经理,2017年3月起任董事会秘书,就是为筹备上市招进来,然后直接从法务经理到上市公司高管的董事会秘书吧。
董秘的间接持股比例和财务总监一样都是0.02%,2018年薪酬78万元,财务总监54万元,写鸡汤文的高手们又可以找到代表人物了。
6.2 中微半导体设备
中微半导体设备,至2018年末,发和工程技术人员占员工总数的58%。
公司实施全员持股计划,吸引160 多位各专业领域的专家,但招股书没披露太多关于全员持股计划的内容。
公司约有一半为国资持股,已成立6家员工持股平台,合计持股比例为 16.67%;另人8位外籍外高直接持股,合计股份比例为2.96%;员工共持股19.63%。
此外,员工还与外部投资者一起对公司进行投资。
创始人只持股1.29%,联合创始人为0.48%,几位核心技术人员在0.2-0.4%间。
两位创始人都是核心技术人员,多位核心技术人员在公司成立的2004年已加入,非常稳定。
2018年,董事、副总、核心技术人员年薪180--250万元,董秘108万元。
独立董事的年薪为40万元,属于较高水平哦。
6.3 聚辰半导体的股权激励
聚辰半导体共有140多人,设了7家员工持股平台,6家在境内,1家在境外。
境内的6家员工持股平台共持股13.14%,境外的持股平台共持股6%,其中4位高管共占4.56%。
有4家平台的人数达40-50人(部分人员重复),猜测股权激励涉及面很广?但没看出对技术人员的倾斜。
比如作为核心技术人员的总经理和副总经理两位,2011年加入,都是60后,各占股权比例为2%左右。
而2018年加入的销售副总,股份比例为1.16%。
2017年加入的董秘持股3%,高于其他高管,也在陈作涛控制的其他公司任职,不清楚是否关联人士。
2018年的薪酬,作为核心技术人员的总经理和副总经理两位都是223万元,销售副总则是120万元。
其他核心技术人员大概在70-80万之间,财务总监、董秘等也在此范围。
6.4 晶丰明源的股权激励
公司有股权激励,但看不出具体操作。
核心技术人员的持股约为0.05%、0.15%、0.2%。
竹子猜想,也许核心技术人员的持股比例与与职位有关?
比核心技术人员持股更高的是销售总监,接近3%,10多倍于核心技术人员。
是否表示产品竞争力不够强,需要销售拉动?
高管们的薪酬则较均衡,技术、销售、财务负责人、董秘,2018年薪酬都在70-80万之间。
6.5 澜起科技的员工激励
澜起科技2018年共有250多名员工,有员工间接持股,但看不出股权激励的情况,创始人的持股比例只有2%,薪酬水平较高。
2018年,两位创始人,一位是董事长兼核心技术人员,另一位是董事兼总经理,两人的薪酬都是接近1800万元。
另三位核心技术人员,薪酬都在100万上下,很接近,持股比例与加入时间不同相差较多。
普华永道出身的财务总监2018年薪酬151万元。
2015加入的董事会秘书,2018年薪酬120万元。
澜起科技的薪酬普通高于前几家公司,是实行职业经理人为主,而非股权激励为主的吧?
七、股权道点滴思考
7.1 关于股权分配
在上述5家公司中,澜起科技和中微半导体两家公司的创始人持股只有2%或低于2%的水平。
澜起科技的两位创始人都是公司的核心技术人员,而芯片设计公司是技术密集型行业,两位创始人合计持股只有4%。
持股比例这么低,是否创始人从公司成立之初就按职业经理人的标准拿薪酬?
从2018年的数据看,创始人1800万的年薪应该是体现了劳动价值的吧?
中微半导体实行全员持股,但创始人的持股比例更低,董事长持股1.29%,副总0.48%,两人加起来还不到2%。
薪酬也在200多万元上下,离澜起科技的水平差很远。
是否以前融资时只考虑了资金的价值,没考虑人力投入的价值?与公司的大股东是国资是否有关系?
7.2 关于控制权
聚辰半导体、晶晨半导体、晶丰明源三家通过股权架构和提名董事掌握控制权。
聚辰半导体和晶丰明源两家都只进行过一次融资,实际控制人都有很强的控制力,差别是:
聚辰半导体有复杂的股权结构,还有相关人员控制员工持股平台,实际控制人能控制的投票权也许高于股权结构看到的结果。
晶丰明源融资出让股权很少,股权几乎掌握在自己人手里,对公司有很强的控制权。
晶丰明源和晶晨半导体都是夫妻创业。
晶晨半导体经过多轮融资,股东众多,创始人通过员工持股平台掌握部分投票权,只设5人董事会,4人由创始人提名。
虽然持股比例不高,但通过这样设计后更有利于掌握控制权。
澜起科技和中微半导体两家创始人持股比例极低的公司,10多年来仍由创始人在管理公司,并没发生控制权争议。
或者是所处行业技术性很强,其他股东或投资人无意也无能力管理好公司?
无实际控制人的两家公司,董事会都设11人。
另三家公司,董事会人数为5或7人。
而聚辰半导体却例外,由非技术人员领导技术性很强的芯片设计公司,不知是不是董事长有不一样的能力呢?


评论