文|青眼 方良
拖欠上下游企业货款3500万元,16次成为“失信被执行人”,14次被法院下达限制消费令……曾公开表示第三次创业的洁宝“掌门人”周金平,或许很难再有翻盘的机会了。
近日,一则广州洁宝拖欠华熙福瑞达生物医药有限公司(下称“华熙福瑞达”)400万元货款的消息,再次将洁宝集团董事长周金平及旗下的“洁宝系”公司推向行业视野。
“国内面膜品牌老大已经被卖掉,洁宝有责任与渠道商一同扛起民族面膜品牌的大旗,做百年企业。”2013年9月17日,在洁宝集团13周年庆典暨全国代理商答谢会上,周金平的这番话言犹在耳。
这家旗下拥有多个面膜品牌,曾一度是中国面膜行业领航者的公司,如今何以成“老赖”?
官司缠身的洁宝
日前,青眼在今年中国美容博览会(CBE)逛展时发现,曾经在2015年拿下CBE“展位王”的洁宝,4年前的大手笔与高人气已荡然无存。与彼时洁宝携旗下五大自有品牌高调亮相比,今年的洁宝展位则黯然失色了许多,且目前以代工业务为主。

▍洁宝展位
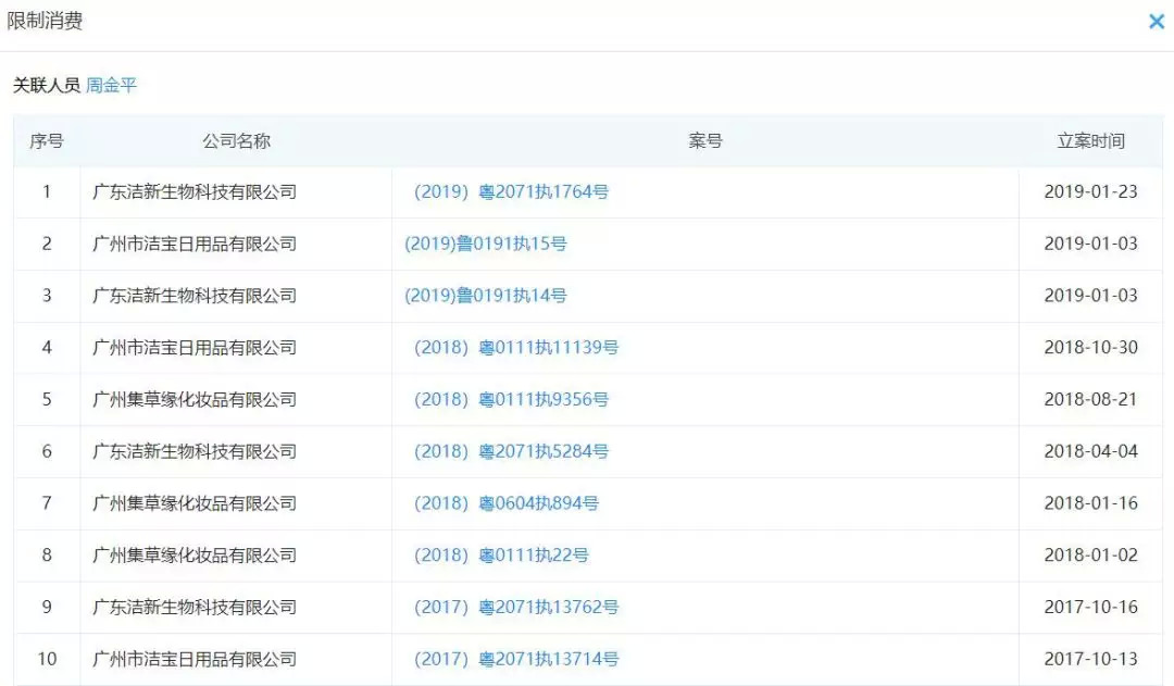
青眼调查发现,以广东洁新生物科技有限公司(下称“广东洁新”)、广州市洁宝日用品有限公司(下称“广州洁宝”)、广州集草缘化妆品有限公司(下称“广州集草缘”)为主的三家“洁宝系”公司,近三年内均是官司缠身,先后被中山市第一人民法院、济南高新技术产业开发区人民法院、广州市白云区人民法院等多家法院,共16次列为失信被执行人。而作为公司法人的周金平也被多地法院共14次列为限制消费人员。



▍三家“洁宝系”公司共16次被列为失信执行人(截自企查查)


▍周金平被法院下达限制消费令(截自企查查)
除了华熙福瑞达,“洁宝系”公司还拖欠了中山佳达柯色印刷包装有限公司、惠州宝柏包装有限公司、深圳王子新材料股份有限公司等多家公司的货款及利息。
此外,广州洁宝与经销商(代理商)之间也存在合同纠纷。根据中国文书裁判网2019年3月20日信息显示,广州中院判决广州洁宝自判决生效之日起五日内向乌鲁木齐市友合实业有限公司返还货款17.33万元、返还保证金3万元;中国文书裁判网2018年12月11日信息显示,广州洁宝自判决生效之日起五日内向新疆怡亚通嘉乐供应链管理有限公司(该公司由深圳市怡亚通供应链股份有限公司控股60%)返还货款56.61万元。
由此可见,洁宝的债主不仅涵盖了上游的供应商、生产商,还有下游的经销商。
除以上纠纷以外,“洁宝系”原本已“揣进”手中的政府扶持资金,也由于业绩不达标,而不得不得“吐出来”。中国裁判文书网2019年4月1日发布的终审判决信息显示,广东洁新、广州洁宝应向中山火炬高技术产业开发区管理委员会返还扶持资金1567.65万元及利息。
青眼粗略统计,“洁宝系”现已背负3493.13万元的债务(不包含未公开及正在立案的诉讼)。除了外债,其还与内部员工之间产生了多起劳动合同纠纷,涉案员工近20人,且均以公司败诉收尾。

▍“洁宝系”公司欠款明细(青眼制图,数据来源于中国文书裁判网)
目前洁宝已开始“砸锅卖铁”还债。企查查显示,目前,广州洁宝已经涉及6次司法拍卖,包括“粤A 7PR16号的小型客车”“立式压力蒸汽灭菌器、净化工作台、乳化锅等机器设备一批”等。

▍截自企查查
周金平曾表示,诚信就是洁宝的立足之本。令人唏嘘的是,现在的周金平却因失信问题已被限制消费。
曾经的面膜王国
时间追溯至七年前,洁宝风头正盛。
公开资料显示,彼时,洁宝在广东、海南、湖南、浙江、上海、北京等地,拥有众多子公司及生产基地。公司的产品不仅畅销中国大陆,还出口美国、日本、马来西亚、欧洲等十几个国家和地区。
不仅如此,洁宝还先后为众多国内外一流化妆品企业提供服务,服务的面膜品牌超过了1200个,是国内首屈一指的面膜原材料供应商,也因此被业内称为“面膜大王”。同时,洁宝还先后推出了容园美和草舍名院两个自有品牌。
从2001年在海南成立无纺布加工厂,到面膜代工厂,再到将公司总部搬迁至化妆品重地广州,开始品牌化运营之路,洁宝用10余年的时间,完成了从供应商到品牌方的华丽转变。
公开数据显示,2013年,洁宝旗下工厂每天的面膜产量是200万片,一年约产6.8亿片面膜、20亿片无纺布。这样的产能在当时中国面膜行业称得上数一数二。
与此同时,负责洁宝旗下面膜品牌运营的职业经理人林海新,也以他对品牌的运筹帷幄,很快将洁宝的容美园和草舍名院迅速打入市场,成为CS渠道占有率领先的面膜品牌。
2014年,洁宝集团在全国的终端店全面推行了标准化和专业化的面膜终端陈列方式,掀起面膜终端陈列的改革,其影响程度可见一斑。
此外,在第20届中国美容博览会上,洁宝还一举拿下总计765平方米的85个展位,成为当届的“展位王”;并在展会上高调展示了旗下五大品牌舰队,以及无纺布销售、代加工的硬实力,一时间风光无限。
如果说,拥有强大供应链与得当的市场运营分别是洁宝的“地利”与“人和”,那么,当时正在升温的面膜市场,则是“天时”。
根据星图数据显示,2011年之前,护肤类化妆品最大的增长点集中在洁面产品上,面膜是相对冷门的品类,国内的面膜品牌也仅有20家左右。由此可见,在洁宝进入面膜市场时,国内的面膜市场基本属于蓝海,有着充足的收割市场的机会。
一位业内人士表示,洁宝既有原材料又有加工技术,其在运营品牌时,于上下游都掌握了话语权。“五六年前过亿的回款额,这样的业绩对于一个单纯做面膜的企业来说,是非常震撼的。”
兴于此,败于此
然而好景不长。正如过山车一样,洁宝还没在最高点将品牌经营扎实,就开始走向下滑轨道,而其中原因则是多方面的。
事实上,从2012年开始,行业开始大量涌入面膜品牌瓜分市场。数据显示,2012年后中国面膜市场开始爆发,销售规模已高达78.5亿元,连续3年复合增长率超过21.9%(AC尼尔森数据)。据星图数据显示,截至2015年,仅是线上监测到的面膜品牌,就已突破900个,其中本土化妆品牌超过600个,相较2011年增加了近30倍。其中,御泥坊、膜法世家等后起之秀已开始占据面膜界的半壁江山。
在此期间,洁宝旗下另一面膜品牌姬润开始进军微商,但结果不尽如人意。对于惨败,周金平解释称:“我们试图用姬润去打开微商市场,开始启动时,产品主要针对30岁或40岁以上的女性消费者,其功效、卖点、价位都与微商渠道消费者定位不符,所以不是很成功。”
“面膜行业是一个技术含量较低的行业,缺乏技术壁垒,准入门槛较低,这就必然导致行业的鱼龙混杂。”一位业内人士称,“在微商兴起之初,市场处于较为混乱的阶段,是劣币驱逐良币的阶段。那时,行业内‘死’掉了一大批企业。”
而从洁宝自身来看,其在管理和品牌运营上也出现了难点。首当其冲的就是容园美,在大量以保湿、美白、补水为卖点的品牌的冲击下,容园美已开始失去独特的记忆点与传播点,开始走下坡路。
同时,洁宝的代工业务与品牌之间也出现了相互掣肘的局面。一方面洁宝不愿意放弃自己的“面膜大王”代加工业务;另一方面也不愿意失去打造品牌的机会。结果,品牌之路坎坷不平需要持续的加大投入,而代加工业务扩张过快导致资金链紧张。
而原先与周金平珠联璧合的林海新,也因种种原因出走,洁宝因此失去了有力的品牌运营操盘手。
一位知情人士称,在某种程度上,洁宝的债务问题,与其风控意识差也不无关系。
由此看来,曾助力洁宝快速发展的“天时、地利、人和”都在渐行渐远。
旗下品牌无力回天
虽然周金平早在2013年就有意将产业逐渐转移到老家湘西,开始第三次创业,然而通过其近年的表现来看,并未取得成功。
2013年,周金平100%持股的湘西煦日水刺无纺布有限公司正式注册成立。在洁宝日化(湘西)水刺无纺布生产项目开工奠基时,周金平曾表示,这一项目以打造“亚洲无纺布第一生产基地”和“湘西自治州第一家招商引资上市企业”为目标。
不过,湖南湘西经济开发区国家税务局的信息显示,湘西煦日水刺无纺布有限公司由于未按照规定期限办理纳税申报和报送纳税资料,受到了当地税务部门的税务行政处罚,决定文书号为:州开国税简罚〔2017〕11号。
另一方面,为挽救品牌危机,2017年洁宝集团与湘西煦日健康产业有限公司合资成立了一家股份制企业湘西煦日洁宝生物健康有限公司,主要负责运营容园美品牌。洁宝希望借助湘西的民族特色为容园美赋新品牌故事。
容园美于2017年推出12款水哆哆新品面膜,并取材于当地的特色文化,将品牌定位为“一处一风景”,这一举动被称作是容园美再定位之后的复出。
然而两年后,承载了洁宝沉甸甸期许的容园美,自湘西复出后也并未收获惊喜,依旧是不温不火。
目前,容园美天猫旗舰店上共有40款产品,其中月均销量最高的一款仙人掌水哆哆补水面膜也仅为334笔;而洁宝旗下另一主打品牌草舍名院,其在天猫旗舰店上月均销量的单品最高也仅是413笔。


▍5月23日截自天猫
而洁宝后来推出的姬润、小样、蝶漾等品牌,现在几乎已是销声匿迹。虽然这些品牌曾一度在KA渠道大量铺货,但是,从青眼走访武汉多家商超的情况来看,以上品牌均未见陈列。
截至发稿,“洁宝系”多家公司的官网均已无法打开,其在工商登记系统留下的多个电话也处于无法拨通或无人接听的状态。


评论