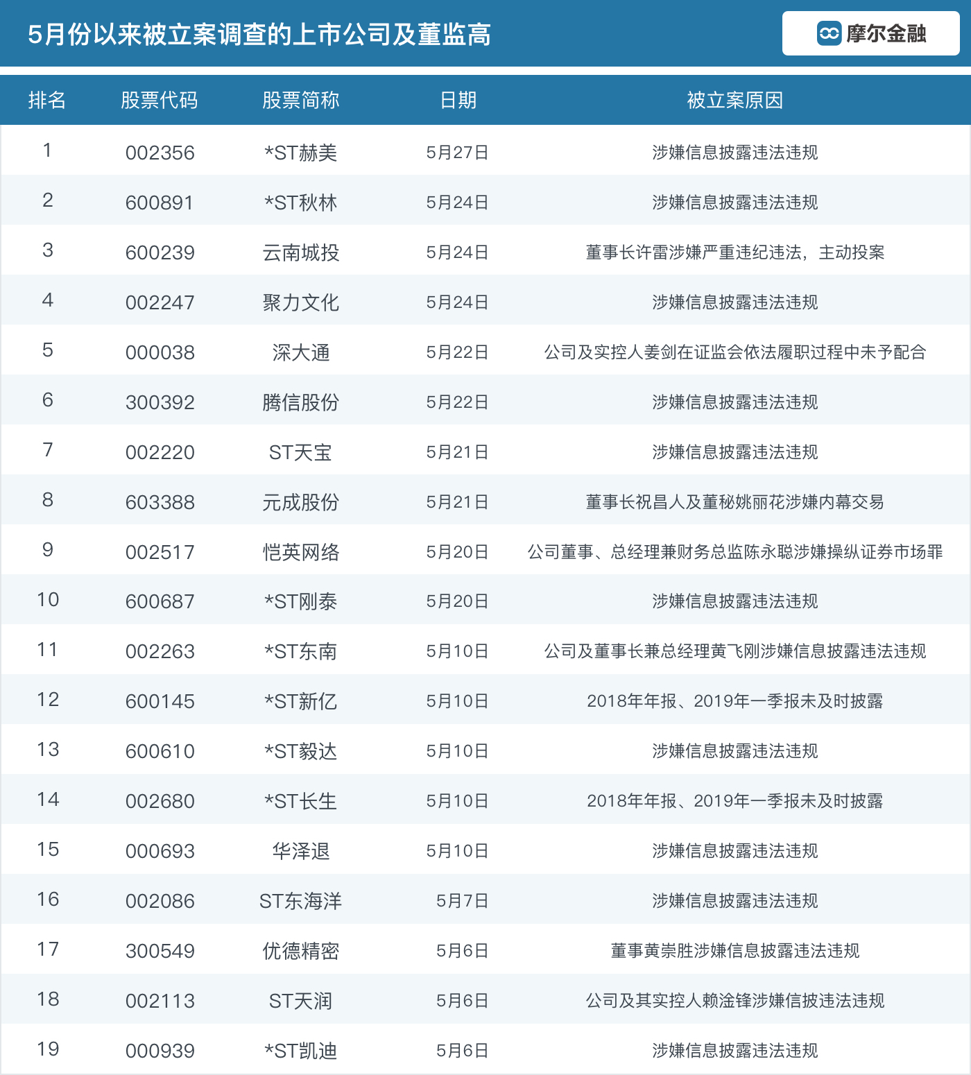
近期,上市公司披露被立案调查及进展的公告纷至沓来。仅5月份就已有18家公司收到立案调查通知书,创今年被立案调查公司单月数量之最。
据不完全统计,今年以来,已经有46家上市公司或董监高等因违法违规行为被立案调查。此外,此前已被立案调查目前还在进行中的公司有33家,总数达到79家。*ST凯迪、*ST康得、*ST华泽、天翔环境等多家上市公司因立案对象或事项不同被两次或多次立案。
从被立案原因看,已被立案调查的79家上市公司中,涉嫌信息披露违规是最主要原因。随着立案调查的推进,大股东资金占用、上市公司违规担保、财务造假等违法违规行为不断暴露。
除了信披违规,深大通则是因为暴力抗法被立案调查。5月23日,深大通公告收到证监会调查通知书,因公司及实控人在证监会依法履行职责过程中未予配合,涉嫌违反相关证券法律、法规,根据有关规定,证监会决定对公司及实控人立案调查。

今年5月,证监会主席易会满在中国上市公司协会2019年年会上表示,上市公司和大股东必须牢牢守住“四条底线”:一是不披露虚假信息,二是不从事内幕交易,三是不操纵股票价格,四是不损害上市公司利益。对于问题严重、拒不整改或整改不力的,证监会将综合运用监管措施、行政处罚、市场禁入、刑事移送等手段,追究公司特别是大股东、上市公司董监高、实控人的责任。

如果你喜欢这篇文章,可在摩尔金融APP或摩尔金融官方网站moer.cn看到更多个股、盘面走势分析及投资技巧,也可在新浪微博、微信公众号、今日头条上搜索摩尔金融并关注。



评论