目前,该专利共有3架飞机,形状各异,其最终的定型要取决于机翼和引擎的位置。

我们从设计图中可以看到,这些飞机在不同方面借鉴了A380、运输机“大白鲸”、甚至是俄国安东诺夫运输机。空客的主要目的是制造一种更为实用,适应性更强的双层飞机,以此吸引各大航空公司。
目前,一些航空公司仅仅将A380作为推广展品,一些觉得A380过于庞大,对机场要求过高,还有一些认为A380做得仍不够好,期待更大更高效的飞机。
一些人将这些态度各异的反馈归因于A380的内在缺陷。而新式双层飞机的推出将会解决A380中所存在的一些不足。
A380有着庞大的载客量,但其行李舱却相对过于狭小,有时无法装下乘客行李及商业托运。

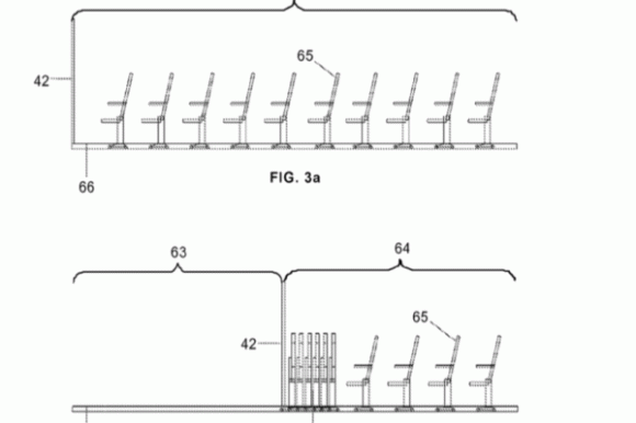
而据空客透露,双层飞机的行李舱将会有足够的空间。“行李舱的大小可以根据航空公司的需要,移动分隔墙进行调整。客舱的大小可以利用滑动式的可折叠座椅进行扩大或缩小。”这一设计可以对航空公司自由改变舱体大小,具有重要作用。

A380的另一个缺点是机体过大,一般机场必须修建更大的跑道和特殊的登机桥,才能容纳下A380。而这款双层飞机可以使得机场不用再建特殊设备,方便乘客登机或下机。

虽然不少人对A380颇有微词,但空客仍力挺这款飞机。在6月份的巴黎航展上,A380制造者认为A380在诞生10年之后的今天,仍然后劲强大。
为了证明A380的人气,该制造者说,每3分钟,世界上就有一架A380正在起飞或落地,并认为,A380仍将在未来占有一席之地。
空客产品市场经理Frank Vermeire认为,A380“安静、舒服、平稳,是乘客所喜爱的飞机。同时,它也是航空公司的招牌飞机。”
空客首席运营官John Leahy在巴黎航展上说:“未来的数十年将会有更多的人乘坐飞机,而仅仅增加航班并无法解决该问题。航空公司需要的是更大更高效的飞机。这款飞机就是A380。”
而对新型的双层飞机来说,同样如此。
(翻译:尉艳华)



评论