记者 | 梅岭
A股市场27年后再迎“千元股”。
6月27日上午10:18分,贵州茅台(600519.SH)股价突破千元,创下历史新高。当日贵州茅台最高价报1001.00元/股,截至收盘,报996.35元/股,当日成交额47.7亿元,成交量4.80万手,总市值突破1.25万亿元。
6月27日,白酒股普遍大涨,酿酒板块整体上涨3%.其中,金种子酒(600199.SH)涨停,报7.25元/股;迎驾贡酒(603198.SH)、山西汾酒(600809.SH)、泸州老窖(000568.SZ)涨幅均超过6%。
贵州茅台的体量已占据了国内白酒上市公司的半壁江山,五粮液(000858.SZ)与其差距继续扩大。6月27日五粮液上涨3.06%,报117.30元/股,总市值4553亿元,不到贵州茅台的二分之一。
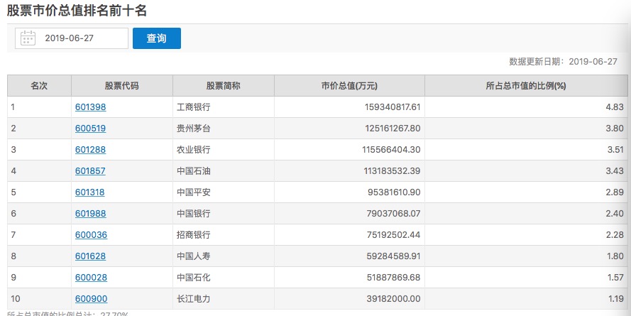
从流通市值来看,根据上交所6月27日数据,贵州茅台目前流通市值排名上交所第二,也是A股第二。第一为工商银行(601398.SH),流通市值1.59万亿元,占总市值的4.83%;贵州茅台总市值1.25万亿,目前全流通,占总市值的3.80%;农业银行(601288.SH)流通市值1.16万亿,排名第三,占总市值比达3.51%。

27年前的两只过千元的股票今何在?曾经在1992年涨至3550元的ST中安(600654.SH),如今股价定格在1.75元/股。云赛智联(600602.SH)也曾在1992年股价涨至2587.50元,6月27日报收7.84元/股,上涨3.27%。
贵州茅台2001年8月27日上市,每股发行价31.39元/股,发行总市值22.4亿元,在其一路登顶的过程中,有多只股票曾先后向其“A股第一股”位置进行挑战,但却无一例外的在短暂超越后,跌落神坛。
2007年10月,中国船舶(600150.SH)股价达到最高峰,最高价达每股300元,当时贵州茅台股价在170元附近。6月27日,在贵州茅台股价破千的时候,中国船舶股价报收23.20元/股,上涨0.43%。2019年一季度,中国船舶营业总收入46.1亿元,归属于上市公司股东净利润372万元。
2014年2月,网宿科技(300017.SH)取代贵州茅台,股价短暂超越130元附近的贵州茅台,成为当时的A股第一股,最高涨至141元/股。6月27日,网宿科技报收11.00元/股,上涨1.85%。2019年一季度,网宿科技营收16.6亿元,归属于上市公司股东净利润1.11亿元。
2015年3月,A股股王再度易主,上市仅一年的全通教育(300359.SZ)股价一路上涨,登顶A股,并达到467.57元/股的最高价。6月27日,处于停牌状态的全通教育股价为6.26元/股,2019年一季度,全通教育营收1.31亿元,归属于上市公司股东净利润327万元。
2016年5月,中科创达(300496.SZ)以254.49元/股,超越贵州茅台的244.99元/股,当上A股新股王。6月27日,中科创达报29.75元/股,上涨1.29%。2019年一季度,中科创达营业总收入3.35亿元,归属于上市公司股东净利润5060万元。
最新一个挑战茅台股王之称的,是2017年3月的吉比特(603444.SH),以373元/股超越当时贵州茅台371.12元/股。2019年6月27日,吉比特报212.37元/股,上涨1.86%,虽然与千元茅台相比差距甚大,但与已经跌落神坛的其它股王相比,其股价与业绩表现相对较好。
2019年一季度,吉比特营收5.06亿元,归属于上市公司股东净利润为2.13亿元,经营活动产生的现金流量净额为2.216亿元。贵州茅台一季度期内实现营业总收入224.81亿元,同增22.21%,归母净利润达112.21亿元,同比增长31.91%。
6月28日,贵州茅台182.64亿元的现金红利将进行发放,分派对象为截止股权登记日(6月27日)下午收市后,在中国结算上海分公司登记在册的公司全体股东。



评论