作为国内首屈一指的独立财富管理机构,诺亚财富发展态势迅猛,但规模的增长也考验着公司的风险管控能力,从2014年的景泰事件、2016年承销的悦榕基金“烂尾”、2017年踩雷辉山乳业、2018年子公司遭香港证监会罚款……近年来,诺亚财富在风控方面频现漏洞。
近日,博信股份董事长罗静被刑拘一案再次将诺亚财富卷入其中。
诺亚财富踩雷承兴国际控股
事情要从罗静被抓开始说起。
7月5日午间,博信股份公告称,公司公司实际控制人兼董事长罗静女士,董事兼财务总监姜绍阳先生分别于2019年6月20日、2019年6月25日被上海市公安局杨浦分局刑事拘留,相关事项尚待公安机关进一步调查。
公开资料显示,罗静在1996年创办了承兴国际集团,目前该集团为集泛娱乐、智能硬件、大健康三大产业为一体的综合性集团,旗下有三家上市公司,在此利空消息影响下:

新加坡主板公司CamsingHealthcare(BAC)交易量较小,股价变化不大;
A股博信股份(600083)7月5日跌停,7月8日出现地天板,7月9日收盘再次涨停;
港股承兴国际控股(02662.HK)最惨,7月8日暴跌超90%,7月9日下跌超26%,股价仅剩0.66港元。
![]()
而问题就恰恰出在这家港股公司——承兴国际控股(02662.HK)上。
港交所披露易显示,在罗静被拘留的前一天,6月19日,诺亚财富旗下的上海歌斐资产管理有限公司、上海诺亚投资管理有限公司、创世核心企业系列私募基金、诺亚(上海)融资租赁有限公司出现在承兴国际控股大股东一栏,持股比例为62.84%。
诺亚财富突然成为承兴国际控股的股东?持股比例还高达60%?对此,7月8日晚间,诺亚财富连发公告,解释了这件事情。
公告中称,上述港交所披露的信息不是股份转让而是股份质押,质权人为上海歌斐资产代表“创世核心企业系列私募基金”以及“诺亚(上海)融资租赁有限公司”,质押人为承兴的控股股东China Base Group Limited。
那么歌斐资产借给承兴多少钱做股权质押呢?对此,美股诺亚财富在7月8日盘前发布公告称,旗下上海歌斐资产管理公司的信贷基金为承兴国际控股(Camsing International Holding Limited)相关第三方公司提供供应链融资,总金额为34亿元人民币。
受上述消息面影响,7月8日晚间,美股诺亚财富(NOAH)的股价开始闪崩,截至收盘跌幅超20%。
![]()
创世核心企业系列私募发生延期
除股价暴跌外,此次股权质押中涉及到的“创世核心企业系列私募基金”也发生延期。
7月8日,歌斐资产发布《关于“创世核心企业系列私募基金”相关情况的说明》公告,称由于近日承兴的实际控制人因涉嫌金融诈骗被公安机关采取刑事拘留措施,公司预期在创世核心企业系列私募基金投资期届满时暂时无法进行分配,因此将依据基金合同约定对基金份额的投资期到期日延期。
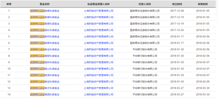
具体来看下“创世核心企业系列私募基金”的情况:
诺亚财富创始人兼董事局主席汪静波在发布的内部信称,上述“创世核心企业系列私募基金”的投资标的,主要是向承兴国际相关方(简称“承兴”)就其与北京京东世纪贸易有限公司之间的应收账款债权提供供应链融资。
据中基协私募基金公开披露信息和用益信托网等多个第三方理财网站的综合信息显示,在2017年和2018年期间,上海歌斐资产共发行了34期创世核心企业系列私募基金,其中仅2018年就发行了10余期产品,资金去向皆为承兴国际与京东的供应链融资。
![]()
以“创世核心企业集淮私募基金”为例,中基协和用益信托网信息显示,该产品成立于2018年1月30日,产品期限为13个月,募集规模为3.99亿元,基金管理人为歌斐资产,融资方为广东承兴控股,募集资金用途为“购买广东承兴控股对京东世纪的应收账款”,还款来源为“债务人京东世纪到期还款或广东承兴回购”。
![]()
也就是说,债务人京东应当是诺亚与承兴国际约定的应收账款还款人。但有趣的是,今日,据财联社报道,京东方面却称“承兴国际涉嫌伪造和京东的业务合同,目前京东已经报案。”但诺亚财富认为,“承兴国际相关方为京东供应商,双方存在大量长期交易,歌斐已经就这个供应链融资对承兴和京东提起司法诉讼,正在积极配合并尊重司法调查的结果”。
![]()
承兴和京东的合同到底是真是假?三方各执一词,但无论如何,私募基金的延期却事关众多投资者的血汗钱,诺亚财富和歌斐资产内部也对此做出了一些应急措施:
据歌斐资产称,公司已成立特别应急和处理小组,采取必要应对措施,完成的处置工作包括但不限于增加基金产品的增信措施;对相关方发出催款函要求履行还款义务;与相关方对账及开展资产 梳理工作;对相关方依法采取法律措施;并已向监管机关进行报备。
汪静波在公司内部信中表示,相关基金会根据法规整体延期半年到一年,从发现风险到今天,公司做了以下几件事:
1. 增加了上市公司股票质押并查封了上市公司的股票;
2. 查封了相关银行账户;
3. 发出催款函,要求付款方根据债转协议履行还款义务;
4. 并启动对该基金投资人的合规的信息披露公告;
5. 就已经到期的基金,对相关方提起了刑事和司法诉讼;
6. 向行业协会与监管单位进行备案。
同步,我们联系了一些大型的困境基金,做了有效的交流,有了一些初步的共识,在基金延期到期前提出一些切实可行方案,让客户安心。
此外,诺亚财富在《媒体回复函》中称,发现该项目风险因素后,立即启动了对存续期内其它产品的深度排查,截至目前并未发现同类问题(截至 2019 年第一季度,歌斐管理基金总额为1711亿,产品数量共计800余支)。诺亚财富将积极配合警方调查,尽全力推进事件解决。
诺亚财富频现风控漏洞
公开信息显示,诺亚财富起源于2003年8月,是诺亚控股有限公司的集团品牌,前身为湘财证券为高端客户特别成立的理财服务中心,2005年9月改制独立,成为国内首家“独立第三方”理财机构。
诺亚的董事长叫汪静波,拥有超过20年金融与财富管理行业从业经验。1992年进入金融行业,历任湘财证券资产管理总部总经理,湘财荷银基金管理公司副总经理,湘财证券私人金融总部总经理。
2010年11月10日,诺亚财富在美国纽约证券交易所成功上市(交易代码NOAH.NYSE),是国内首家在纽交所上市的独立财富管理机构。
此外,2010年诺亚财富旗下全资子公司歌斐资产管理有限公司也正式成立,诺亚财富成为一家获得中国证监会与香港证监会业务发展相关金融牌照与资格的综合金融服务管理集团。官网介绍,截至2019年一季度末,诺亚财富已经实现累计财富配置规模6362亿,为超过27万名高净值人士提供综合服务。
但规模的增长也考验着诺亚财富的风险管控能力。事实上,承兴国际并不是诺亚财富在风控方面的第一次漏洞。
以汪静波在内部信中提到的“2014年景泰事件”为例。2014年8月,由万家共赢资产管理公司发行、诺亚财富支持募集的万家共赢景泰基金,却被爆出基金管理人景泰管理公司蓄意诈骗,擅自挪用通过诺亚募集存放在托管银行的巨额资金,被法院认定为“合同诈骗罪”,这款资金被挪用的产品曾被介绍为“诺亚最安全ABS”。该起案件被业内认为是2014年数起基金子公司风险事件中性质最恶劣、后果最严重的一起,直接导致了针对券商基金通道类业务的监管收紧。
2016年11月,诺亚财富承销的酒店私募股权资金悦榕基金被曝“烂尾”。有投资人称,在此前的宣传中诺亚财富承诺“3.4倍回报、四年半收回本金、六年后上市”的收益目标,但在该基金承诺的2016年,该项目并未上市,直到2017年底才完成退出,最终通过股权转让协议实现了1.3倍的退出净值。
2017年3月,诺亚财富旗下歌斐资产管理的创世优选一号及二号投资基金还曾“踩雷”辉山乳业,涉5亿资金,两只基金均兑付逾期。据中访网零度调研报道,在辉山乳业存在债务危机的背景下,歌斐资产涉嫌将辉山集团的借款债权以应收帐款债权明目售卖。2018年7月31日,歌斐资产被江苏证监局出具警示函;2018年11月,安徽证监局网站对芜湖歌斐资产存在信息披露不规范,防范利益冲突机制不完善的情况,决定采取监管谈话的行政监管措施。
2018年5月,据香港证监会披露,香港证监会对诺亚财富的子公司诺亚控股香港的业务活动进行视察,发现诺亚香港在2014年1月至2016年6月期间,存在风险评估不完善、销售及分销投资产品的内部系统和监控缺失等多个不规范行为,遭证券及期货事务监察委员会谴责并罚款500万港元。



评论