文|华商韬略 张凌絮
据企查查数据显示,近日锤子科技CEO罗永浩再次出质锤子科技(北京)股份有限公司(以下简称“锤子科技”)旗下股权。
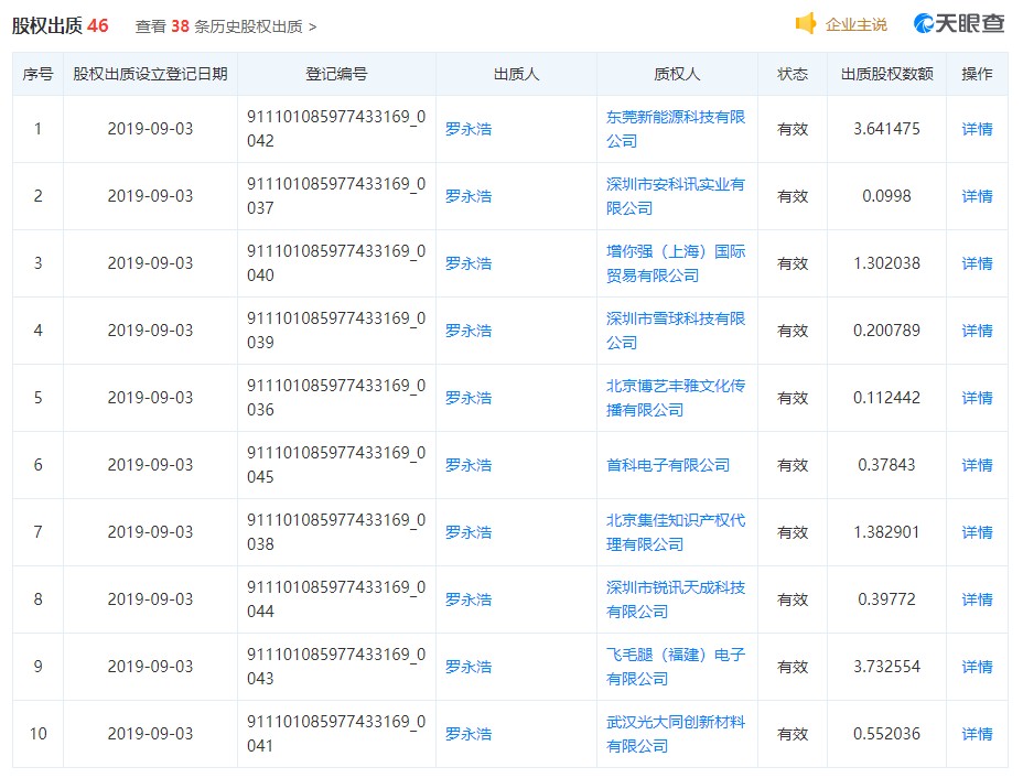
数据显示,锤子科技新增10条股权出质信息,出质人均为罗永浩。

其实在这之前,罗永浩就曾多次质押了部分锤子科技的股权。今年以来罗永浩也曾多次出质锤子科技的股权,出质股权金额共计377.50万元。

而此前,锤子科技历经员工流失率较高,高管离职和商品下架等问题,虽然罗永浩本人多次辟谣,但是这起起伏伏的过程还是被消费者看在了眼里。
早就有评论表示:“罗永浩已经不能凭借情怀做手机”,而锤子手机在手机市场的表现也不容乐观。
据有关数据显示,2014年5月20日其发布的首款智能手机产品Smartisan T1上市一年销量仅为25万台,次年8月发布的售价899元起的坚果手机据称销量不足100万台,
锤子的品牌保有率在2018年2月触及观察期内最高点,达到0.25%,随后缓慢回落。截至2018年11月,锤子手机的品牌保有率为0.22%。
根据锤子科技披露的财务数据显示,锤子科技2015年全年亏损4.62亿元,2016年上半年亏损1.92亿元(2016年半年报财务尚未审计)。同时,锤子科技的资产总额也由2015年年底的8.25亿元缩水至2016年6月30日的2.96亿元。

有消息称,锤子科技总资产缩水5.29亿元的原因之一,在于半年时间内锤子科技尚未发布一款新品,相反在研发和高管团队建设上却有不少投入,因此在公司总体营收上出现亏损。
2016年锤子科技更多次传言倒闭,也曾被曝光过资金链困境。为了解决种种难题,罗永浩更是到处寻求资金支持。先是将股权质押给阿里巴巴,试图与阿里云OS的融资谈判,以失败告终;之后转向京东求助,虽获得金融支持,但因锤子M1和坚果Pro的生产需要太多资金,也没有解决全部问题。
而2018年12月份,法院甚至裁定冻结了锤子科技在招商银行的450万元存款。2019年1月4日,锤子科技再次被申请财产保全1578万元。
而这一次的出质,罗永浩将持有的部分股份出质给东莞新能源科技有限公司、飞毛腿(福建)电子有限公司等多家电子科技企业。其中出质给飞毛腿(福建)电子有限公司的股权数额最高,高达3.73万元。
但是罗永浩依然表示:他也没有打算离开手机圈。他也不只一次地表示过他对手机的情怀,比如在2017年坚果Pro发布会现场,罗永浩展示自己心爱的手机外观时所说:“当有一天锤子手机卖到几百万几千万台的时候,希望你们记得,这个手机其实是给你们做的!”
甚至在今年不久前,他还曾在微博上表示,坚果下一代手机或将问世。

回忆过去,罗永浩甚至罕见地用了一句说教式的鸡汤来做总结:“每一次陷入僵局,你只要坚持下去,就能遇见转机。没有失败的人,只有半途而废的人。”锤子科技的未来如何?仍待时间的检验。
——END——
图片均来自网络
版权所有,禁止私自转载!


评论