记者 |
在绿城中国收购百年人寿“流产”后不久,这家被多家地产商争抢的保险公司内部风波再起。
据界面新闻独家获悉,百年人寿内部纷争不断。监管部门日前已入驻检查,主要涉及股权、保险资金违规投资运用等问题。另据接近百年人寿人士透露,此前百年人寿旗下9家分公司也曾因内部员工举报而接受监管进驻检查。
百年人寿的股权变局在今年占据舆论焦点。
今年8月,因银保监会未在规定期限批准,绿城中国子公司绿城房地产收购百年人寿9亿股的协议终止,卖方将向绿城房地产退还全部购买价。而根据绿城中国2018年12月17日公告,绿城房地产于当日以现金代价27.18亿元与卖方订立股份转让协议,收购百年人寿9亿股股份,占比为11.55%。
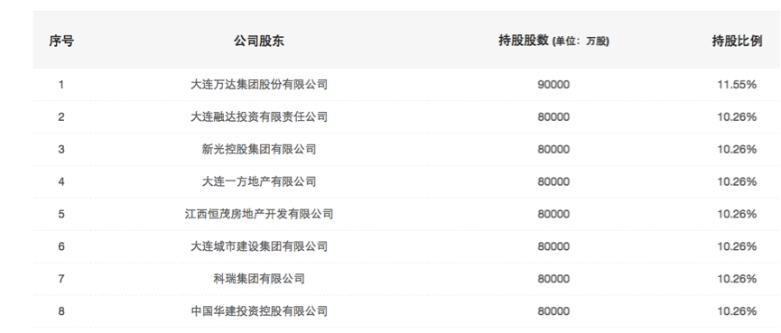
根据此前中国保险行业协会官网披露的百年人寿股东变更情况,股权转让方为大连万达集团股份有限公司,受让方为绿城房地产。根据披露内容,大连万达将9亿股百年人寿股份转让给绿城集团。本次股份转让完成后,绿城房地产持有百年人寿9亿股股份,所持股权占公司总股本的11.55%,大连万达不再持有公司股份。

目前万达集团仍是百年人寿的大股东,持股比例为11.55%,而在绿城出手之前,大连城市建设集团有限公司、大连乾豪坤实置业有限公司以及大连国泰房地产开发有限公司三家原股东均有意出手手中股份,接盘者为奥园集团,但也尚未成行。

值得关注的是,百年人寿的几次股权变动中均有房地产背景浮现。实际上,地产公司布局保险公司并非新鲜事,资金、业务协同、养老健康等考虑使然,而穿透式监管,与违规股权核查风暴下,股东资质、资金来源的严格是大势所趋。
公开资料显示,百年人寿成立于2009年,是东北地区首家中资寿险法人机构。
频收监管罚单,盈利遭遇困局、偿付能力下滑,这家被地产商们视为“香饽饽”的寿险公司存在种种隐忧。
百年人寿官网信息显示,今年1月,中国银保监会浙江监管局对浙江分公司及银行保险部副经理骆夏锋、银保渠道负责人马思琰存在编制或者提供虚假的报告、报表、文件、资料的行为进行处罚。4月,根据《保险公司信息披露管理办法》(保监会令〔2018〕 6 号)的有关规定,中国银保监会黑龙江监管局对百年人黑龙江分公司存在驻点销售的行为进行处罚。
根据二季度偿付能力报告显示,百年人寿的核心偿付能力充足率为84.6%,综合偿付能力充足率为111.67%,在2018年四季度时百年人寿的综合偿付能力充足率曾逼近红线。
从净利润数据一观,在今年上半年盈利的44家寿险公司中,百年人寿处于1-10亿元盈利规模的“中游”。
2018年年报数据显示,百年人寿2018年累计保险业务收入为385.65亿元,净利润6.97元,投资收益45.79亿元。2018年年末,百年人寿的综合和偿付能力充足率分别为100.15%和87.57%,相较2017年有所下降,风险评级为C,离“综合偿付能力充足率不低于100%,风险评级不低于B的监管红线”不远。
今年3月,银保监会批复了百年人寿20亿元的发债请求,偿付能力因此有所回升。



评论