文|猫影文娱 申敏
年终复盘,既是对这一年从业者付出辛劳的检验与回馈,也是对明年行业继续前进的一次阶段性总结和规划调整的依据。
在经济整体下行的大环境下,影视行业的寒冬延续了两年,所幸口红效应在支撑着产业。
资本冷却退潮、政策严苛监管、市场风向难测、大众审美迭代等各种内外因素裹挟下,影视行业的规则和秩序被重塑——平台巨头与影视独角兽联姻、小公司的倒闭和冒进浪潮、演员阶层走向寡头化。
达尔文物竞天择的进化论时刻都在影视圈的台前幕后上演着,被奉为圭臬的大数据和将颠覆未来的AI、5G技术给内容行业带来无限遐想,却加剧了优胜劣汰的个体洗牌大战。
尤其曾经乱象频出的剧集领域,正经历着涅槃重生的阵痛期。好在理性成为当下影视行业的主题曲,数据脱水、真相浮现的苗头愈发茁壮,为风刀霜剑中砥砺前行的从业者指点迷津。
2019年播出的400多部剧集,再次验证了内容为王的马太效应。对匠心者以褒奖,对投机者以暴击。
笔者根据云合数据以正片有效播放为主要衡量指标,得出本年度TOP10热剧榜。描摹其呈现出的新面貌和新变化,以及在营销方式和商业模式上的创新之举,并梳理规律性,为明年的剧集市场提供一定参照。
年度十大热剧面面观
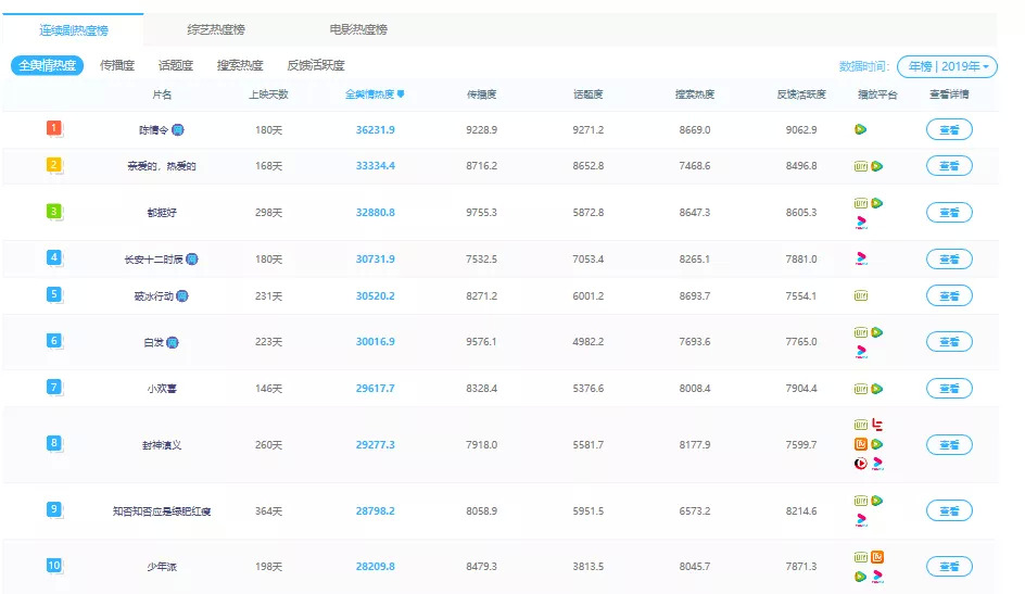
2019年度热剧榜采用的筛选标准——云合数据正片有效播放。正片有限播放是指综合有效点击与受众观看时长,最大程度去除异常播放量,并排除花絮、预告片、特辑等干扰,真实反映影视剧的市场表现及受欢迎程度。
换言之,榜单在一定程度上过滤掉了各种污染“杂质”,确保了剧集表现的相对准确性和真实性,也更具有参考价值。

数据来源:云合数据
上榜的前十名剧作题材涵盖古装、都市情感、偶像言情、刑侦悬疑、家庭教育五大类,对应的热剧分别为《知否知否应是绿肥红瘦》《都挺好》《亲爱的,热爱的》《破冰行动》《小欢喜》,其中前三者正是今年正片有效播放市占率的前三甲。在一定程度上反映了这三类剧作巨大的市场需求和较高的观众粘性。
TOP10热剧里,女性向剧集占了9个席位,数量上碾压男性向剧,后者只有一部硬核的《破冰行动》入榜。证明目前的剧集市场受众依旧是女性撑起半边天,“得女性者得天下”的创作风向继续坚挺。
在创作源头上,除了取材自2013年广东省“雷霆扫毒”12·29专项行动真实案件的《破冰行动》,其余九部热剧全部为IP改编剧。一方面说明编剧的原创力还需加强,一方面反映IP仍然是影视剧的重要来源。
不过令人可喜的是,原著作者和编剧合体的现象越来越多,而且也取得不错成绩。比如排名第八的《少年派》的编剧六六、九枚玉就是小说作者。

十部热剧中只有《破冰行动》《陈情令》两部出自爱奇艺、腾讯之手的纯网剧,在一线卫视首播的电视剧仍占榜单的大半壁江山。
在《封神演义》《小欢喜》《小女花不弃》等其余八部网台联播剧里,视频网站独播剧只有一部《招摇》,剩下七部为多平台分销版权的拼播剧。爱奇艺、腾讯押中的热剧最多,彰显了两家头部视频网站慧眼识珠的购剧本领。

今年剧集领域不再被流量演员垄断,十部热剧演员阵容呈现年轻演员、中生代、老戏骨三分天下的景象。从侧面折射出受众审美口味正多元化、理智化。
而爆款剧的造星能力再次应验,肖战、王一博、李现分别因《陈情令》《亲爱的,热爱的》跻身“顶流”阵营,倪大红因《都挺好》变身“老年流量”。新面孔对老面孔造成冲击,演员的流量江山再度洗牌。

这些热剧的幕后推手为资深+新锐影视厂牌和互联网影视公司分庭抗礼。既有正午阳光、华策、柠萌、新湃传媒,也有企鹅影视、爱奇艺的身影。说明视频平台介入影视产业链上游收效颇丰,同时在一定程度上改变了传统影视公司的竞争格局。
爆款剧的制作要领
相较去年,今年剧集市场一片繁荣,各类题材的网台剧都交出了爆款作。笔者以榜单中五部典型的全民向、圈层化爆款剧为观察样本,先在内容制作层面拆解爆款元素。
通常,卫视孵化全民爆款,视频网站培育圈层爆款,这已成为基本共识。
那么,何为爆款?
今年3月,SMG影视剧中心主任、东方卫视中心总监王磊卿在上海电视剧制播年会上提出了爆款剧的制作公式,即:爆款剧=崇尚原创+坚守匠心+规范制作+保持耐心。
若缩小至微观层面,爆款公式则变成:品质爆款剧=主流价值+热点话题+符合当下审美的超级人设+经典戏剧叙事模式+精美制作。其中,“经典叙事”必须满足流畅性、节奏性、纯粹性三个条件。这个公式适用于所有网台剧。
电视剧《知否》女主角盛明兰是生活在古代的新时代女性——时刻挣脱封建礼教的道德枷锁、对夫妻和婆媳之道有独到见解,为人处世遵循方圆规则。剧情一言蔽之,即包裹在古装外壳下折射出具有普世价值的现实主义内核。
《都挺好》对中国式家庭的人事物剖析得入木三分,镜像剧触及大众敏感神经,全民追剧水到渠成。《亲爱的,热爱的》通过青春剧的小切口挖掘爱国的大情怀,积极追梦的年轻人治愈了现世里的“社畜”们,展现符合新时代的精神风貌。

网剧《破冰行动》大尺度还原缉毒警察与毒贩斡旋的真实性,触目惊心的场景不仅带来感官刺激,更让人对这群孤胆英雄肃然起敬。《陈情令》以国风为破题点,借助中华美德构筑传承艺术,对年轻人寓教于乐。

可见,极致人设+普世价值的话题+生活流叙事模式,是现实主义题材容易出全民爆款的主因。
正如尼采提出的“酒神精神”——每个人都是自己平凡世界里的超人。影视剧为艺术载体,激发了被简化的生活表象,勾勒出普通人的浮世绘,唤醒他们的生命力。
这也再次反衬了悬浮剧的病灶——用苏格拉底提倡的“日神精神”粉饰人性、赞颂美好虚幻的假象、与人生本质相悖的“伪现实主义”,终将被摒弃。
而圈层爆款更像一场由点及面的攻坚战。找准内容和价值要素,一击即中便会触发“核裂变”。
成功的营销,助力优质剧出圈
如今是酒香也怕巷子深的时代,一部好剧离不开量身定制的营销策略,优质内容和精准营销是一部爆款剧的王牌。好的营销,势必会在网络端的话题度、传播度、搜索热度、反馈活跃度等方面引起极大反响,助力剧集出圈。
笔者根据云合数据的剧集全舆情热度年榜的前三甲——《陈情令》《亲爱的,热爱的》《都挺好》,梳理其营销策略,看口碑是如何发酵、甚至逆袭,一步步成为爆款的。

这三部剧辐射古装、偶像、都市三类剧种,对应耽改腐女、甜宠少女心、普通大众三个核心人群圈层,而且播出渠道有别,代表了三个不同的营销切面,具有参考普适性。
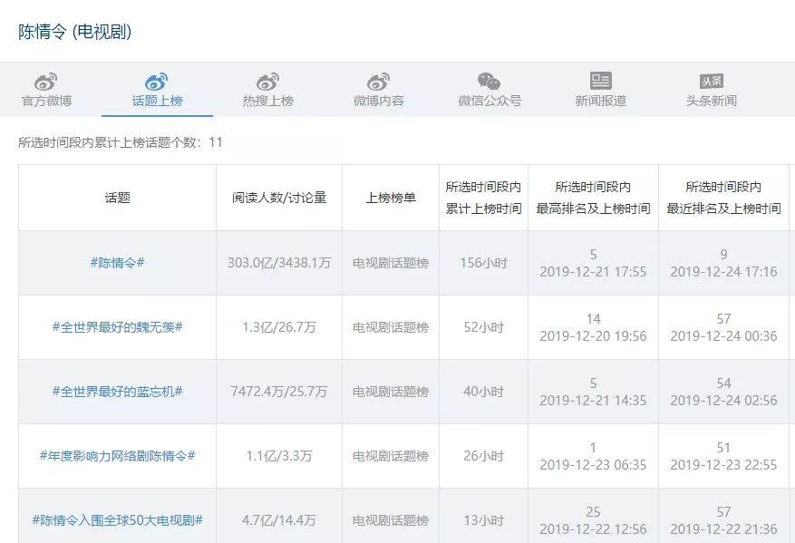
据云合数据监控的《陈情令》百度指数人群画像,剧集在播期间以30多岁女性为主,收官半月后受众结构发生骤变,20-29岁人群占比50%,95后、00后成为剧集主力军。

正是在同一时间区间,《陈情令》的豆瓣评分在一路逆袭到8分后,继续上扬、定格在8.3分。

《陈情令》播出平台为视频网站,缺少卫视加持,圈层属性明显。要破圈,唯有采取阶梯式的营销打法。
其受众画像的更迭,折射出出品方腾讯打透圈层式裂变的营销策略——走出以腐女核心圈层到重娱乐人群再渗透到大众出圈的传播路径,也决定了宣传矩阵的构建方向。
艾瑞近期发布的《2019年中国95后洞察报告》显示,抖音成为95后最常使用的短视频App,市占率高达88%。

因此,腾讯除了在追星女孩“大本营”微博上发起#陈情令沙雕应援事件#等话题固粉,并举办#陈情令101#打投活动,让火箭少女等101系选手亲自下场pick引发“博君一肖”的自来水效应外,还选择了抖音这一下沉渠道作为《陈情令》的另一营销阵地,甚至让网红主播李佳琦给陈情令联名款口红带货。
《陈情令》收官已有四个半月,但据云合数据监测的微博电视剧话题榜近七天榜单,#全世界最好的魏无羡#、#全世界最好的蓝忘机#的角色话题依然位列二三名。足见粉丝的长情,也证明了年轻演员因剧爆红的长尾效应。

在东方、浙江两大卫视联播的《亲爱的,热爱的》主打甜宠牌收割少女心,播出期间30岁+女性占比较大,收官后不到一个月受众转向年轻化,变成20-29岁的“网生代”。

与《陈情令》的二级受众群类似,因此两部剧的宣传渠道相近,以带有娱乐属性的社交和短视频平台为主。
《亲爱的,热爱的》衍生出“童颜夫妇”“上头了”“李现换脸洪世贤”等各种相关话题,开播9天70个话题屠榜微博热搜,轰炸式营销把男主角李现推到“七月男友”的位置,圈了一大波女友粉。
紧接着片方、艺人方、平台方在抖音重点发力,以实现破圈和拉新。除了常规花絮物料等宣传标配,还增加了与抖音红人合作,定制“佟年”、“韩商言”等角色互动短视频,用植入营销触达泛众,获取更大的流量池,成功推动该剧从小众题材走向大众。

与《陈情令》《亲爱的,热爱的》初期受众圈层为窄众不同,《都挺好》最大的优势在于与生俱来的大众性。寻常百姓的生活,应该如何营销,成为重头戏,也为花式营销奠定了基础。
《都挺好》的爆红,除了有浙江、江苏两大一线卫视和优爱腾作为媒介坚实后盾,还得益于出色的多维度话题营销、主演频繁互动、表情包刷屏、抖音短视频和借势出品方正午阳光的“名人效应”几大方面。
原生家庭、重男轻女、妈宝男、女权主义等戳中大众痛点的社会争议话题,本身就具备广泛强大的传播特质,加上主演下场配合,容易引发爆点,还催生出微博式追剧的新模式。不少情感类自媒体大号也充当自来水,为剧集营销添砖加瓦。

剧中角色苏大强的表情包更是以病毒传播之势在网络上掀起全民狂欢,从微博到微信,再到电商群,层层裂变覆盖全社交平台。之后再反哺剧集,达到现象级爆款。

另外,《都挺好》的受众由前期的女性为主变成中后期的男女比例均衡,也是该剧打破性别壁垒、走向全民化的标志之一。
今年关注度高的热剧,在商业模式上也做了新尝试,并逐渐探索出一套行之有效的变现手段,影响着年轻人的消费习惯,重构着消费场景。
据《2019年中国95后洞察报告》,今年最受95后欢迎的偶像包括易烊千玺、李现、肖战、朱一龙等人,他们都在今年交出了不俗的成绩。粉丝经济时代,偶像正变成消费品,报告显示有41%的95后为支持偶像有过消费。而购买代言产品、参加见面会等消费行为,也激活了剧集在版权费以外的多元盈利模式。

《陈情令》从会员付费超前点播、手游、网络大电影和综艺,到周边衍生品、音乐专辑、演唱会,线上线下同步割韭菜,最大程度开采剧集的商业价值。

《亲爱的,热爱的》李现帮自己代言且在剧中有品牌植入的商品带货;《都挺好》带火了拍摄地苏州市同德里和食荤者餐厅,刺激当地旅游经济。

《长安十二时辰》在播期间就让西安旅游上涨了30%,实现IP文旅联动……诸多案例,不胜枚举。
献礼大当道,“小”剧种夹缝求生
除了处于顶端的热剧,今年剧集市场的整体格局可以用一句话来概括:献礼剧、现实主义题材剧占据主流,古装、甜宠、悬疑、喜剧等市占率相对较小的剧种见缝插针、峭壁开花。
在献礼热潮下涌现的一批如《老酒馆》《芝麻胡同》《外交风云》《河山》等年代、历史、战争题材精品剧,因老戏骨群像戏的演员配置在网络端缺乏吸引力,但在电视端的收视率表现良好,口碑也不错。说明这类剧集调性厚重、受众群偏高龄的正剧,更适合在电视台播放。

而在网络端表现出众的剧,收视率却不一定很高,比如《知否》。从侧面反映了剧集与播出平台匹配,才能相互赋能。
继今年开年档、暑期档两大“黄金档”之后,年底古装剧再次回暖,陆续上线了《鹤唳华亭》《从前有座灵剑山》《庆余年》《大明风华》等多部古装剧,男女频皆有且风格迥异,但前者成绩好于后者。去芜存菁,可以从中得到些启示。
古装剧体量较大,动辄五六十集,如何保证受众中途不弃剧是关键。依托古代文本、融入新时代语境进行艺术创作,是古装剧与当下接驳的破题点。
比如融入软科幻、找到轻喜剧化表达的《庆余年》,凭“沙雕”出圈、玩转网感梗并打破次元壁的漫改剧《从前有座灵剑山》,植入仁义礼智信传统礼仪的《鹤唳华亭》,用合家欢消弭大女主光环的《知否》和《大明风华》,将海纳百川的盛唐画卷影像化的《长安十二时辰》……这些“新型”古装剧给屏幕带来一抹亮色,开辟了新文创的可能。

目光转向2019年豆瓣国产剧口碑榜,也能发现一些规律。
榜单前十剧集里网剧和电视剧、男性向和女性向均平分秋色,说明走精品路线的网剧正全面赶超电视剧,而且男性向剧正在强势崛起。

豆瓣高分冠亚军由台剧《我们与恶的距离》《俗女养成记》夺得,前者践行萨特“他人即地狱”的理论探讨人性黑白灰度,后者用生活流缓缓铺陈大龄剩女的日常。迥异的题材却殊途同归为现实主义内核。
上榜的网剧有《陈情令》《长安十二时辰》《宸汐缘》《我在未来等你》《庆余年》五部,其中因《庆余年》在腾讯、爱奇艺拼播,故豆瓣口碑榜中爱奇艺占3席、腾讯占2席、优酷占1席。
结合云合数据的年度热剧榜,其题材类型与豆瓣高口碑剧类似,但两个榜单重叠度较低,只有《陈情令》《小欢喜》《都挺好》三者一致。可见大多数情况下,剧集的网络热度与口碑并非正相关。
跨年钟声愈发临近,明年上百部国产剧已经蓄势待发。谁会是逆袭黑马,谁又会成为扑街代表?剧集市场是继续百花齐放,还是一枝独秀?时间将给出答案。


评论