记者 | 陈祺欣
春节过后,特斯拉概念股热度继续。
包括奥特佳(002239.SZ)、模塑科技(000700.SZ)、安洁科技(002635.SZ)在内的特斯拉概念股大面积涨停。

其中,公告称要与特斯拉开展业务合作的宁德时代(300750.SZ)连续两日逆势上涨。Wind数据显示,2月4日晚,宁德时代已超越贵州茅台(600519.SH),成为十二小时最热个股。

2月4日,宁德时代开盘后不久迅速封上涨停板。截至收盘,宁德时代报148.9元/股,涨停板上封单2.4万手,成交额52.84亿,总市值达3288亿,坐稳创业板一哥位置,远超迈瑞医疗2431亿的市值。

宁德时代于2月3日早间公告称,公司将与特斯拉开展业务合作。
“公司拟与Tesla,Inc.以及特斯拉(上海)有限公司(以下合称‘特斯拉’)签订协议,公司将向特斯拉供应锂离子动力电池产品,供货有效期限为2020年7月1日至2022年6月30日,具体的采购情况特斯拉会根据自身需求以订单方式确定,协议未对特斯拉的采购量进行强制约束,最终销售金额须以特斯拉发出的采购订单实际结算为准。”宁德时代表示。
目前,宁德时代、Tesla,Inc.已签署该协议,尚需特斯拉(上海)有限公司签署。
受此消息影响,2月3日,宁德时代股价逆势上涨,盘中一度逼近涨停。3日收盘,宁德时代股价135.36元,涨3.67%。龙虎榜数据显示,深股通当日买入约23亿,同日卖出9.84亿,一机构买入2.5亿。买入前五席位合计买入32.7亿,卖出前五席位合计卖出42.83亿。

宁德时代2月3日的成交额为71.49亿元,在当天的全部A股中排名第三,仅次于中国平安(601318.SH)和贵州茅台。
龙虎榜净买入金额前三的营业部是深股通专用、财通证券杭州解放东路营业部、粤开证券重庆分公司,买入金额最大的个股分别为宁德时代、宁德时代、安洁科技,所对应的买入金额分别为22.99亿元、3.7亿元、1.66亿元。
净买入金额前十的席位中,有三个席位买入金额最大个股为宁德时代,分别是深股通专用、财通杭州解放东路、国君上海江苏路。
2月3日晚间,宁德时代发布股票交易异常波动公告称,根据协议,特斯拉没有责任和义务必须购买公司产品,未对产品采购量进行保证,后续特斯拉将通过订单方式提出采购需求。因此协议对公司未来经营业绩的影响具有不确定性,提请投资者关注相关风险。
宁德时代还表示,若新能源汽车产业政策退坡超过预期或相关产业政策发生重大不利变化,可能会对其经营业绩产生不利影响,此外,动力电池行业市场竞争日益激烈,如果未来市场需求不及预期,市场可能出现结构性、阶段性的产能过剩,公司未来业务发展将面临一定的市场竞争加剧的风险。
2月4日,宁德时代依旧延续前一日上涨态势,开盘不久迅速封上涨停板。有报道指出,知名游资赵老哥的常用席位中国银河证券绍兴现身买方第二位。
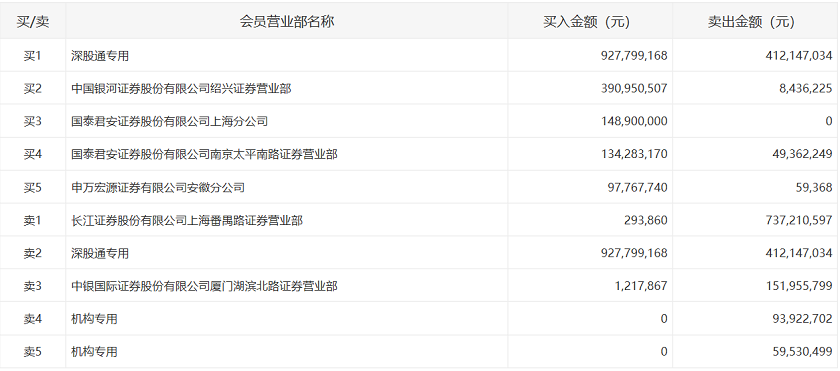
盘后数据显示,深股通继续买入9.28亿元并卖出4.12亿元,中国银河绍兴营业部买入3.9亿元。卖出第一席位依然是长江上海番禺路,卖出金额7.37亿元,前一日长江上海番禺路卖出金额11亿元位列宁德时代卖一席位。此外,国君南京太平南路当日继续买入宁德时代1.34亿元,两机构席位卖出近1.5亿元。买入前五席位合计买入金额17亿元,卖出前五席位合计卖出14.55亿元。

结合宁德时代两日龙虎榜数据来看,买入前五席位中,国君上海江苏路、国君南京太平南路、中国银河绍兴营业部均为知名游资的常用席位,以深股通为代表的北上资金更是大举买入,有分析认为这对投资者有一定借鉴意义。不过也有市场分析人士指出,从龙虎榜来看,宁德时代存在出货的迹象,不排除有资金在做局。
同样受到带动的还有动力电池板块。2月4日,当升科技(300073.SZ)、恩捷股份(002812.SZ)等板块个股均迎涨停。

2月3日,特斯拉在美股市场亦大涨19.89%,股价升至780美元,创下2013年以来的最大单日涨幅,总市值达1406亿美元。2月4日,美股开盘后不久,特斯拉股价即冲过900美元,今年累计涨幅超100%。



评论