记者|梅岭
2月21日,乾照光电(300102.SZ)收到深交所创业板公司管理部下发的关注函。
乾照光电股价自2020年2月5日起持续上涨,至2月20日累计涨幅达到87.40%,超出同期创业板综指涨幅19.74%,期间两次达到股价异动标准。同时,2月20日晚间,公司在股价异动公告中表示,拟筹划非公开发行股票事项。
而从2月5日至2月21日,在13个交易日内,乾照光电后面6个交易日连续涨停,累计涨幅达到106.17%,远超所在板块27.20%的涨幅。2月21日收盘,乾照光电报8.02元/股,总市值56.7亿元。
关注函对此表示关注,要求公司说明筹划再融资事项的具体时点及详细进展。并且,乾照光电在2月17日披露的异动公告中称不存在筹划重大事项,然而,2个交易日后,公司便开始筹划再融资事项。
2月17日,乾照光电在股价异动公告中明确表示:公司目前没有任何根据有关规定应予以披露而未披露的事项,或者与该事项有关的筹划、商谈、意向、协议等。公司前期披露的信息不存在需要更正、补充之处,公司未发现公共传媒报道可能或已经对公司股票交易价格产生较大影响的未公开重大信息。

然而,到了2月20日,乾照光电公告称,公司于2月19日召开会议讨论了公司启动再融资事项的可能性及必要性,综合考虑再融资新规的规定,公司发展现状及未来的资金需求,公司决定筹划非公开发现股票事项。但数量、方案尚不确定。
深交所要求公司说明,是否存在选择性信息披露,及利用筹划再融资事项炒作股价的情况。并要求公司核查董事、监事、持股5%以上股东,近一个月是否存在买卖公司股票的行为,是否存在涉嫌内幕交易的情况。
此外,1月23日,公司披露《2019年业绩快报》,预计2019年亏损2.62亿元-2.67亿元,深交所要求结合公司2019年业绩下滑的具体原因,说明2020年以来的经营情况以及公司基本面是否发生重大变化。
公司发布的2019年业绩预告表示,预计去年公司亏损,原因为LED芯片市场价格下降,毛利率同比下降所致。此外,乾照光电南昌项目2019年经营亏损约1.6亿元,政府补助同比下降,也对净利润产生一定影响。
对于前述关注函,乾照光电需要在2月25日前进行回复。
2月17日、2月20日,乾照光电两次登陆深交所盘后龙虎榜。
2月17日,公司因异常期间价格涨幅偏离值累计达到21.55%,成交金额5亿元登陆龙虎榜。华泰证券股份有限公司辽宁分公司当日买入1558.9万元,位列买入第一,卖出1736万元,同样位列卖出第一位。

(图片来源:深交所)
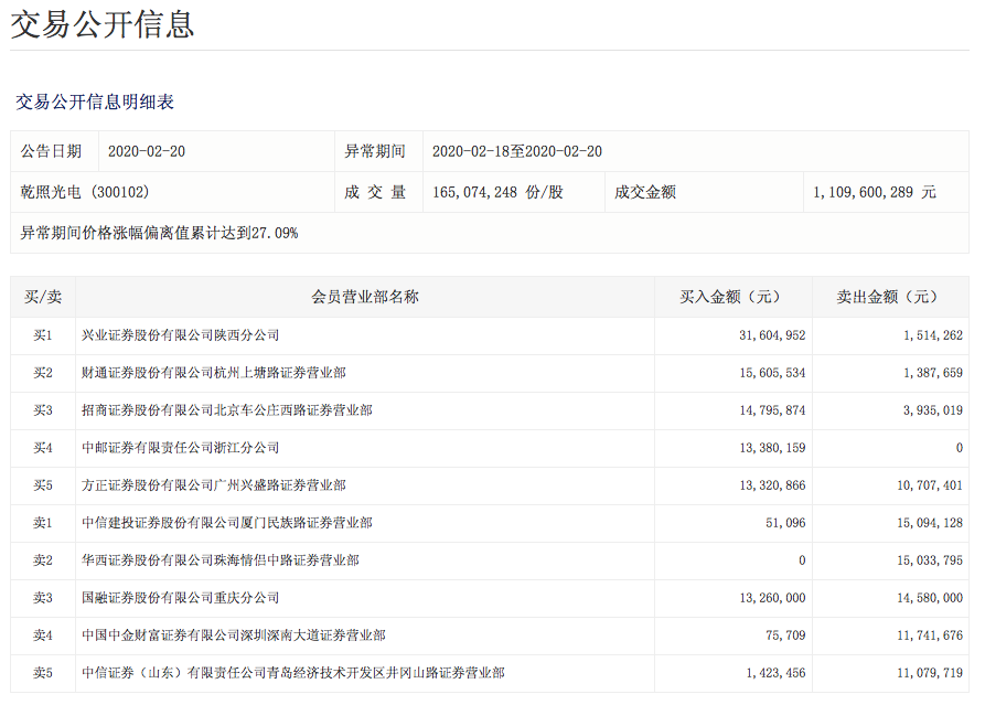
2月20日,乾照光电因异常价格期间涨幅偏离值累计达到27.09%登陆龙虎榜。成交金额达到11.1亿元。兴业证券股份有限公司陕西分公司当日买入3160.5万元,位列买入第一,中信建投证券股份有限公司厦门民族路证券营业部当日卖出1509.4万元,位列卖出第一。

(图片来源:深交所)
值得注意的是,近期,乾照光电财务负责人彭兴华因个人原因辞职,2019年年底,公司副总经理严希阔辞职。
乾照光电主营业务为半导体光电,占公司主营收入比例99.04%。新片及外延片占总收入比例的98.84%。
在去年12月,乾照光电接受机构调研时候表示:近年行业供过于求,芯片价格出现大幅下滑,芯片厂商多数需面临盈利大幅度下滑的问题。目前芯片价格下跌趋势有所放缓,市场逐渐进入底部,但短期内供求关系不会大幅度改善。整体产能利用率在85%以上。



评论