记者|梅岭
双塔食品(002481.SZ)3月3日盘后发布非公开发行股票预案,公司本次非公开发行股票数量为3.73亿股,募集资金总额为21.5亿元,扣除发行费用后全部用于万吨白蛋白提取综合加工项目、万吨豌豆功能低聚糖提取加工项目、豌豆精深加工综合利用项目、补充流动资金。

(图片来源:双塔食品非公开发行股票预案)
此次非公开发行股票完成后,招远君兴农业发展中心直接持有本公司的股权比例预计不低于26.93%,招远君兴农业发展中心仍为公司控股股东,招远市金岭镇人民政府仍为公司实际控制人。因此本次非公开发行股票不会导致公司控制权发生变化。
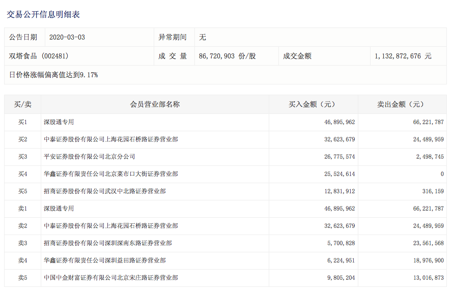
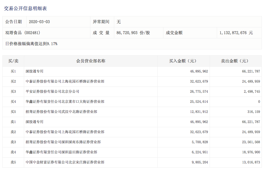
3月3日,双塔食品尾盘封涨停,报13.65元/股。因日价格涨幅偏离值达到9.17%,双塔食品盘后登录深交所龙虎榜。从盘后数据来看,深股通专用席位当日买入4689.6万股,卖出6622.2万股,位列买入、卖出第一席位。

(图片来源:深交所)

双塔食品在2月24、2月25、2月27日连续三天登录深交所盘后数据龙虎榜,三个交易日成交金额达到64.32亿元。从上述三个交易日龙虎榜数据来看,深股通专用席位交易频繁。
三个交易日内,深股通专用席位合计买入双塔食品2.53亿元,合计卖出2.56亿元。
2月20日,双塔食品在接受机构调研时表示,高端豌豆蛋白的每吨售价在2500美元-6000美元不等,平均每吨售价3000美元。未来公司将通过自建或合作的方式不断扩大豌豆蛋白的产能,目前公司豌豆蛋白的产能占全球豌豆蛋白总产能的30%-40%,未来将进一步提升,不断巩固公司在行业中的龙头地位。
2月25日,双塔食品宣布全资子公司君邦商贸于2月24日与Beyond Meat 签署了85%豌豆蛋白销售合同,首批豌豆蛋白采购量为628320磅(约285吨)。
Beyond Meat被称为美国“人造肉上市第一股”,于2009年创立,其产品在全球3.2万个网点销售。双塔食品早在2019年6月宣布公司的蛋白原料通过经销商供应给BEYOND MEAT,1月15日,BEYOND MEAT相关高管曾前往双塔食品进行交流。
双塔食品豌豆原料采购主要来自加拿大,2020年3月起,公司原料采购范围将延展至俄罗斯、土耳其。公司此前表示不存在原料采购风险。
目前双塔食品豌豆蛋白的年产能共计7万吨左右,其中4万吨为高端蛋白产能,3万吨为低端蛋白产能。此外,植物蛋白肉已经纳入双塔食品发展战略中,公司植物蛋白肉产品有明显的价格优势,多项新产品正处于测试阶段。
目前,双塔食品豌豆蛋白产能全球占比约30-40%,天风证券表示:在人造肉行业高速发展态势下,未来公司将不断扩大产能以应对市场需求,进一步提升市场份额,实现产品质量、规模同步提升。
根据2019年业绩快报,报告期内,双塔食品实现营业总收入21.22亿元,较上年同期下滑10.82%,归属于上市公司股东净利润达2亿元,较上年同期增长117.38%。



评论