文|GPLP 沙拉酱
3月10日上午,地产大佬潘石屹的SOHO中国(00410.HK.)在10时50分股价快速抬升,10分钟股价涨超30%。11时12分,SOHO中国停牌,涨37.58% ,报4.10港元/股,最新市值 213.18亿港元。
3月11日,SOHO中国依然处于停牌状态。
化整为零抛售资产,私有化传闻再起
SOHO中国停牌引起市场怀疑,随即,有传闻称黑石集团拟40亿美元私有化SOHO中国。

据知情人士透露,黑石集团正与SOHO中国就后者私有化展开谈判,交易价值达到40亿美元。此外,黑石集团或将接管SOHO中国的债务,潘石屹夫妇在与黑石集团达成交易后仍保留少量股份。
对此,SOHO中国方面称会发布相关公告,一切以公告为准。
2006年至今,SOHU中国累计实施分红12次,累计现金分红达到207.78亿元,潘石屹及其夫人张欣持有该公司63.93%股权,以此计算累计到手分红132.83亿元。
近几年,SOHO中国出售资产的小动作不断,化整为零逐渐出清部分资产。2014年,SOHO中国售卖了上海SOHO海伦广场、SOHO静安广场等物业,总价82.8亿元;2015年通过股权转让,将上海外滩国际中心8-1地块50%权益卖给复星,总价84.93亿元;2016年卖掉了上海SOHO世纪广场,总价32.2亿元;2017年出售上海虹口SOHO及凌空SOHO剩余物业面积,总价85.8亿元。2019年以7.61亿元出售北京9个商业项目,此外还列出了出售清单,资产达78亿元。
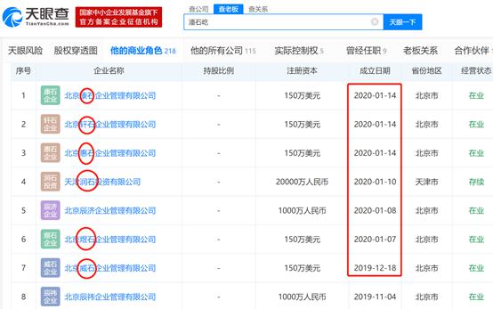
2月内注册6家外资身份的“石系列”公司,父子疯狂购买海外资产
据天眼查数据显示,2019年12月至2020年1月份,潘石屹快速注册了7家公司,6公司名字中都一个“石”字,且均以美元出资,股东身份疑似在中国香港或海外。

自2011年开始,潘石屹夫妇就以海外信托的方式大量购置海外资产,先斥资7亿美元购置纽约曼哈顿广场旁的港务局长途巴士站大楼,后花费6亿美元收购曼哈顿公园大道广场49%股权,再接着耗资7亿美元联合巴西财团收购美国通用汽车大厦40%的股权。
潘石屹长子潘瑞也在英国成立了Estates房地产公司,拥有多个大型地产项目。
此前,面对转移资产的问题,潘石屹曾在北京丽泽SOHO签约仪式上回应:“千万不要相信谣言,我现在拿的是中华人民共和国的护照。老是说我跑了跑了,这都是谣言,跑不了的。”
不过,潘石屹这一系列资产操作之后,在内地还剩下多少资产?一切还不敢定论,有待进一步求证,GPLP犀牛财经会持续关注。


评论