记者 |
编辑 | 牙韩翔
黄色招牌上,红色字体的“鲍师傅糕点”店铺比起旁边的味多美烘焙店更引人注目,这家位于北京西大望路沿街的店铺窗口还飘出了肉松香味。这是鲍师傅最经典的产品之一,不过这家店铺并不是真正的鲍师傅。
3月13日,界面新闻记者向窗口内的店员询问是否加盟店,最初店员坚称该店为直营店,后又告诉界面新闻,鲍师傅早已不接受加盟。对于该店是否是早期山寨加盟店的质疑,店员闭口不言,但店内商品名字如奶香提子酥、肉松小贝等,均为鲍师傅的经典产品,就连商品的购物袋上仍然列了鲍师傅在北京的分店名字和电话。在界面新闻停留的十多分钟,该店时不时有顾客从窗口购买糕点。
店内工作人员如此小心谨慎,是因为“鲍师傅糕点”这几个字的招牌让其心虚。实际上,这家店在点评网站和外卖平台上的名字是“鲍记糕点”,因为真正的鲍师傅通过法律维权获得胜诉之后,山寨鲍师傅的加盟店要么更名,要么闭店。
过去一年,操控山寨鲍师傅背后的公司早已浮出水面——北京易尚餐饮管理有限公司。

但这家神秘的公司并不好寻找,界面新闻按工商信息上的注册地址实地探访得知,位于北京丰台菜户营58号1102的地址并不是其办公地址,只是注册地址。
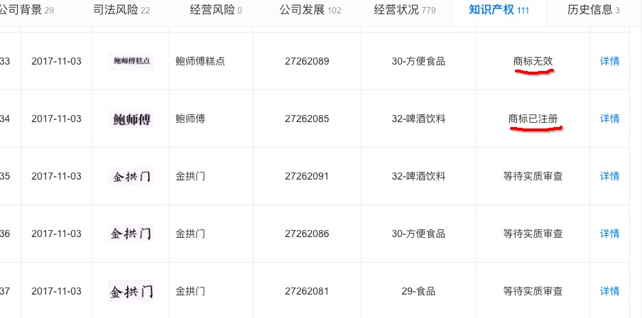
易尚公司的套路很明确,对一些具有初步知名度或者网红潜质的餐饮类、烘焙类品牌进行注册,例如围绕鲍师傅品牌,该公司申请了鲍才胜、鲍师傅、鲍家、鲍小贝等商标注册,“广撒网”后部分注册可以获得商标授权,同时加大研发产品,随之展开加盟。易尚甚至连电视剧“花间提壶方大厨”都尝试了商标注册。
除了鲍师傅商标,易尚餐饮在2017年还对乐乐茶、金拱门、脏脏包、原麦丰收、爸爸带甜心等一系列商标和图形申请注册,目前注册详情中显示商标无效或等待实质审查。
对于已有商标,易尚餐饮还通过转让方式获得,在其与鲍师傅商标持有人北京鲍才胜餐饮管理公司的多起诉讼案件中,提及一个具有争议的17899096号注册商标(鲍海兵头像图),就是易尚餐饮从自然人鲍海兵处购买,2017年获得转让通过。
此后,易尚也是以17899096号注册商标为经营资源通过授权加盟方式授权他人经营鲍师傅糕点店,并声明其为“鲍师傅”品牌全国唯一运营总部。
尽管2018年10月8日,国家知识产权局商标评审委员会下发裁定书,北京易尚餐饮管理有限公司第17899060号“鲍师傅Bao Shi Fu及图”商标被裁定无效,易尚餐饮的加盟店发展并未停止。在由易尚餐饮认证的微博“鲍师傅餐厅”置顶的信息中,截至2019年6月,宣称拥有鲍师傅的商标和头像权,易尚餐饮发展的鲍师傅加盟店已经多达550家。
2019年3月,北京鲍才胜餐饮管理公司在品牌维权诉讼案件中获胜,涉及南京、苏州、北京的有7起诉讼中均判定被告商标侵权,随后,鲍师傅公司与大众美团平台合作,对山寨鲍师傅门店数据进行了下架、清除处理。
2019年7月,易尚餐饮的微博停更。鲍才胜的维权持续进行,截至2019年12月,鲍才胜公司对北京易尚加盟店进行证据保全的有162家,立案147家,现判决和调解结案的已达61家,鲍才胜公司全部胜诉,全部由被告停止侵权并赔偿损失。
这其中,加盟时间短、尚未度过亏损期的加盟者变为受害者,且处于无处维权的境地。
3月13日,界面新闻在北京西四环附近走访中看到,一家山寨鲍师傅门店使用了已被裁定侵权的鲍师傅头像,该店所属的丰合众恒(北京)商贸有限公司电话无人接听。
山寨鲍师傅总算告一段落,但这类操作并未停止。
另一家与易尚餐饮操作套路相似的公司——北京甲东餐饮有限公司(下称“甲东餐饮”)也正在大力发展另一个小网红品牌的加盟。
颇为巧合的是,甲东餐饮与易尚餐饮有诸多关联之处,除了这两家公司使用了同样的注册地址和电话外,他们都注册了原麦丰秋、甜心爸爸、栗记、鲍师傅等餐饮品牌。
界面新闻按注册信息电话致电易尚餐饮,接听者称,目前因疫情易尚处于暂停状态,甲东餐饮公司是其朋友开设,问及鲍师傅,该人员以自己已离职为由挂掉电话。
甲东餐饮目前发展加盟的栗记仙豆糕与山寨版鲍师傅初期套路类似——于2017年10月获取栗记、栗记仙豆糕两个商标权,2019年3月参加广州特许连锁加盟展、5月参加上海国际连锁加盟展,开始吸收加盟者,2019年5月,加盟店在山东枣庄、临沂市临沭县开业。
此时,2016年自北京南锣鼓巷火起来的栗记仙豆糕创始人之一的王玉正因商标权一筹莫展。
王玉在接受界面新闻的采访中表示,他和妻子栗璐燕2015年从鞍山来北京创业,以栗璐燕的姓氏开设了“栗记”麦香坊仙豆糕门店。曾经在南四环大红门开店受挫后,调整至鼓楼东大街附近的南锣鼓巷开店,直到2016年底才小有名气,到2017年已经成为南锣知名网红美食了。
此前并无知识产权意识的王玉夫妇,到2017年底才开始找注册代理公司对“栗记”进行注册,结果被代理公司告知,栗记和仙豆糕均无法注册。随后他们委托朋友注册了“栗记麦香坊”品牌,再将该品牌转让至自己公司,栗记麦香坊未获取注册之前,他们曾借用朋友的“草之楼”商标短暂使用过。
界面新闻查阅注册号26884474的栗记商标发现,甲东餐饮在2017年10月开始申请,并于2019年1月获得核准,该商标属于第30类,包含面包、糕点、包子、馅饼等子类。
这意味着,王玉、栗璐燕的栗记无法再使用“栗记”字形和字体,他们用店铺品牌“栗记麦香坊”来发展加盟店。由于栗记麦香坊知名度更高、加盟费少(低线城市4万元),栗记麦香坊已经在全国吸引了将近100个加盟者,并在部分区域进行区域授权,加盟者可以来北京总店学习。
从甲东餐饮的“栗记仙豆糕”和王玉的“栗记麦香坊仙豆糕”对照看,二者中的栗记字体类似,产品高度相似。但王玉坦承,餐饮行业的抄袭和模仿数不胜数,就连自己过去的徒弟也在全国以栗记仙豆糕名义招商加盟。他想过像鲍师傅那样通过法律诉讼途径维权,但这一历程必定艰难曲折,所以诉讼的计划还未被他提上日程。
北京律众律师事务所副主任吴萌向界面新闻分析,如果恶意注册者提前抢注,善意提前使用者可以向商标登记部门提出异议,表明自己是“使用在先”(比如开店时间、店铺数量、实际使用商标的照片、印刷资料),同时提供对方恶意注册的证据(比如对方多次注册他人已使用商标,并且没有任何实际使用这些商标的证据)。
“目前中国的商标法律对于恶意注册商标者是有对应措施的,那些已经使用了商标并具有一定知名度但没有注册,却被别人恶意抢注的情况,可以在一定程度上得到法律保护。”吴萌说。
消费者报告将成为一个常设专题,下载界面新闻APP即可找到投诉入口,告诉我们您遇到的问题。



评论