记者|梅岭
刚被证监会立案调查的豫金刚石(300064.SZ)4月9日晚间发布2020年第一季度业绩预告,在2019年全年预亏51.52亿元背景下,2020年一季度,豫金刚石预计亏损4800万元-5300万元,较上年同期盈利3393.92万元继续处于大幅亏损的状态。
公司方面表示,一季度公司预计亏损的主要原因为受新型冠状病毒肺炎疫情影响,公司人造金刚石单晶及大单晶产品收入较上年同期下降,毛利率也较上年同期下降,导致公司主营毛利较上年同期减少。
公司2020年第一季度预计非经常性损益对净利润的影响金额为67万元。同日,由于公司股价跌幅较大,豫金刚石在4月9日晚间发布股票交易异常波动的公告,请投资者注意投资风险。
豫金刚石股票交易价格在4月7日、4月8日、4月9日收盘价格跌幅偏离值累计超过20%,属于股票交易异常波动。 关于公司生产经营情况,豫金刚石表示,新冠肺炎疫情期间,公司全力做好疫情防控,截至目前,公司日常生产经营正常。
4月9日,豫金刚石股价报收2.46元/股,下跌2.77%。在今年2月27日,豫金刚石盘中股价达到4.43元/股,之后股价接连下挫,从2月27日至今,豫金刚石股价累计下跌幅度达到40.15%,远超大盘同期9%的跌幅。

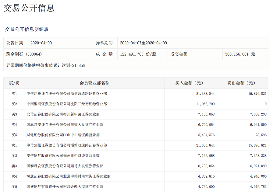
从盘后数据来看,4月9日,豫金刚石因异常期间价格跌幅偏离值达到-21.85%登上深交所龙虎榜,4月7日-4月9日期间,公司成交金额达到3亿元。

(图片来源:深交所)
中信建投证券股份有限公司淄博政通路证券营业部在此期间买入2133.39万元,卖出1587.68万元,中国银河证券股份有限公司沈阳三经街证券营业部在此期间买入1105.37万元。
豫金刚石以超硬材料为主业,目前公司已形成的系列产品包括人造金刚石单晶(含人造金刚石普通单晶、 大单晶金刚石)及原辅材料、培育钻石饰品、 微米钻石线、超硬磨具(砂轮)等产品,可广泛应用于机械石材、电子电器、光学器件及宝石加工、半导体硅切片等传统应用领域,以及珠宝首饰、艺术品、国防军工、航天航空、装备制造、电子技术、医疗器械等新兴应用领域。
截止到2019年,豫金刚石公司产品销售以国内市场为主,国际市场为辅。在国内市场,公司主要采取直销模式,通过总部销售人员以及在福建、江苏、广东、广西等主要人造金刚石销售市场设立的十余家销售办事处实现产品销售;在国际市场,公司采取直销和代理销售相结合的销售模式。
截至2019年上半年,超硬材料占公司主营收入的77.54%,为公司的核心业务。截至2018年年底,国内市场占公司主营收入比重的99.14%,国外市场占比仅为0.86%。
1月18日,豫金刚石发布的2019年业绩预告中,预计公司去年盈利6743.8万元至9634万元,2月29日,公司披露的业绩快报中,2019年净利润定为盈利8040.34万元。
然而,4月3日,公司披露业绩预告及业绩快报修正公告,将2019年预计净利润修正为巨亏51.52亿元,令市场哗然。
因涉嫌信息披露违法违规,4月7日晚间,豫金刚石收到中国证监会立案调查通知书,同日,豫金刚石收到中国证监会河南证监局下发的《关于对郑州华晶金刚石股份有限公司和相关责任人员采取出具警示函措施的决定 》。



评论