据中国执行信息公开网消息,翼龙贷运营主体北京同城翼龙网络科技有限公司被列为被执行人,立案时间4月23日,执行标的13.6万元。

官网介绍显示,北京同城翼龙网络科技有限公司(简称“翼龙贷”)是联想控股成员企业,是专注“三农”的互联网金融平台。目前,翼龙贷业务已覆盖全国1200余个区县及数万个村镇,帮助近48万户次“三农”家庭、个体工商户及小微企业获得有效的资金支持。
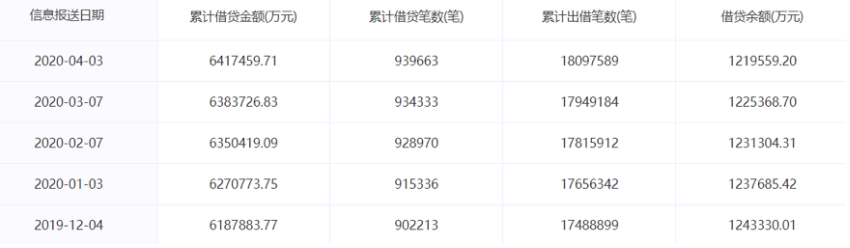
运营数据显示,截至3月31日,翼龙贷累计借贷金额641.75亿元,借贷余额121.96亿元,累计代偿金额18.69亿元,逾期金额及笔数均为0。

2017年央行等十七部门联合印发《关于进一步做好互联网金融风险专项整治清理整顿工作的通知》,提及要实现互金从业机构数量及业务规模双降。2018年12月,北京市副市长殷勇提出让北京地区互联网金融平台实施降余额、降人数、降店面“三降”。在“三降”大环境之下,从中国互金协披露的数据来看,翼龙贷近几个月借贷余额环比下降在0.5%上下。

中国互联网金融协会官网显示,联想控股(天津)有限公司为其第二大股东,持股比例33.33%。此外,西藏达孜信德投资管理有限公司持股52.32%,西藏达孜万融投资管理有限公司持股14.12%。
据天眼查,信德投资由翼龙贷创始人王思聪控股,其同时为同时为国家互联网金融安全技术专家委员会委员、北京市网贷行业协会秘书长等,万融投资大股东赵洋为翼龙贷监事会主席。2019年2月,达孜万融持有的部分股权被出质,出质股权数额999.96,质权人联想控股股份有限公司,目前状态仍有效。


评论