文|金错刀频道云摇
从没有哪个明星,能短短两个月被历史铭记好几次!
60天前,肖战的粉丝扛起举报的大旗,凭一己之力,把自家爱豆炒糊,还搞倒了曾获雨果奖的文学网站AO3。
60天后,肖战的粉丝携新专辑《光点》,给音乐界也留下了历史性时刻。
首先是评分,10分满分,即使贝多芬在世也不过如此了。

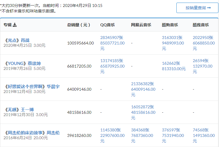
再看销量,24小时就打下全网单曲销量和销售额两个第一。
当日突破2000万张,一举超越了风头正盛的蔡徐坤和华晨宇,
3块钱的专辑,24小时销售额破7000万,要知道周杰伦2006年的《周杰伦的床边故事》36小时破1000万就已经被称为奇迹了。

在销售额破亿的同时,肖战又#喜提文化月刊#,检查日报5篇文章,光明日报、新京报、三联周刊、人民日报、解放日报轮番评论,这排面前所未有。

而这些都“归功”于肖战背后的粉丝们。
他们一边说自己用爱发电,一边明明白白告诉你什么是资本的力量。
1、最惨偶像,靠被骂火出圈
肖战是名副其实的成也粉丝,败也粉丝。
肖战的粉丝到底有多宠偶像?
去年夏天肖战因出演《陈情令》的肖战爆火,与此同时火的还有他和王一博的“博君一笑”CP人设。
因为一篇同人文《下坠》,阵营里的肖战唯粉(只喜欢肖战的粉丝)和肖战王一博CP粉丝(同时喜欢两人的粉丝),为了维护自己心目中的偶像,两边开启了一场内战。
在进行了一波有组织有纪律的举报后,彻底帮助自家偶像出圈。自此,肖战火成了了“全民公敌”。
成了B站爱好者+同人文创作者+从此断粮的同人文读者+其他小众文化爱好者+路见不平的吃瓜群众等人眼中“黑红”的偶像。
这波操作后,肖战的作品被刷一星,《陈情令》评分从8.2降到7.9,代言被撤,受损严重。
在大家都以为肖战糊了的时候,他又携新专辑《光点》回归。
这次新歌发布,宠偶像心切的粉丝们,想用销量来证明肖战的人气。
于是,在肖战粉丝圈里出现不少催销量的发言。
粉丝间互相打鸡血的场景下,让“量力而行”有了新的定义。
量力而行≠买个十张八张意思意思,量力而行就是让你尽最大的努力!
能买100张就咬咬牙买300张!

先定个小目标,人手达到105张,不过是一件衣服的钱,不过分吧?”

如果购买少,就会被质疑:“买一两张你和路人有什么区别?”、“一支口红钱你都不愿意吗?”
“105张,一支口红的钱”仿佛成了口号,而这只是学生党的门槛,社畜们千张起步。
在粉丝们的努力下,肖战的专辑,成了屠榜般的存在。

什么叫流量巨星?
2000万销量,中国14亿人,平均每70个人里就听肖战的歌,这就是粉丝们想要的效果。
但2000万销量的背后,到底有多少未成年人掏空了自己本就不宽裕的钱包?甚至是家长的钱包?
有网友说,他即将中考的表妹,为了支持肖战的新歌向他借钱3000块。

还有人用助学金也要买。

因此专辑爆火的同时,肖战再次被粉丝们推上了风口浪尖,又一次因为被骂出圈。
2、90万买几首歌,粉丝太疯狂
为追星疯狂花钱的现象,不止是肖战一家,为什么就肖战败光了路人缘?
原因就一点:粉丝太疯狂!
粉丝为偶像的作品买单由来已久,往前倒10年,在快乐男声女声的时代里,李宇春、张靓颖等艺人的粉丝为了支持销量而成箱成箱地购买实体专辑。
在唱片二、三十一张的时候,粉丝直接买个100来张是很正常的,官方后援会也会买上万张,歌迷在街头给过路人发专辑去安利自己的偶像。

粉丝重复购买专辑的行为,是大数据时代和粉丝经济时代所催生的。
粉丝花的钱能转化为偶像的战绩,成为偶像的商业价值的佐证,这样的行为当然是势不可挡的。
但它不应该成为一种强制行为,甚至是道德绑架。
现在很多流量明星粉丝的应援路径是这样的:
1.先彻底跟路人决裂。
不是我家爱豆的粉丝就是敌人,很多粉丝根本不在乎所谓的路人缘,得罪偶像的都是敌人。
像举报ao3事件,本来对肖战根本不了解,或者本来很好好感,但因为粉丝们的自我意愿,将很多圈外人得罪了个遍,使得很多圈子外的人反过来对肖战骂声一片。
2.对部分理智粉不管不顾。
现在饭圈的原则是,爱偶像就要全心全意,为了偶像的事业拼尽全力,所谓的理智就是不爱的表现。
像这次为肖战打榜中,有人劝说要理智追星,量力而行,却被追在屁股后面骂。

这已经是赤裸裸的道德绑架了,很多人只是单纯的喜欢偶像,喜欢他的作品,在这种粉圈文化下,不是为了表忠诚狠心割自己,就是无奈退圈。

追星可以花钱,但是饭圈以爱之名裹挟所有粉丝必须花钱的行为,对偶像来说真的是好事吗?
3.集中精力收割韭菜。
如今粉圈里,所谓的流量的力量,归根结底是考验人“花钱的力量”。
在如今的粉圈里,身为粉丝,就要真金白银的给偶像花钱,精神支持,默默关爱的,是要被鄙视的。
而这也成了流量明星割韭菜的重要手段,像这次肖战的新歌,是要先付钱才能听的。
不听歌怎么评分呢?
那不管,先掏钱。
这一系列操作,能看出粉丝的凝聚力,但同时也能感知,粉圈,是真的发疯。粉圈这种自我牺牲的精神,自然会引起不小的社会争议。
像这次尽管肖战工作室就发布微博呼吁粉丝理性消费,但肖战和他本就备受关注的粉丝群体还是再次陷入了“饭圈原罪”的怪圈。
上一次因为给粉丝打榜,而引起社会热议的人还是蔡徐坤粉丝和周杰伦粉丝的那场大战。
因为一篇帖子质疑周杰伦的流量能力,“夕阳红粉丝团”揭竿而起,开始从头学习打榜。
原本只是周杰伦粉丝内部的战役,最后成了周杰伦的粉丝和新时代顶级流量的Battle,最终发展成了一场全民狂欢。

除了周杰伦粉丝,还有大批路人、媒体大V、企业官微、明星艺人纷纷加入,一起参与了这场“周杰伦打榜战”。
这场粉丝的较量虽然也火出圈,引起广泛关注,但归根结底还是在音乐圈里,而肖战的粉丝,却直接把肖战推到了社会问题层面。
当一件事情能在圈内解决的时候,那么它只是一件平常的小事,但是一旦这个事情被推到了社会的台面上,那就没有人能控制的住了。
当粉丝和群众站到了对立面,各自为营互相攻击,而这其中受害的,也仅有偶像本人。
3、割韭菜,还是饭圈的刀快
粉圈看似在狂欢,其实不过是被割的韭菜。
在这一场场声势浩大的粉丝战斗中,粉丝是赢家吗?
当然不是,背后不过是流量的红利和资本的力量。
自从有流量明星,粉丝经济快速发展。
粉丝把自己活成了机器人,不停轮博、刷榜,为的是那些足够突出的数据成绩,在为偶像带来声名的同时,收割的还是钱。
流量明星似乎不断在更新换代,但流量明星的粉丝们为偶像花钱从未停止。
几年前,王俊凯十八岁生日的粉丝应援就壕出天际。
有无人机应援在天空摆出K字样,也有认领18颗星星,刚好连线成王俊凯名字首字母。

在纽约时代广场,为偶像买个版面庆生更是家常便饭,像TFboys、张艺兴、蔡徐坤、郑爽等很多明星都登上过。

现在流量明星除了看数据,剩下的就靠粉丝“拿钱说话”。
爱豆代言新产品了,粉丝快速购买晒单、比销量战绩。
爱豆发全新单曲了,粉丝快速购买冲销量,争取达到榜单第一。
爱豆上杂志封面了,粉丝还是快速购买,努力刷销量纪录。
动辄几十万、几百万的销售额背后,考验的就是粉丝砸钱的力度和速度。

粉丝经济下,偶像和粉丝的位置早就颠倒了,比的不是明星的实力,而是粉丝的实力。
粉丝看来是在为爱发电,但到了资本眼里,看到的不一定是爱与真诚,而是单纯的生意。
粉丝经济走到今天,有经纪公司开始利用粉丝的心理圈钱。
一些背后资本家也疯狂为明星打造人设,试图在短时间里圈到最多的钱。
肖战之所以路人缘被败尽,很大程度上源于他的经纪公司糟糕的危机公关。
一直以来只是冷眼旁观看着粉丝折腾,只有轻飘飘的声明,就连这次,也是象征性的说一句:倡导理性消费。

粉丝经济的现状,不单单全是粉丝在疯狂,这背后,资本、规则、偶像都有关系。
资本家设定了游戏规则,偶像是游戏里的竞争品,粉丝无力改变规则就变成遵守规则。
最终,资本裹挟,流量为王,偶像出脸,粉丝打钱。
结语:
前几天,李小璐开直播带货,直播间的网友刷屏骂了她四个小时,几千句脏话扑面而来。
“真的应该彻底封杀”
“这种人还有脸出来”
“谁买谁上当,大家都不要买。”
虽然被骂的很惨,虽然直播中她不会用自己卖的胶囊咖啡机,虽然在卖面膜的时候,都不知道面膜哪面该贴脸上。

但这并不影响她带着4791.5万的战绩,离开了直播间。

可见,被捧也是流量,被骂也是流量,殊途同归,最后都是赚得盆满钵满。
但不同的是,“失格的偶像”能让粉丝们为他们买多少次单呢?
毕竟,市场原谅的有多快,转向下一个流量的速度就有多块!


评论