记者 | 赵阳戈
曾经风光一时的“风电第一股”ST锐电(601558.SH),也终于要退出A股舞台了,就在5月6日公司披露了“公司股票终止上市”的公告。根据安排,公司股票将经历一个退市整理期,预计最后交易日为2020年6月23日,在此期间,数量近20万的ST锐电股东,该何去何从呢?
将退出A股舞台
5月6日,ST锐电称,公司4月30日收到上交所的通知,上交所决定终止公司股票上市。终止的逻辑,则是因为ST锐电2020年3月16日至2020年4月13日连续20个交易日的每日收盘价均低于股票面值(1元),上述情形触发了相关规定,经上交所上市委员会审核,才做出了如上决定。
根据规定,自上交所公告决定之日后的5个交易日届满的下一个交易日起(2020年5月13日),公司股票进入退市整理期交易,并在退市整理期届满后5个交易日内由上海证券交易所予以摘牌,公司股票终止上市。据悉,退市整理期为三十个交易日,如不考虑全天停牌因素,预计最后交易日期为2020年6月23日。值得一提的是,在退市整理期间,公司股票将在上交所风险警示板交易,每日的涨跌幅限制为10%。
另根据相关规则,ST锐电会在股票被终止上市后立即安排股票转入全国中小企业股份转让系统挂牌转让的相关事宜,保证公司股票在摘牌之日起的45个交易日内可以挂牌转让。公司表示将尽快聘请股份转让服务机构,委托其提供股份转让服务,并授权其办理证券交易所市场登记结算系统股份退出登记,办理股票重新确认及全国中小企业股份转让系统股份登记结算等事宜。
ST锐电是在2011年1月13日上市的,如今草草退出A股,真可谓弹指一挥间。实际上在终止上市之前,公司方面也有过多番挣扎,力求解困,只可惜包袱太沉,走下坡容易,争上游难。
就在3月16日股价洞穿1元面值后,ST锐电先在3月21日推出了董监高增持计划,后又在3月31日晚放大招,称股东大连重工·起重集团有限公司(下称起重集团)、北京天华中泰投资有限公司、萍乡市富海新能投资中心(有限合伙)将其所直接持有的公司股份共计13.68亿股表决权委托给中俄丝路投资有限责任公司(下称中俄丝路)和中俄地区合作发展投资基金管理有限责任公司(下称中俄发展)。公司控制权也从无实际控制人、无控股股东变更为王峰为公司实际控制人。
由于中俄丝路和中俄发展的国资委背景,4月1日ST锐电也明显受到了正面刺激,但4月3日ST锐电收到的《责令暂停收购事先告知书》,则再一次击垮了ST锐电,且最终使其无力回天。

19万股东的难题
根据《上海证券交易所退市整理期业务实施细则》的相关规定,公司股票在退市整理期交易期间,公司将不筹划或实施重大资产重组事宜。根据当时的相关《表决权委托协议》约定,如ST锐电未能成功保持在上交所的上市地位,则协议自动解除。不过受托方还表示:即使《表决权委托协议》因公司退市而解除,受托方亦有意愿不以实际控制人的身份继续与公司合作。

股东数据显示,截至2020年3月31日,ST锐电尚有19.6952万户股东,对这些股东来说,该何去何从呢?
这不禁令人想起了昔日的长航油运等股票,该公司曾于2014年从A股退市,进入股转系统化身为长油5,数年后的2019年1月,其又神奇地回归了A股,成为A股史上首家重新上市的公司。当然,长油的背后站着国务院国资委。后续还会有公司如长油般幸运吗?

先来看看ST锐电的第一大股东起重集团,天眼查显示,起重集团背靠大连国资委。相比之下,中俄丝路的背景更为复杂。天眼查显示,中俄丝路有5个股东,其中,中核产业基金管理(北京)有限公司(持股中俄丝路15%)由中核工业集团有限公司持股66.67%,中核工业集团有限公司则由国务院国资委100%控制;国家电投集团基金管理有限公司(持股中俄丝路15%)由国家电力投资集团有限公司100%持有,国家电力投资集团有限公司也是国务院国资委100%控股。



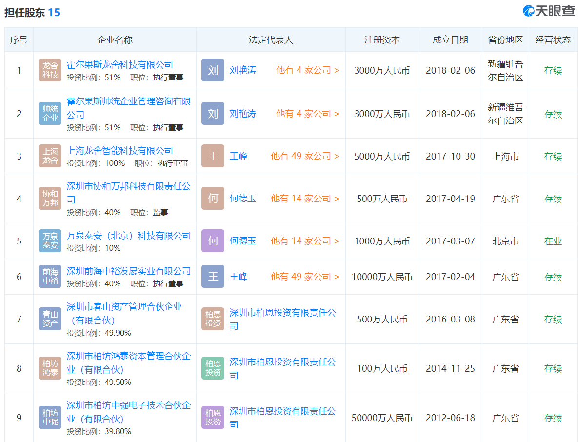
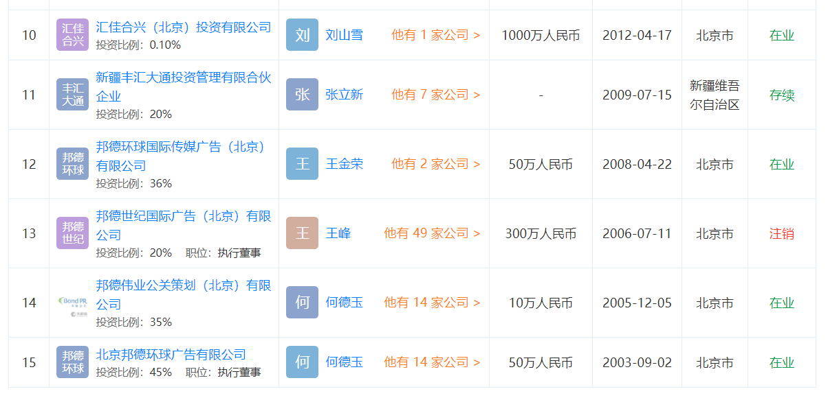
王峰则担任着14家公司的股东。


某券商分析师告诉界面新闻记者,长航的国资占比较大,基本面重组之后起死回生,要看重组的决心、多种条件的配合,所以考虑如何抉择需要非常慎重。ST锐电与长航有不同的股东背景,身处行业也各不相同,并不能将其简单等同于长航案例来看待。
回头看ST锐电的业绩情况,虽然2019年公司实现了3227.57万元的净利润,但扣非净利润却为-2.07亿元。2018年至2011年,ST锐电的扣非净利润分别为-4.71亿元、-7.24亿元、-24.24亿元、-33.87亿元、-9.05亿元、-27.59亿元、-6.57亿元、5.84亿元。也就是说除了上市首年之外,ST锐电已连续8年扣非净利润亏损,亏损总计超过100亿元,令人瞠目。
前述分析师同时表示,在A股市场有些投资者有博重组的投资习惯,其个人更提倡建立着眼于好股票的理财观。
评论