文|独角金融 刘芬 姜旭波
矿机行业老大北京比特大陆科技有限公司(下称“比特大陆”)的夺权大戏走向高潮,继当当创始人李国庆“办公室夺章”后,比特大陆营业执照竟被一群不明人士从工商行政人员手中公然抢走。
1、北京比特大陆营业执照被抢
据财经网·链上财经报道,5月8日上午11时左右,在海淀区政务服务中心二楼52号窗口,詹克团一方在领取法人为詹克团的比特大陆的营业执照时,营业执照被一群不明身份的大汉从工商行政人员手中抢走。
目前,詹克团方已经向辖区派出所——上地派出所报警,上地派出所已出警进行处理。一位现场消息人士向财经网·链上财经表示,该群不明身份的大汉人数约为60多人,其中刘路遥在现场指挥。
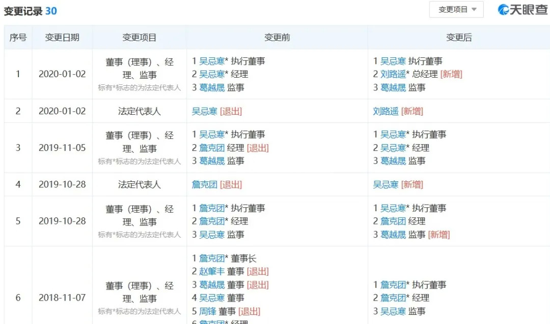
在海淀区政务服务中心带人抢夺营业执照何其大胆,让人不禁好奇现场人士口中的刘路遥是谁?天眼查显示,刘路遥是比特大陆的法人兼总经理。独角金融(微信公号:uni-fin)拨打比特大陆客服电话求证此事,但电话线路一直繁忙无人接听。
公开信息还显示,刘路遥还是吴忌寒的高中以及本科同学。而吴忌寒与詹克团是昔日共同创业的兄弟、战友。

(图片来源:天眼查)
独角金融(微信公号:uni-fin)了解到,詹克团、吴忌寒、刘路遥都担任过比特大陆的法定代表人。天眼查显示,2019年10月28日,比特大陆法人由詹克团变更为吴忌寒;2020年1月2日,比特大陆法人由詹克团变更为刘路遥。2020年5月8日,出现在海淀区政务服务中心二楼52号窗口的营业执照上法人名字是詹克团。
这不禁让人扑朔迷离:法人代表变更如此频繁,所为何事?
2、刘路遥法人身份被撤销的背后
比特大陆微信公号在4月29日发布的比特大陆官方声明,似乎给出了解释。
声明称,2020年2月12日,詹克团向北京市海淀区司法局提起行政复议,申请撤销北京比特2020年1月2日的法定代表人变更并恢复其为法定代表人。2020年4月28日,北京市海淀区司法局作出了撤销北京市海淀区市场监管局于2020年1月2日作出的准予北京比特法定代表人变更登记的复议决定,但并未决定恢复詹克团为法定代表人。
声明还表示,公司对该撤销决定深表遗憾,认为北京市海淀区司法局作出的撤销北京比特法定代表人变更登记的复议决定严重违反包括《中华人民共和国公司法》在内的法律法规和北京比特公司章程。上述复议决定并不会影响詹克团已经不是北京比特法定代表人的事实。北京比特现任执行董事吴忌寒、经理刘路遥目前均正常履职。刘路遥仍为北京比特现任法定代表人。
鉴于詹克团并非北京比特法定代表人,其无权以法定代表人身份行使权力。如因詹克团冒充北京比特法定代表人身份,而给公司造成损失的,公司保持追究詹克团及相关相对方民事或刑事责任的权利。
如詹克团及相关方损害公司利益的,公司将依法追究其相应的民事、刑事责任。公司对詹克团将其以个人控制欲和虚荣心为核心的私利置于公司及全体股东和员工共同利益之上的行为予以强烈谴责,并会坚决采取法律手段维护公司、公司股东及员工的合法权益。
据碳链价值报道,针对詹克团通过行政复议这一程序成功干预了比特大陆法定代表人变更一事,民商律师尹继涛认为,詹克团能否成功干预比特大陆法定代表人的变更,阻却比特大陆新法定代表人代表公司意志,行使对比特大陆公司的内部和外部权利,关键在于比特大陆内部变更法表人的有关决议是否有效。
詹克团要想成功阻止比特大陆法定代表人变更,只能向法院诉讼,请求法院确认比特大陆变更法定代表人的决议违反法律、行政法规或者公司章程的规定,撤销比特大陆变更法定代表人的决议。在比特大陆变更法定代表人的决议被法院撤销之前,很难说詹克团成功干预了比特大陆法定代表人变更。
3、昔日创业兄弟上演夺权大戏
事实上,詹克团与吴忌寒这对昔日并肩作战的兄弟,在去年就因为法人这个身份上演了一场夺权大戏。
2019年10月29日上午11点,一封邮件截图在行业刷屏。吴忌寒以“比特大陆创始人、董事集团主席、法定代表人、执行董事”的身份向公司员工发内部邮件,称决定解除詹克团在比特大陆的一切职务,即刻生效。
邮件还要求,“比特大陆任何员工不得再执行詹克团的指令,不得参加詹克团召集的会议,如有违反,公司视情节轻重考虑解除劳动合同。”措词可谓严厉至极。
天眼查显示,在10月28日,也就是发布邮件的前一天,比特大陆法定代表人、执行董事均由詹克团变更为吴忌寒。
11月1日,吴忌寒发朋友圈表示,“接下来,我们双方公司治理律师在境内境外较劲,比特大陆已经注定要成为商业史上公司控制权争夺的经典案例。”
11月5日,比特大陆的工商信息再次变更,吴忌寒代替詹克团担任经理一职。而詹克团也彻底从比特大陆高管队伍出局。
“夺权”邮件发出后,詹克团方面一直保持沉默,惹得外部种种猜测,直至7日才通过朋友圈发声。詹克团在朋友圈回应中称:“很尴尬,身为比特大陆创始人、第一大股东的我一直不知道,在政府部门登记的法定代表人居然会在自己因公出差、毫不知情的情况下被突然改变。”
他同时强调,“比特大陆是我们的孩子,我会拼尽全力保护她!我会拿起法律武器,让所有试图伤害和利用比特大陆的阴谋不能得逞!如果有人一定要战争,我们就给他们战争!”他还表示会通过法律途径尽快回到公司。
4、昔日“矿机大佬”的崛起之路
2009年,吴忌寒从北大毕业,获得北大心理学和经济学双学位。毕业后的吴忌寒在一家风投公司担任分析师和投资经理,直到2011年5月,吴忌寒偶然接触到比特币。而詹克团毕业于中国科学院,研究生毕业后一直从事集成电路的设计工作,深耕芯片技术,属于技术型创业者。
据公开报道称,两人相识于2013年,当时吴忌寒在北京的街上,碰见了詹克团的业务员在推销,詹克团就这样进入了吴忌寒的视野。当时,吴忌寒将比特币的维基百科资料递给詹克团看,詹克团仅花了两个小时看完后,就决定答应吴忌寒的要求,加入比特大陆。
2017年,比特币大火。据悉,最火的时候,比特大陆的明星产品蚂蚁矿机价格每三四个小时变动一次,成本3000左右的蚂蚁矿机被炒到了2万以上。比特大陆也趁势崛起。经过几次技术上的跟进之后,比特大陆提供的矿机种类在币圈市场占有率一度超过80%。
随着业绩的提升,詹克团和吴忌寒也常常出现在各大富豪榜的榜单中。《2018年胡润区块链富豪榜》显示,詹克团和吴忌寒分别以295亿元人民币和165亿元人民币霸占富豪榜首。到了2019年,《胡润百富榜》显示,区块链领域有14人上榜,其中詹克团300亿元身家,排在第100位,位居区块链领域首富;而吴忌寒以170亿元,排名214。


评论