(本文持续更新中。文中段首所示时间为本文更新时间。)
全球
0800【全球疫情汇总】
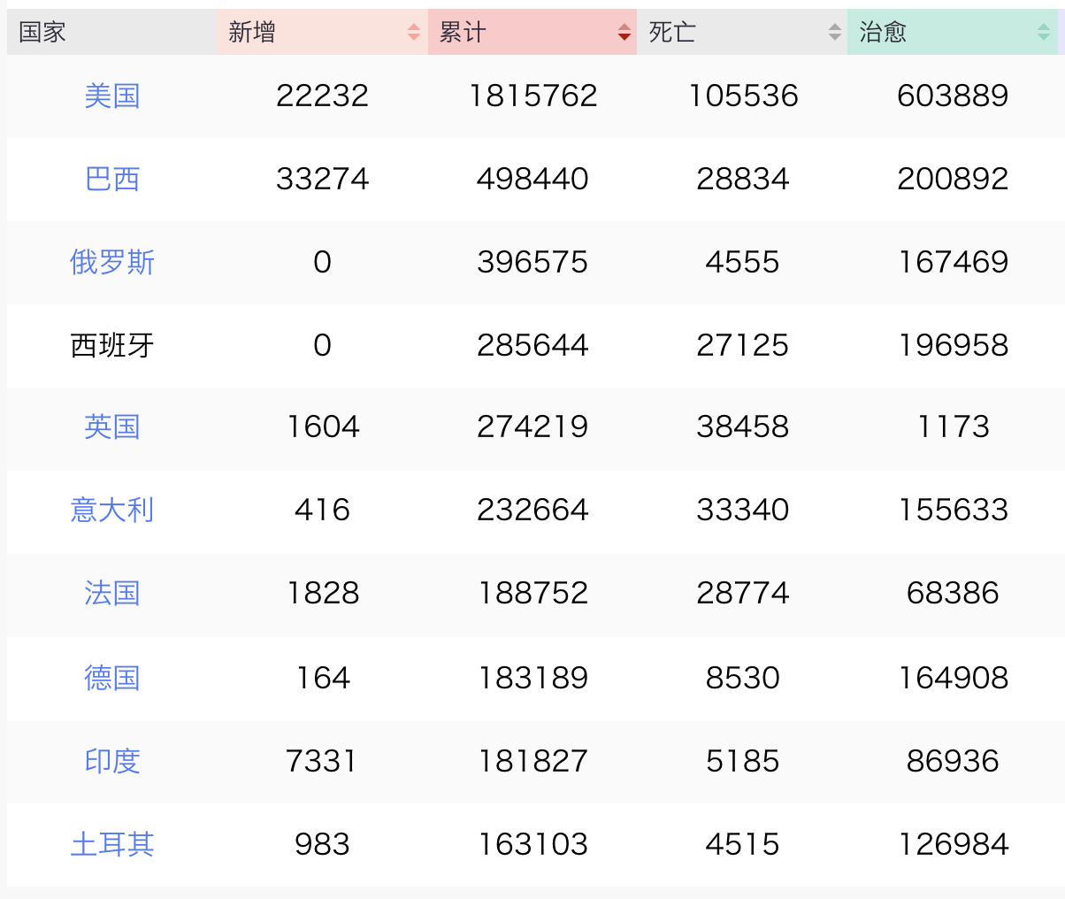
美国约翰斯·霍普金斯大学发布的疫情数据显示,截至北京时间5月31日23时30分,全球累计确诊新冠肺炎病例达到6098804例,累计死亡369847例。
此次新增百万用时不足10天,为疫情爆发以来最短。此前的五个100万用时均在11到13日之间。
0800【联合国马里维和任务区2名维和官兵感染新冠肺炎病故】

亚洲
2000【日本局地出现第二波疫情: 多所小学、医院暴发集体感染】
1717【印尼累计确诊病例升至26473例,新增700例】
1708【巴基斯坦新增确诊病例3039例,累计69496例】
1559【新加坡新增518例新冠肺炎病例,累计34884例】
1218【印度新增新冠肺炎确诊病例8380例 累计确诊182143例】
1000【阿联酋新增新冠确诊病例726例 累计确诊33896例】
0954【日本大学毕业生将面临更漫长、更艰难的求职季】
0800【印度6月8日起陆续解封,餐厅、购物中心将开放】
除一些重点城市或区域内疫情高发区封锁时间延续到6月30日以外,其他所有地区,民众的生产生活将从6月8日起陆续放开。从6月8日起,印度境内的宗教场所、酒店、餐厅、购物中心将开放;宵禁也做出调整,改为晚上九点到凌晨五点;各邦之间的跨境交通将自由通行。国际航班、影院、健身、游泳池、酒吧和集会等活动将在进一步作出评估后决定开放时间。
0800【日本新增新冠肺炎确诊病例45例,累计确诊16877例】
0800【巴基斯坦新增新冠肺炎确诊病例2429例,累计66457例】
0800【菲律宾新增590例新冠肺炎确诊病例 累计17224例】
0800【哈萨克斯坦新冠确诊病例破万】
0800【一名机组人员新冠病毒检测呈阳性 印度飞往莫斯科的撤侨飞机半路折返】
0800【尼泊尔将全国封锁延长至6月14日 并延长国际航班禁令至6月30日】
北美
0836【美国明州州长:预计抗议活动后,新冠病例会激增】
州长沃尔兹表示,对可能出现超级传播者深感忧虑。
0815【特朗普推迟G7峰会至9月,拟邀俄罗斯、韩国、澳大利亚及印度】
德国总理默克尔此前表示将不参加G7峰会,而日法两国领导人表示将参加该峰会。
0800【美国单日新增确诊病例逾2.2万例 累计确诊逾176万例】
据美国约翰斯·霍普金斯大学发布的疫情数据显示,截至北京时间5月31日6时30分左右,美国新冠肺炎累计确诊1765723例,累计死亡103674例。与前一日6时30分数据相比,美国新增确诊病例22488例,新增死亡病例988例。
0800【美国纽约州州长科莫确认纽约市将于6月8日重新开放】
欧洲
2250【英国新增新冠肺炎确诊病例1936例,累计确诊27.5万例】
2056【葡萄牙新增新冠肺炎确诊病例297例 累计确诊32500例】
1555【德国新增286例新冠肺炎确诊病例 累计确诊181482例】
1538【俄罗斯新增9268例新冠肺炎确诊病例 累计超40万例】
1012【罗马尼亚总理支付3000欧元罚款,因不戴口罩违反新冠禁令】
一张在社交媒体上疯传的照片显示,奥尔班在他的办公室里和其他几位内阁成员围坐在桌子旁抽烟,且都未佩戴口罩。
0810【意大利卫生部长:需要一个更强有力的世卫组织 美国“退群”后果严重】
0800【英国政府允许从6月1日开始恢复封闭式竞技体育比赛】
赛马将从6月1号开始恢复比赛,英超联赛将于6月17日恢复比赛。5月27日,英超联赛各俱乐部一致投票决定恢复“第二阶段”的接触式训练。
0800【德国:特朗普终止与世卫组织关系“令人失望”】
德国联邦卫生部长施潘当地时间30日在社交媒体上用英语、德语和法语发文,指责特朗普此举 "对国际卫生政策来说是一个令人失望的挫折" 。施潘强调,世卫组织需要改革,才能有所作为。
0800【德奥委会报告:德国奥林匹克事业损失超10亿欧元】
0800【英国政府允许从6月1日开始恢复封闭式竞技体育比赛】
0800【俄新冠确诊病例近40万 疫苗将开始临床试验】
0800【英国卫生与社会保健部:“无计划”撤回世卫组织的资金】
0800【西班牙新冠肺炎确诊病例新增271例,累计达239228例】
0800【北马其顿宣布从31日起进入新的14天紧急状态】
北马其顿总统彭达罗夫斯基5月30日宣布,鉴于14天的紧急状态将于今日结束,而每天仍然有新冠肺炎增长病例,政府决定从31日起进入新的14天的紧急状态。
0800【比利时王子新冠病毒检测结果呈阳性】
中东
2035【卡塔尔新增1648例新冠肺炎确诊病例,累计确诊5.69万例】
1900【伊朗新增新冠肺炎确诊病例2516例 累计151466例】
0800【土耳其6月1日起复飞国内航班 所有省市解除旅行禁令】
拉美
1200【墨西哥新增2885新冠肺炎确诊病例 累计确诊87512例】
0800【秘鲁单日新增超7千例 累计确诊超15万例】
0800【巴西新增33274例新冠肺炎确诊病例,系单日最大增幅】
根据巴西卫生部当地时间30日晚公布的最新数据,该国单日新增新冠肺炎确诊病例33274例,累计确诊498440例;新增死亡病例956例,累计死亡病例28834例。目前巴西新冠肺炎病例确诊总数居全球第二位,仅次于美国。
非洲
0800【布隆迪总统夫人感染新冠肺炎后乘机到肯尼亚治疗】
0700【加纳新增152例新冠肺炎确诊病例 累计确诊7768例】



评论