文 |雷达财经 李宏晶
据《深圳特区报》6月4日报道,有租客在蛋壳公寓租房时,遭遇租金贷、强行退租、不退押金等陷阱。6月5日,《深圳特区报》再度报道称,深圳市住建局表示,将介入调查蛋壳公寓存在的金融、安全以及违建等问题,一旦查实,严格处理。
受此影响,蛋壳公寓美股盘后下跌2.96%,报9.5美元。

雷达财经注意到,在深圳市住建局介入前,蛋壳公寓有21次行政处罚记录。其中,2019年12月17日,因改变房屋内部结构,并对外分割出租,被北京市住房和城乡建设委员会处以3万元罚款。
此外,蛋壳公寓还面临2019年巨亏34亿元、多次列为被执行人等诸多麻烦。
深圳市住建局介入调查蛋壳公寓
"当时,销售人员跟我讲,可以按月付的方式付款,并且首月优惠打五折。"杨小姐表示,当她缴纳完定金和当月房租,按蛋壳公寓的销售人员要求绑定好月付指定银行卡时,却收到了贷款信息。
杨小姐说,她并不知道租金需要贷款支付。当她询问销售"为什么要贷款付租"时,销售人员突然冻结了杨小姐租赁房间电子锁,并称如果继续租房,房租必须上涨5%,且一次性付清一个季度押金。
面对这样的情况,杨小姐选择了退租退房。但是,蛋壳公寓竟然以杨小姐毁约为由,不予退还押金。
据《深圳特区报》报道,像杨小姐这样的例子不少。有多位租户向媒体反映在蛋壳公寓租房时遭遇无故退租、不退押金、要求贷款租房以及房屋安全等问题。
在黑猫投诉平台上,输入"蛋壳公寓",能查询到12028条相关信息,其中投诉要求退款、赔偿、道歉和改善服务占大多数。

图片来源:黑猫投诉平台
深圳市消费者委员会投诉咨询部部长靳丽娟表示,蛋壳公寓存在的问题,消委会已经关注很久了。根据深圳市消委会的数据显示,3月1日至今,消委会累计接到市民针对蛋壳公寓的投诉219宗,其中有消费欺诈、合同纠纷、强制退租等类型投诉。
对于上述问题,深圳市住建局表示将介入调查蛋壳公寓存在的金融、安全以及违建等问题,一旦查实,严格处理。
APP近期被苹果应用商店下架
企查查数据显示,蛋壳公寓是紫梧桐(北京)资产管理有限公司旗下的高端白领公寓品牌。公司于2015年1月在北京成立,后进入O2O租房市场,运营着"蛋壳公寓 "和 "筑梦公寓 "两大品牌产品,并于2020年1月17日在纽约证券交易所挂牌上市。
蛋壳公寓发布的2019年财报显示,2019全年蛋壳公寓收入达71.43亿元人民币,同比增长167.0%,收入主要来自于租金和服务费。
2019年蛋壳公寓净亏损约为34亿元,而2018年亏损约为14亿元,2017年为2.7亿元,三年蛋壳公寓总亏损近56亿元。
截至2019年末,蛋壳公寓资产负债率为95.7%,同比上升13%。
今年4月30日,有用户发现蛋壳公寓APP在苹果应用商店App Store遭下架。不同于其它公司的公开解释、处理,蛋壳公寓却显得悄无声息。
直至5月11日下午,蛋壳公寓正式解释原因,是由于某美国软件公司向苹果应用商店投诉,质疑蛋壳公寓App有2张供应商提供的图片使用其软件制作,未得到有效授权,涉嫌侵犯其知识产权。
"App下架和公司资金状况没有关系,所以决定再发一个正式声明。"蛋壳公寓官方对外强调。
已被行政处罚21次
进入2020年以来,蛋壳公寓颇为不顺。
企查查数据显示,2020年以来,蛋壳公寓陷入十几起法律纠纷,作为被告人9次,案由涉及财产损失赔偿、劳动者争议、侵权纠纷等方面。

图片来源:企查查
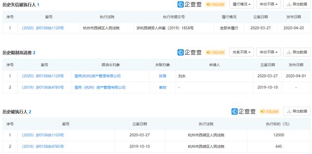
根据雷达财经此前报道,2020年3月27日,蛋壳(杭州)资产管理有限公司因违反财产报告制度,被杭州市西湖区人民法院列为失信被执行人,案号(2020)浙0106执1120号,全部未履行金额1.2万元。

图片来源:企查查
对此,蛋壳公寓相关负责人曾向雷达财经表示,裁决并未生效,杭州公司并未有失信或拒绝执行的情况,公司已委托代理律师与法院沟通,并申请撤回失信名单。
今年5月26日,单个公寓被列为被执行人,执行法院北京市大兴区人民法院,案号(2020)京0115执4666号,执行金额15176元。
另据企查查显示,蛋壳公寓有21次行政处罚记录。2019年12月17日,因改变房屋内部结构,并对外分割出租,被北京市住房和城乡建设委员会处以3万元罚款。



评论