文|电子商务研究中心 无痕
7月4日,杭州市公安局上城区分局的官方微博“平安上城”发布通报称,上城区分局依法对微贷(杭州)金融信息服务有限公司(“微贷网”平台)涉嫌非法吸收公众存款立案侦查。目前,案件正在依法侦办中。
据悉,当前微贷网的催收工作被纳入政府整体处置,受政府统一管理、监督及指导。为保证出借人合法权益,相应的法律程序也将根据催收工作进度适时启动,依法追究借款人逾期还款的法律责任。

杭州警方表示,公安机构将全力开展资产查控、处置等追赃挽损工作,并全力保护出借人的合法权益。同时,对平台借款人恶意逃废债涉嫌犯罪的,公安机构将依法予以严惩。
根据微贷网网站公布的数据显示,截止今年2月份,微贷网累计借贷金额2986亿,借贷余额86亿,当前出借人数量11.5万人,人均累计出借金额26.4万。根据微贷网2019年财报公布的数据,微贷网截止去年底对外贷款未偿还余额为137亿。
立案后杭州警方再发“催收公告”,微贷网董事长深夜回应
在微贷网正式立案的警方通报公开后,7月4日当晚11点半左右,杭州市公安局上城分局官方微博再次发布“致微贷网平台借款人的‘借款催收公告’”。公告显示,为保护广大出借人合法权益,杭州市上城区防范金融暨网络借贷风险处置领导小组办公室(以下简称“处置办”)现配合公安机关开展追赃挽损工作,敦促通过微贷网进行借款且尚未还款的借款人(以下简称“平台借款人”)积极主动归还借款。

根据公告,若平台借款人若逾期还款,将被纳入失信名单,可能影响借款人正常的生活消费、日常出行、银行贷款等事项。若平台借款人拒不履行还款义务,恶意逃废债,经催收后仍不还款,涉嫌构成犯罪的,公安机关将依法予以严惩。
针对此事,7月5日零点51分,微贷网董事长姚宏在个人微信朋友圈发布了回应:“或许一切都是命运的安排,向所有支持我的朋友们说声抱歉!不念过往,不畏将来,全力以赴”。

(网经社注:图片采集自姚宏朋友圈)
对此,网经社第一时间连线了微贷网CEO姚宏,获悉以下要点:
1、被立案调查的主体不是微贷网上市公司,而是下属一个子公司,但老百姓和媒舆论会混淆。
2、当下,无论公司还是个人不能对外发声(通过网经社传递全国关心微贷网的媒体朋友理解),因为这个是和相关部门达成的(共识),微贷网会积极面对(配合调查)。
3、很幸运的是微贷网在上城区,政策全国执行完全是不一样的,浙江(金融科技公司被调查)高发,但微贷网是全国首例(金融科技上市公司被立案)。
据网经社了解,微贷网于2011年7月8日上线运营,是一家专注于汽车抵押借贷业务的互联网金融服务平台。2018年11月15日,微贷网登陆美国纽交所挂牌交易,股票代码为“WEI”,发行与开盘价均为10美元。

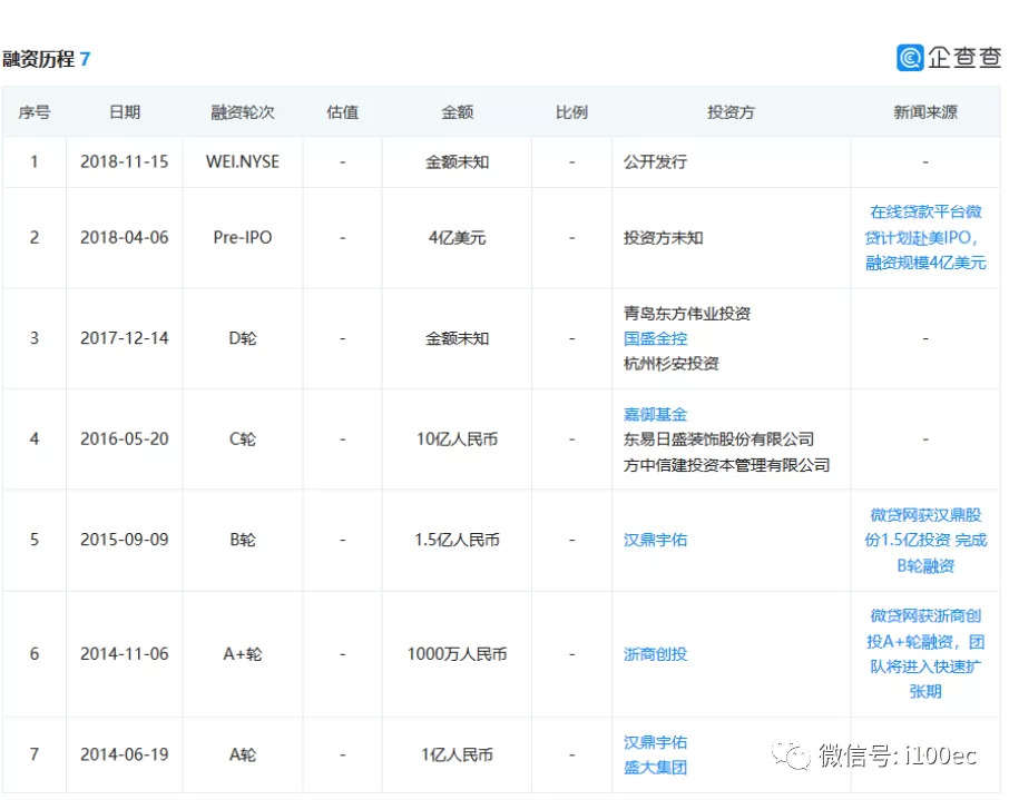
(网经社注:微贷网融资记录,来自企查查)
上市之前,微贷网经历了6轮融资,根据网贷天眼的数据,从综合排序看,微贷网在浙江省排名第一,为杭州第一大P2P平台。
据微贷网披露的2019年第四季度及2019年全年未经审计财报显示,2019年全年微贷网营收为33.58亿元,同比下降14.2%;净利润2.63亿元,同比下降56.46%。

微贷网在美股上市后,股价最高曾涨至13.63美元/股。截至美国东部时间7月2日收盘,微贷网股价为1.33美元/股,与上市首日开盘价相比,跌幅已达86.7%;当前总市值已不足1亿美元,为9371.37万美元。
严管之下,网贷平台纷纷清退、转型
据网经社获悉,在严监管背景下,化解网贷存量风险的攻坚战早已在全国范围内打响,今年以来,已有5家老牌网贷机构宣布退出网贷业务。
2月15日,积木盒子宣布退出网贷行业。其对外发布公告称,即日起开启战略转型,申请转型为小额贷款公司,停止发布新标、停止债权转让操作、关 闭充值通道,接受项目期满已实现回款的以及充值未出借的用户发起的提现操作。
3月19日,深圳P2P平台人人聚财正式宣布自愿退出网络借贷信息中介业务,已将相关事宜向金融工作部门报备,预计将于兑付开始之日起3年内 完成兑付工作。
4月17日,随手科技通过其微信公众号“随手投资”发布公告称,决定启动战略转型,对原有网贷业务存量开展有序、分批次的业务结清工作,稳步退出网贷业务。
5月9日,规模达千亿元级别的深圳知名P2P平台小牛在线宣布“良性”退出。据其官方披露,该平台当前借款人总数为116.71万,借贷余额为 104.20亿元。
5月31日,微贷网正式宣布退出网贷。并且,除退出P2P外,小贷是微贷网下一步的转型方向。2019年12月,微贷网发布公告称,拟转型并申请网络小贷牌照。
此外,51信用卡也将于6月下旬全部退出其网贷业务,挖财也“正在按照政府要求来,转型发力金融科技”。
一组数据显示,截至今年3月31日,全国实际在运营网络借贷机构139家,比2019年初下降86%;借贷余额下降75%;出借人数下降80%;借款人数下降62%。机构数量、借贷规模及参与人数连续21个月下降。整治工作开展以来,累计已有近5000家机构退出。
据不完全统计,目前已有四川、河南、重庆、广州、湖北、山东、湖南、新疆、天津、贵州、宁夏、北京、上海、浙江、深圳、云南、辽宁、甘肃、山西、大连、内蒙古、陕西、吉林、黑龙江等至少24省市对外公布清退P2P网贷机构。杭州地区除了蚂蚁金服、51信用卡、挖财等头部金融科技公司,基本上全军覆没。
然而,存活下来的金融科技公司日子也不好过。迫于监管压力,金融科技公司去“金融化”,进行业务转型已是大势所趋。6月22日,支付宝母公司蚂蚁金服正式更名为蚂蚁科技集团,此前“京东金融”更名“京东数字科技”,小米支付运营主体“北京小米支付技术有限公司”更名为“小米数字科技有限公司”,拍拍贷更名为信也科技集团。以上种种,均是为了规避风险,因为谁也不知道下一把挂在金融科技公司头上的“达摩克利斯之剑”,会落在谁的头上。


评论