文|时代周报 草莓
编辑|沈寂
在低调神隐514天后,咪蒙又突然出现在公众的视线里。
近日,一篇名为《咪蒙不再制造咪蒙》的万字长文火了。文中将咪蒙刻画成一个阔绰老板,一个有情有义嫁给公司的创业者,一个守护着员工的知心大姐,一个天真敏感的傻白甜,一个被团队背叛的冤大头……
在不少人被感动得稀里哗啦、一把鼻涕一把泪的同时,也有网友指责该文为咪蒙洗白,并称“完全是咪蒙一家之言,当小说看看就好”。
这个多次站在舆论风口的自媒体女王,在最风光时公司估值20亿、坐拥8家企业,投放、广告商纷至沓来。可因为罔顾事实,对大众矛盾高纯度的提炼及个例夸大式的呈现,最终落了个人人喊打的下场。
从率性敢言、女性标杆,到谈“咪”色变,似乎现在大家都清醒了不少,但有一点不得不承认,我们一直忘不掉咪蒙,或者说我们都需要咪蒙。
即便她已经离开风暴中心一年,账号也封禁,但只要有些许风吹草动,人们的注意力总会转移到她身上。
1、咪蒙的商业经
咪蒙我认识,可马凌又是谁?在这个人人都在问我是谁的时代,马凌偏要浓妆艳抹,让人看不清其样貌。
2014年,资深媒体人马凌离开呆了12年的《南方都市报》,从小有成就的杂志部首席编辑转变成了一名新手创业者。
带着卖掉房子换来的300万,马凌创办了她的第一家公司万物生长影视传媒,但不到十个月便烧光了所有投资,推出的几部网剧没有掀起半点水花,最终公司倒闭收场。
2015年9月15日,重回老本行的马凌,以“咪蒙”为笔名,在情感类自媒体公众号上发布了第一篇文章《女友对你作?你应该谢天谢地,因为她爱你》。
因其行文风格煽动性强,深谙读者与时代的痛点,一年之内,公众号粉丝数量破百万。
彼时,还没有人能真正挖掘出公众号价值,而坐拥500万粉丝、每篇文章都能达到百万阅读量的咪蒙,自然成为自媒体界中被仰望的存在。
其主笔的公众号粉丝活跃度很高,头条10分钟内即可突破10万+,1小时内反馈留言可达上万条。
伴随极强的粉丝粘性与话题度,咪蒙的商业价值也水涨船高。
2017年,咪蒙接受采访时表示,公众号已经为她带来了8位数的年收入。据亿邦动力网统计,当年咪蒙共接到了50篇文章广告的投放,一年收入累计能达到7000万。

咪蒙软文报价每年都在增高,来源:前瞻产业研究院
次年,财经天下周刊报道的一张报价表显示,咪蒙公众号的软文头条价格为75万元,有网友戏称,这相当于一辆保时捷718 Cayman最新款。
与此同时,咪蒙还组建起了“洪胖胖”(后改为“李粒粒 LILI”)、“非正常姐姐”等多个公号矩阵,开始布局整个自媒体产业。
有业内人士称,“当时马凌对于商标保护相当到位,也意图将‘咪蒙’打造成一个品牌。”
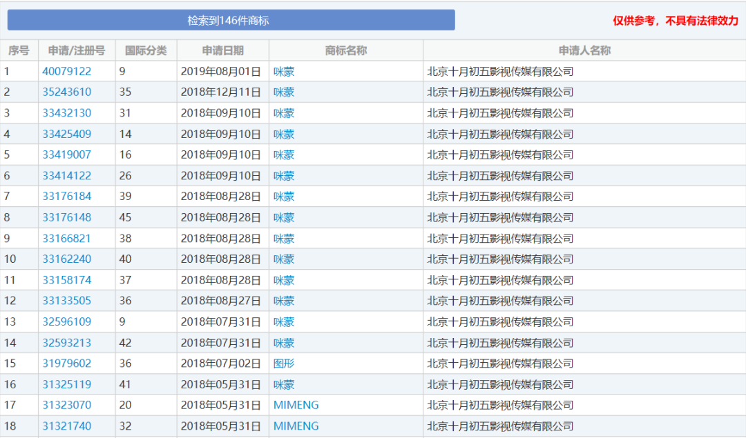
时代周报新媒体记者查询商标局相关信息发现,咪蒙旗下北京十月初五影视传媒共申请注册了146件商标,包括89件“咪蒙”商标、19件“MIMENG”商标、35件图形商标。
最新一次的申请日期是2019年8月1日,不仅注册了多个类别,还注册了拼音版。

来源:中国商标网
除了个人品牌和公司品牌之外,咪蒙还曾试水知识付费。
曾经刷屏的“咪蒙教你月薪5万”就是其第一款产品,该产品发布在“芝士来啦”这个服务号上,又同步在喜马拉雅FM作为一档付费音频课程上线。
据统计,这份售价99元的知识付费课程已经在“芝士来啦”公号和喜马拉雅平台上总共卖出了几十万份。
在商业上赚得盆满钵满的咪蒙,背后争议却不断。《致贱人》、《致lowB》等几篇爆款被指三观扭曲,咪蒙也因此被打上了“毒鸡汤”、“女权毒药”的标签。
新京报等主流媒体则评价其文章在“撕裂社会情绪”,朋友圈更是一度流行起“含咪率”检测,意思是微信好友中关注了咪蒙公众号的人所占比例。
但正如自媒体人三表所说,咪蒙是一个经常说出与主流价值观相悖的人,且是“知行合一”的人,且获得庞大拥趸的人。
一路黑红、争议不断,也在某种程度上也拓展了咪蒙的知名度与影响力,其商业版图更是越做越大。
天眼查数据显示,咪蒙巅峰时期坐拥8家企业,涉猎范围包括商业服务业、广播、电视、电影和影视录音制作业等,在最风光时公司甚至估值20亿。其中以北京十月初五影视传媒有限公司为咪蒙公司主体,至今仍在运营。
可让咪蒙没想到的是,因一篇文章,自己打造的“自媒体王国”竟在几天内轰然倒塌,落得一地鸡毛。
2019年1月29日,咪蒙团队旗下公号“才华有限青年”推出了一篇题为《一个出身寒门的状元之死》的文章,迅速火遍全网。
但不出一天,舆论反转,网上称其“造假杜撰、漏洞明显”,口诛笔伐者比比皆是。
2月1日,咪蒙发布道歉信,承认该文内容失实并宣布涉事公众号停更2个月、微博永久关停。
20天后,咪蒙公司最重要的两个公众号“咪蒙”和“才华有限青年”自主注销,这两个两个账号也被凤凰网、今日头条等自媒体平台永久性关闭。
至今,咪蒙名下的8家公司,4家已注销,其它4家还在“存续”、“在业”状态。而她本人也逐渐淡出观众视野。
可事业心极强的咪蒙又岂能甘心?各种迹象表明,它正在另一个地方异军突起。
2、转战短视频,月入300万
咪蒙的下一站在哪?在时尚先生的采访中,咪蒙自己给出了答案。
“去年公司解散后,和高管连续开会 1 个月,讨论接下来动作——结论是短视频;干了才知道,短视频太难拍。一条 31 秒的视频,围读会开 4 小时,讨论到凌晨 4 点......”
文中咪蒙多次提到了自己学习短视频创业受尽白眼,参加短视频大会都不敢坐第一排,完全没有了当年的风光。
可现实中的咪蒙真如她口中所说,过得这般惨淡吗?
据媒体报道,去年9月,咪蒙已经杀进短视频领域,并注册了名叫银色大地的MCN公司。
天眼查数据显示,银色大地的法人为张静思,但回顾此前她与咪蒙的商业往来便能发现,两人的关系不一般。

来源:天眼查
早在咪蒙公众号时代,张静思就已经是咪蒙公司股东之一。两人也多次互相合作参股,甚至在咪蒙多个公众号注销、前夫退股后,张静思还增持参股了咪蒙的两家公司,可谓“中国好闺蜜”。
值得注意的是,张静思和咪蒙共同持股的两家公司,也在银色大地成立前后进行了股东变更。目前,两人分别为上海树梢、上海秒饭两家管理咨询合伙企业的唯二股东。
时代周报新媒体记者联系多家与银色大地有过合作的商家,确认该MCN机构与咪蒙有关。
“刚看到银色大地时,我几乎就能确定是咪蒙,咪蒙开的第一家公司叫万物长生,这两个名字有异曲同工之妙,生机盎然,气势都很恢宏。”
据爆料人称,此前银色大地发布的招聘信息,使用的正是咪蒙的邮箱前缀“mm_hr”。
那么这个带有咪蒙影子的银色大地,究竟是家怎样的公司?
该公司发布的一则招聘广告曾称,“开号仅1个月,单个视频播放量过亿,登上抖音开屏广告;开号仅3个月,百万粉丝抖音号超过5个;开号半年已有千万粉丝。”

银色大地招聘
对此,时代周报新媒体记者通过查询发现,目前银色大地旗下至少拥有14个账号,抖音总粉丝数为3617万,如果算上微博快手等平台,总粉丝数达到了7000万,远胜微信时代的咪蒙。
抖音上,银色大地核心大号有三个。分别是拥有1638万粉丝的“姜十七”、均拥有500多万粉丝的“浩杰来了”、“是浩然啊”。
而后两个账号使用的是同一个演员,只不过对应的剧本不同,分别与之搭档的还有两个女主,这意味着,咪蒙用一个男演员养活四个账号,可谓开源节流之鼻祖。

咪蒙MCN签约情况,来源:新腕儿制图
与咪蒙减少演员花费形成鲜明反差的,是银色大地不菲的广告收入。第三方平台星图查询结果显示,不到一年时间,银色大地的账号接了150条广告,总共获得了1100万元的广告收入。
单是今年6月,银色大地旗下艺人“姜十七”接单13条,“是浩然啊”接单14条,“浩杰来了”3条,客户多为美妆和电商客户。
按照星图报价计算,咪蒙的银色大地整个6月份光广告的收入,就接近300w。
可咪蒙却在采访中表示,短视频利润率比公众号低得多,“这一年折腾下来,公司全年亏损1800万。”
对此,不少网友指出咪蒙是在哭穷,“1100万的年广告收入,还不算平台补贴、点赞转换的收益,怎么说也称得上半个头部机构,如果这都能亏上1800万,咪蒙也是个人才。”
而如果仅从咪蒙近期停更多个百万粉丝账号的举动看,银色大地在经营上确实出现了些问题,也急于寻求变现渠道。
压力之下,咪蒙理所当然地盯上了今年最火风口——直播带货,但很明显,她的粉丝们并没有带来核心的竞争力。
数据显示,“姜十七”在今年6月1日开启直播带货首秀,总销售额为6.87万,而之后的两场直播中,销售额也仅有2.26万、3409.9元。
在一众明星、企业家纷纷下海,动辄斩获千万带货额的“盛况”下,善于营销的咪蒙竟然没把握住?从这点上看,咪蒙错过了不少收智商税的机会。
3、咪蒙仍在制造咪蒙
“我认识到了错误,受到了惩罚,希望能有一次新机会重新开始,做些和从前不一样的事。”在接受采访时,咪蒙曾如此说道。
可一旦你点进银色大地旗下艺人的抖音主页,那股熟悉的“咪蒙味”就会扑面而来。
以粉丝基数最大的姜十七为例,人设是一个飒爽,够义气又多金的女孩。跟她搭档的小鲜肉叫「辰与十七」,则是一名霸道总裁。
银色大地短视频内容节选
找一群帅哥美女对台搭戏,再来上几场霸道总裁爱上我、甜甜的姐弟恋,争宠三角恋等毁三观的戏码,就能轻松斩获无数迷弟迷妹,屡试不爽。
据悉,银色大地账号矩阵主要针对的是年轻女性,甚至大部分不满18岁。不禁要感叹,今年44岁的咪蒙在对于小女生心态地把控仍是顶级,不愧是自称“情感类博主”。

姜十七、辰与十七两个账号的粉丝构成
此外,咪蒙仍在刻意聚焦、放大一些个例。在职场中,似乎每个女同事都是不安好心、每个男同事都是幸灾乐祸,也总会有一个丑小鸭女路人被欺负。
而这时,我们的大女主姜十七就会挺身而出,保护受欺负的新人、闺蜜,痛打渣男、小贱人,最后还不忘悄悄安利下金主爸爸。
可这种在成年人看来既不搞笑,又没有什么鸡汤价值的段子,却总能吸引了几百万人点赞。
在他们的演绎下,爱情变成我追你,你追我,我壁咚你,你壁咚我的故事。

辰与十七视频截图
换句话说,咪蒙仍在制造咪蒙式内容,只不过这次换了一条名叫抖音的赛道。在这里,没人会去深究、苛责其中价值观的问题,大家只是一笑了之,这正是咪蒙灌下“毒鸡汤”的好时机。
再回到公众号领域,咪蒙缺席的这段时间,后来者倒也没闲着。
刻意美化灾难、忘记伤痛,写出《没有澳洲这场大火,我都不知道中国33年前这么牛逼!》的青年大院火了、以自我感知编撰出《1122万同胞受灾,媒体为何集体失声?》等爆文的野火青年出圈了......
在咪蒙还在苦心经营短视频,收割嗷嗷待哺的粉丝时,她的学徒们早已集体出师,成为青出于蓝的流量收割机。

用不同的号发“正反话”,同时收割所谓“小粉红”、“理中客”和“公知”这三种视角的受众。
天眼查资料显示,野火青年、青年大院以及今晚90后等公众号的账号主体都是北京浮光跃金传媒有限公司,股东雷怡南为最终受益人,直接或间接持股达46.65%。
据观察者网报道,雷怡南笔名为“易岚”,是上述公号的团队创始人。更为巧合的是,易岚本人曾是咪蒙实习生计划中的一员。
这个毕业于中山大学软件学院的男人,认为“写代码是精神上的慢性自杀,写作才是宿命”。从《杨超越真的不算锦鲤》,到《那个17岁的上海少年决定跳桥自杀》,没有事实依据、多次运用“推测”、“想当然”的字眼,在如法炮制出多篇千万流量爆款后,也碰到了死线。
2019年5月7日,“今夜九零后”遭到永久封号,但时隔半年后,又重换了个马甲——“青年大院"卷土重来了。
在不断左右横跳、打游击战的同时,易岚团队屡屡被指捏造事实、挑动对立情绪,更因文风与咪蒙相近,被猜测是“咪蒙系余毒”。
尽管咪蒙曾对此表示否认,称相关账号与其有未有任何从属、股权关系。但标签化这种东西,依旧是牢固的。
2019年4月,咪蒙在网上宣布公司解散,给员工发了盖有“咪蒙幼稚园”字样的毕业证书,随后,这一群带有咪蒙印记的“后浪”便开始奔涌入海。

咪蒙毕业证
如今,咪蒙式写作已经能成为一种精神鸦片般的存在,只要有市场与流量,就会有无数人成为下一个咪蒙,包括她自己。
最新数据显示,咪蒙1400万粉丝的主体是月薪 8000 左右的一二线白领,平均年龄 26 岁。
在大批流量的簇拥下,咪蒙也宣布即将迎来人生中的第三次创业——进军时尚领域,这次她将公司Slogan改为:陪伴新女性成长。
至始至终,咪蒙们从未消失。


评论