文 | 财联社 黄君芝
据专注于深入研究苹果公司的美国科技新闻网站AppleInsider报道,苹果于本周二(28日)向美国专利和商标局(United States Patent and Trademark Office,简称USPTO)提交了一项名为《模块化多屏电子设备》(Modular multiple display electronic devices)的新专利。
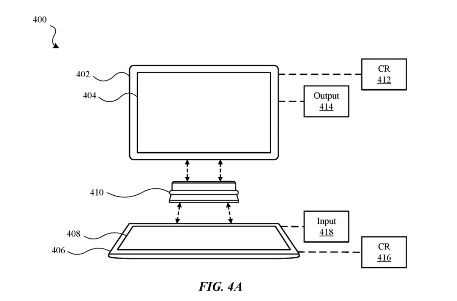
该专利文件显示,苹果正研发一种配件,这种配件能将两个iPad或iPhone连接在一起以实现笔记本电脑的功能。据悉,新配件将包括两个小连接器和一个铰链,连接器将促进设备之间的数据传输,让它们可以作为一个系统协同工作。当通过配件将两台iPad或iPhone连接在一起时,其中一台就可以用作显示器,另一台则可以用作动态键盘。

如下图所示,这种连接配件可以实现笔记本模式:让一台设备平放,铰链在后侧支撑第二台设备竖起。如此一来,下面的设备就可以作为上面设备的键盘,而且可以实现横屏和竖屏两种使用方式。

按照苹果的设想,这一硬件不仅可以以固定的方式连接两台相同的iPad,甚至可以连接两台不同大小的iPad,或是将二者垂直连接。如果连接两台相同的iPad,整个结构甚至可以和普通笔记本电脑一样被折叠起来收纳。
此外,该专利文件还表明,如果将两台设备的长边相连,还可以实现电子书模式。用户可以将两台设备直立在桌上,以书本形式站立方便阅读。在FaceTime视讯通话时,用户也无需手持。
微软双屏手机Surface Du与苹果新专利颇为相似,目前Surface Duo已经通过FCC、蓝牙SIG和加拿大UL认证。据报道,Surface Duo已经进入生产环节,预购页面预计会在未来几周内上线,微软可能会在8月最后一周开始向那些预订该设备的用户发货。

事实上,苹果的许多专利都曾经提到过双屏设备,而且每周都会提交大量的专利申请。尽管这些专利最终未必都能成为真正的产品,但这起码可以帮助外界大致了解他们的研发方向。
来源:财联社


评论