文|陈根
我们日常使用的耳机,不论是头戴式、入耳式还是无线蓝牙耳机,主要是通过空气传导的方式将声波传到耳朵里(也会有一小部分骨传导)。在这个过程中,外界的很多噪音和杂音也会随之传到听觉神经,例如在地铁里,我们必需通过调大耳机音量来遮盖噪音才能听清音乐,虽然这对听力很不好。
但骨传导耳机就不是通过空气传输声音,而是接触用户头部的特定点,将声音送入头骨并通过耳朵,在那里将振动转化为声音。相对于通过振膜产生声波的经典声音传导方式,骨传导省去了许多声波传递的步骤,能在嘈杂的环境中实现清晰的声音还原,而且声波也不会因为在空气中扩散而影响到他人。
然而,骨传导有一些缺点限制了它的实用性,首先是它在高频下的工作能力,在更高的赫兹范围内,音频质量会变差。这也是骨传导耳机至今未能全面普及的原因,毕竟,作为一款耳机,如果不能带来音质上的享受,可能已经失去了90%的市场。
但在一些专业领域里(如:医疗、军事、消防、运动等),它的体验又是最好的。而现在,随着科技地提高,骨传导耳机这一缺点也有了改善。
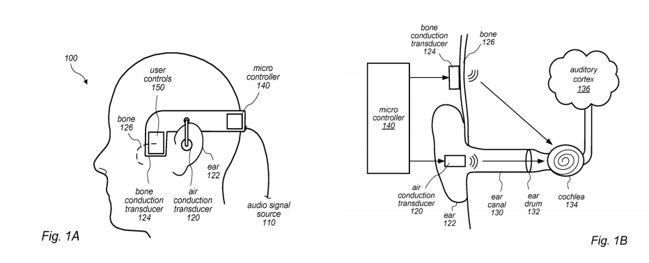
7月28日,美国专利和商标局授予苹果的一项名为 “使用音频压缩机的多路径音频刺激 ”的专利显示,该专利可以缓解骨传导的问题,部分是通过支持标准的空气传导方法。
苹果表示,音频信号被过滤成三类,包括高频成分、中频成分和低频成分。中频分量和低频分量再使用压缩器进行处理,降低动态范围,然后组合成一个组合分量。这个组合信号由于由低频和中频信号组成,在它的实用范围内,然后通过骨传导的方式,通过用户的头骨发送。高频分量如果通过骨传导发送就不会有效果,而是采用正常方式通过空气送到耳朵里。
这也意味着,未来AirPods的迭代可能利用骨传导技术,在各种普通耳机无效的情况下提供音频,所提出的系统将骨传导与普通的基于空气的声音传输相结合。
事实上,这不是苹果第一次研究使用骨传导技术。2014年和2015年的专利申请显示,它正在研究使用骨传导的无线耳机。尽管经过多年的努力,苹果尚未推出某种形式的骨传导产品,但其AirPods系列似乎是使用该技术的合适候选产品。



评论