文|锦缎研究院 九监
蚂蚁集团8月25日正式交表,最快9月将以“A+H”姿势俯冲二级市场。员工平均月薪5.5万,服务10亿用户和8000多万商家,日赚1.2亿,年度交易规模111万亿……这台财富机器引擎轰鸣声之巨,足以冠绝2020全球IPO市场。
492页的招股书(科创板版本)洋洋洒洒, 但对普通投资者来说,即便一字不漏全部审读,还原的只是蚂蚁的轮廓。洞悉它的内涵,需要将视线探向海面之下。
基于这样的考量,本篇报告试图探讨两个问题:蚂蚁做的是一件什么事,以及16岁的它做到了什么程度?
01、蚂蚁的本质:信用
以公众的感性的视角来看,蚂蚁=支付宝=基于云端的“支付+信贷”服务商,在我们日常的各种生活场景中出现,协助一笔笔琐碎交易的实现,基于10亿用户的规模效应,通过收取通道费用或赚取利差实现商业模式的闭环。
这样说来并没错,却不足以揭示它的本质:直到支付宝(蚂蚁)生命结束时,人们会在它的墓志铭上看到两个字:信用。这两个字,将是它自成立第一天起直至生命终结,所从事的唯一一件事。
信用,是经济系统运转的核心,财富的源泉。没有信用,货币就是一张纸,契约就是一张纸,证券甚至连纸都不如。
一如阿里尔·杜兰特在其著作《历史的教训》中所论述的那样:“财富是一种生产和交换的秩序和程序,而不是商品的积累,是一种对人和机构的信任,而不是纸币或支票的内在价值。”

图1:信用的产生机制。来源:岭峰资本,《信用的秘密》
从管仲(《管子·枢言》)到冯·米塞斯(《货币与信用原理》),再从马丁·舒贝克(《货币和金融机构理论》)到达里奥(《货币信用理论》),千百年来古今中外的经济实务大作手,都是蚂蚁的产品经理,进而以信用为藤生长出一串果实:支付宝、余额宝、招财宝、蚂蚁聚宝、网商银行、蚂蚁花呗、芝麻信用。
所有这些具体产品,无不是建立在一个人、一家公司、一家机构的全维度信用画像之上。
这正是蚂蚁最可怕之处:它很可能比你更了解你自己。
这也是投资蚂蚁这只股票需要掌握的精髓要义:不管它如何发展,未来会再戴上怎样的面具,遇到怎样的周期沉浮,只要在信用管理维度上不误入歧途,它的投资逻辑就不会改变。反之,清仓。

图2:蚂蚁(支付宝)通过信用信息接管人们生活的各个场景。来源:招股书。
蚂蚁掌握信用重器,从后视镜来看,得益于母体阿里巴巴(NYSE:BABA)在数字经济混沌时代最早涉足电子商务的先发优势。
从当前全球对于数据隐私保护的态势判断——无论是欧盟7月禁止隐私之盾(Privacy Shield,美欧数据条约)协定,还是美国8月基于tiktok事件所展现的姿态,以及中国当前在数据立法上的释放出的迫切且严肃态度,都在宣告,信用管理在全球范围内进入急剧收紧的情势中。这便几乎注定,后来者已经失去弯道赶超蚂蚁先发优势的幸运可能。
而在改道超车问题上——全球范围内的数字货币竞争,蚂蚁亦宣布正在参与其中。
故而从外部环境大势来看,大体上风向是站在蚂蚁这一边。但在一些微观视角上,蚂蚁对于信用重器使用的舞动姿势还须有防微杜渐式警惕度,比如目前已有自然人基于支付账户利息等问题,向上海知识产权法院对支付宝及蚂蚁提出反垄断诉讼。
02、16岁蚂蚁的模样
16岁的蚂蚁,在信用这件“一生一事”上,做到了怎样程度?透视这个问题,不能只看它的天量交易规模和海量营收利润(这主要得益于母体红利),而应代入内部视角,看看它的员工们的具体工作质量。
作为局外人,观察蚂蚁员工工作内容与质量的最佳窗口在于专利。
如招股书所述,截至2020 年6 月30 日,蚂蚁拥有16,660 名员工,其中包括10,646 名技术人员,占员工总数比例约为64%。可见,作为一家“Fintech”公司,蚂蚁的主要工作内容就是持续寻求技术进步,以确保产品体系的竞争力。
而技术,投影在权利资产范畴恰好就是专利。
据招股书,截至2020 年7 月31 日,蚂蚁及子公司在全球四十个国家或地区拥有专利或专利申请,共计26,279 件,其中6,382 件已经获得授权。上述专利及专利申请中,40.17%布局在中国大陆,59.83%布局在境外。
值得一提的是,这其中的大部分,都寄居在母体阿里名下,为了实现权属清晰,蚂蚁前后累计向阿里支付了122亿元的转让费以现实专利资产过户。以此亦可见技术价值在蚂蚁及阿里内部的共识度。
观察这些专利(技术)内容质量,最容易的一重思路是“擒贼先擒王”:在过去两年,以支付宝公司为对象,其申请的1876件发明专利中,专利申请数超过50件的发明人共计4位,分别是:
1. 周俊,蚂蚁金服人工智能总监;
2.王力,蚂蚁金服共享智能高级算法专家;
3.崔恒斌,蚂蚁金服人工智能高级算法专家
4.陈超超,蚂蚁金服共享智能算法专家

图3:支付宝公司专利发明人排行。来源:Patsnap
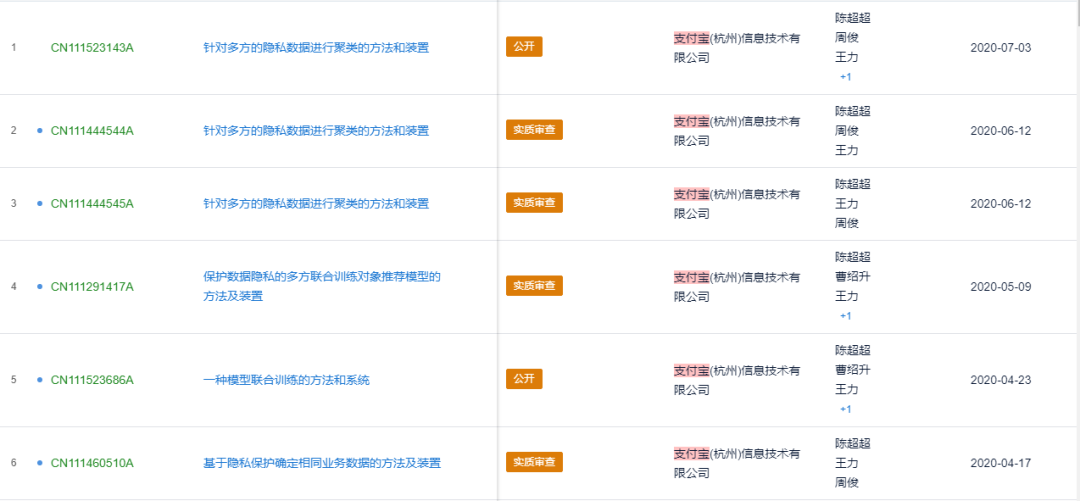
在该4人申请的发明专利中,最主要的技术聚类分布在3个方向:数据隐私的保护及处理,获客(用户粘性)相关的推荐引擎算法以及基于自然语言处理的机器学习技术。
由此可以有个基本判断,以信用基因为支点的人工智能战略是当前蚂蚁公司战略的重中之重。

图4:支付宝公司最新公开的发明专利申请多是围绕隐私保护展开。来源:Patsnap
而在这一战略上,最核心的维度是“隐私保护机器智能”(也称为“共享智能”),是指:通过技术手段,在多方参与且各数据提供方与平台方互不信任的场景下,能够聚合多方信息进行数据分析和机器学习,并确保各参与方的隐私不被泄漏,数据不被滥用。
换言之,这项技术可以理解为建立在隐私保护基础上的信用管理(授信、风控,推荐、营销)。
截至目前,全球范围内,涉及数据隐私保护的主流的技术包括隐私保护机器学习、联邦学习、多方安全计算及拆分学习等。
蚂蚁的隐私保护机器智能是对这些主流技术的糅合性创新,底层技术主要为可信计算环境(TEE,一种中心化部署技术)和多方安全计算(MPC,一种分布式部署技术)两种流派。
其中TEE技术主要基于英特尔的技术标准,MPC技术是基于2000年代初期诞生的“基于隐私保护的分布式关联规则数据挖掘”理论。
从“隐私保护机器智能”这一集合最高智慧力量的核心技术可以看出:一方面,16岁的蚂蚁对于Fintech的执著已走在世界前列——正在攻取数据隐私保护制高点;另一方面,16岁的蚂蚁在仍有可见的成长空间,糅合性创新仍是建立在他人的技术标准之上。
另外值得一提的是,蚂蚁还是全球在区块链技术上专利积累最多的公司。这一维度我们未来会在相关技术报告中展开。
以上,在我们初步且粗浅的研究看来,尽管上市便是万亿体量,但蚂蚁仍是一家成长型公司;其核心投资逻辑无他,唯“信用”二字。


评论