文|雷达财经 张凯旌
编|深海
9月25日,罗振宇一手创立的北京思维造物信息科技股份有限公司(下称"思维造物")发布招股说明书,宣布公司拟在创业板上市。
招股书显示,思维造物的主要产品包括"得到"App、"时间的朋友"跨年演讲、"得到大学"、"罗辑思维"微信公众号等,公司2019年归母净利润1.17亿元,截至2020年一季度资产总额12.49亿元。然而,在招股书中思维造物绝口不提“知识付费”,而将自身行业定义为终身教育。
根据招股书,思维造物本次募集资金约为10亿元,公开发行不超过1000万股,占发行后总股本的比例不低于总股本25%。据此计算,公司估值约为40亿元。而根据天眼查,公司2017年9月完成D轮融资后,估值已达80亿元人民币。此次上市,估值腰斩,堪称“流血上市”。

作为思维造物的灵魂人物,硕士毕业后,罗振宇曾到北师大艺术系教书,在那两年半的生活中,他感受到了"一种绝望的穷"。面对这种境况,罗振宇给出的回应是"死磕自己"。创业后,罗振宇主打知识付费,曾被质疑靠知识付费贩卖焦虑"骗钱"。
根据易观千帆数据,"得到"近年App月活呈下降态势。对于得到App的发展,罗振宇似乎也颇为“焦虑”,在参加综艺节目时,罗振宇曾表示,“自己舔着脸撑下去,主要是为了给得到APP打广告。”

根据招股书,IPO前罗振宇对思维造物持股41.66%。假设未行使超额配售选择权,本次发行后,罗振宇的总持股比例将下降至约31.25%。以发行募资计算,顺利IPO后,罗振宇身家近13亿。
曾感到绝望的罗振宇,能依靠上市走出焦虑吗?
“流血”也要上市 罗振宇身价或接近13亿
据招股书,公司2019年营收6.28亿元,归母净利润1.17亿元。
在招股书中,思维造物自称是一家从事"终身教育"服务的企业。自2014年以来,公司历经多个里程碑,包括2015年"时间的朋友"跨年演讲首度举办、2016年"得到"App发布、2018年"得到大学"招生、2020年知识春晚播出等。

图片源自招股书截图
数据显示,截至2020年一季度,跨年演讲已举办5届,到场参与人数累计超4万;"得到"App月活超350万,累计注册用户2135万,每个付费用户的客单价由2017年的203.81元提升至2019年的231.93元;"得到大学"线下校区已覆盖国内11个城市,开设85个班次,录取学员超7000人。
线上知识服务业务为思维造物最核心的业务,2019年为公司贡献4.12亿元营收,占总营收的66.26%。除此之外,公司线下知识服务业务、电商业务收入占营业收入比例分别为18.53%、13.85%。
其中,线上知识服务包括在线课程及讲师、听书和电子书,线下知识服务则主要由"得到大学"和跨年演讲两部分组成。
随着罗振宇和"得到"IP被越来越多的人熟知,其各项业务的价格也逐渐水涨船高。"得到大学"2018年刚创立时的学费约为9800元/学期,至今年第6期已达13381元/学期。跨年演讲的门票也从2016年的1482元涨至2019年1636元,去年仅门票销售流水就达1282.43万元。

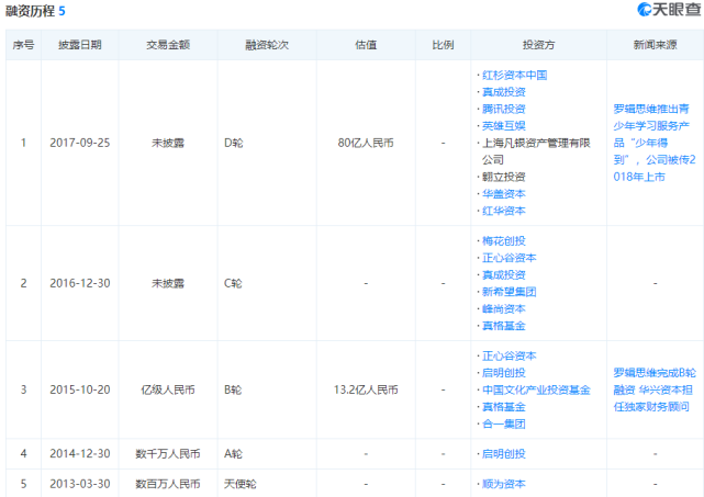
天眼查数据显示,2013-2017年,思维造物共经历五轮融资,投资方包括红杉、腾讯、真格基金、华兴资本、中国文化产业投资基金等众多知名投资机构。2017年9月完成D轮融资后,思维造物的估值已达80亿元人民币。
而思维造物本次募集资金约为10亿元,公开发行不超过1000万股,占发行后总股本的比例不低于总股本25%。据此计算,思维造物估值约为40亿元,堪称“流血上市”。
根据招股书,IPO前罗振宇对思维造物直接持股910.61万股,占比30.35%,通过控股投资管理合伙企业杰黄罡间接持股16.26%,共计持股41.66%。假设未行使超额配售选择权,本次发行后,罗振宇的总持股比例将下降至约31.25%。以发行募资计算,顺利IPO后,罗振宇身家近13亿。
曾感到"一种绝望的穷" 靠《罗辑思维》节目走红
现年47岁的罗振宇,是如何一步步走到今天的?
1973年,罗振宇出生于安徽芜湖。对于这座城市,2016年罗振宇在许知远的《十三邀》中曾评价道,"它调教了你生命最底层的那些代码,你学知识就是为了匍匐前进,找到前方的一个出口,然后走出这个城市,这是你生命当中唯一重要的事情。"
罗振宇通过高考考上了华中科技大学新闻系,他还是北京广播电视学院电视系的硕士、中国传媒大学的博士。
《十三邀》中,罗振宇自述硕士毕业后曾到北师大艺术系教书,在那两年半的生活中,他感受到了"一种绝望的穷"。面对这种境况,罗振宇给出的回应是"死磕自己"。
2000年前后,罗振宇以临时工人员的身份进入了央视,开始了被自己评价为"人生当中最有幸"的一段经历。
罗振宇不愿意从底层记者熬起,选择去做了撰稿人,连续3年担任315晚会的总撰稿。
2004年对罗振宇来说是特殊的一年,他在这一年报考了北京广播电视学院的博士,同时还进入了央视的《对话》栏目组,并于此后创造了两会期间一天播一期的先例。
"当时有一句话,外企的全球CEO到中国来访问,干三件事,登长城,吃烤鸭,上《对话》。"而此时的罗振宇,已悄然间过了而立之年。
2008年,罗振宇离开了央视。"这个行业的价值,已经不着落在组织身上,而是着落在一个具体的个人身上。因此,我在央视的时候已经明白,下一步如果我走,那一定是去做一个主持人,不管怎么样,先把胖脸露出来再说。"
为罗振宇实现主持人梦想的,是第一财经。据彼时《中国经营者》制片人曾捷描述,罗振宇为了给自己在镜头前争取机会,坚持要把节目结束语改造成一个3分钟的个人脱口秀。
"他本来讲1分钟,后来讲到了一分半钟,然后他很聪明,一句赶着一句,逻辑特别强,不好剪。他就利用这个东西,把自己评述的时间给拱出来了。"
虽然已经实现了自己露脸的目标,但真正让罗振宇晋升为网红的,还是2012年底推出的"罗辑思维"。
"罗辑思维"是罗振宇构建的微信公众号,以音频及文章形式为用户提供免费、轻量级的知识服务,并推荐图书及相关衍生品。罗振宇每天坚持在微信公众号上播出一分钟有趣有料的音频,逐渐积累起大批忠实用户。
同期上线的还有《罗辑思维》视频,其以脱口秀的形式进行周播,节目时长约为40-50分钟,内容从医疗改革、地沟油,到王阳明的心学、现代世界起源,罗振宇在诙谐幽默地解读知识的同时,还自创了诸如"U盘化生存"、"魅力人格体"等许多新概念,节目上线后获得了意想不到的爆发。
2013年8月9日,罗辑思维推出付费会员,分200元、1200元两档会员价。仅仅6小时5000个亲情会员、500个铁杆会员售罄,以此计算会员收入160万元。罗振宇在跻身头部自媒体平台后,成功实现了粉丝变现。
2015年,思维造物推出"时间的朋友"跨年演讲,首创"知识跨年"新形态。2016年5月,得到App正式上线,每天60秒的语音拉长至10分钟,并在个人品牌的免费课程之外推出了薛兆丰、吴军、熊逸、武志红等大咖的收费课程。
其中"得到"的《李翔商业内参》上线的第一天,订阅数就突破了1万人,3个月后营收达到1400万元。
据罗辑思维CEO脱不花公布,截至2017年《罗辑思维》改版前,得到App注册用户558万人,日活超45万,付费专栏上线9个月即售出144万份课程。
看好乐视和暴风被打脸 被指"贩卖焦虑"的"骗子"
然而知识付费蒸蒸日上之时,争议也接踵而至。
罗振宇对商业人物和趋势的判断难言精准。从开始创业时看好的罗永浩,到乐视、暴风,再到卖煎饼的黄太吉、共享单车的ofo,罗振宇在演讲中曾经给予赞赏的公司都先后翻车,由此罗振宇和罗永浩也被并称为行业内的"黑风双煞"。

如果说这还是网友对罗胖的调侃,那么2017年《罗振宇的骗局:他永远不会告诉你的秘密》,则直指罗振宇更多意义上满足了绝大部分人不喜欢读书却喜欢被人称之为读书人的虚荣心,知识付费传授的知识常常"药不对症"。
"它传授的知识是未经你思考的,罗胖确实十分懂你的焦虑,但他永远无法治好你的焦虑,他只会不断挑逗你,给你制造焦虑。那些知识付费所贩卖的知识速成,其实质卖的不是某一领域的知识,而是一种'让你感觉很努力'的幻觉。"文章中写道。
随后,罗振宇本人在"得到"的公司例会直播中回应了"骗局争议"。他说,"那篇黑文真的没说错。有的人就那样,他订了知识产品,订完觉得没用。没用又花了钱,他得吐槽。"
但他也表示,"我们不会搭理外界的声音。他骂我有他的道理,我不说他是对还是错,我不听。"
47岁的罗胖 还焦虑吗?
罗振宇可以不理批评的声音,但不能不重视众多竞争对手的加入。
近几年,知识付费的赛道变得愈发拥挤。
在思维造物上线"得到"App的同时,音频分享平台"喜马拉雅FM"、知乎的知识分享社区"知乎live"、果壳网的付费问答产品"分答"等,都曾收到过不俗的反响。
2016年4月,知乎借愚人节契机放出与朋友圈红包照片相似的"值乎",开始试水在线付费模式;5月,"分答"因王思聪在1个小时内回答了32个提问收入22万元而爆红,上线43天付费用户就超过了100万;12月,喜马拉雅联合850位知识网红、2000多节课程打造"知识狂欢节",当天成交额超过5000万。
此后,豆瓣的知识付费栏目"豆瓣时间"、十点读书的知识服务项目"十点课堂"、蜻蜓FM、荔枝微课等新产品如雨后春笋般涌现,就连红极一时的咪蒙都曾推出付费音频《咪蒙教你月薪5万》,4天售出10万份,头条广告曾高达80万一篇。
然而在经历爆发期后,知识付费的热度也有所下降。数据显示,知识付费领域在2017年有52起投资事件,2018年降至41起,到2019年仅有不到10笔投资。
2019年3月底,知名财经作家吴晓波曾试水资本市场。其创建的杭州巴九灵文化创意股份有限公司曾试图通过全通教育借壳上市,后者拟以15亿元购买巴九灵96%的股权,但这笔交易却被深交所质疑实质为"吴晓波个人IP证券化",最终上市搁浅。
同年10月,证监局公布了思维造物在科创板上市辅导基本情况表。但据证监会在2019年年初发布的《科创板实施意见》,其受理企业重点支持的是新一代信息技术、高端装备、新材料、新能源、节能环保及生物医药等高新技术产业和战略性新兴企业。
今年4月,思维造物结合自身情况决定将上市板块由科创板变更为创业板。
思维造物已开始出现疲态。
今年5月"得到"发布的第四封 "致用户信"中,App公开的最新注册用户数为3870万,较一年前增长了800多万。
然而,根据易观千帆数据,"得到"近年App月活呈下降态势。其中,从2016年5月得到App上线到2018年,得到App的月活基本在200万—300万之间浮动。进入2019年后,得到App月活下降至200万以下。最近半年来,得到App月活基本上维持在180多万,最低为2月份159.8万。
此外,招股书显示,思维造物营业收入波动非常大,从业绩等基本面来看并不稳定,公司2017-2019年营收分别为5.56亿元、7.38亿元和6.28亿元,2018 年营收同比增长32.64%,2019 年同比下降14.91%。
2018年思维造物归母净利润仅为5300多万元,但2019年却陡增至1.17亿元,其原因系公司对原子公司酷得少年丧失控制权,核算投资收益所致。
在思维造物的利润构成中,包含大量的政府补贴。2017-2019年,公司计入其他收益的政府补助金额分别为87.73万元、1166.67万元和1426.83万元,占当期利润总额的比例分别为1.11%、20.68%和 11.71%。
若以扣非净利润口径计,则公司2019年扣非净利润同比2018年下降6.5%。有业内人士认为,如果思维造物的营业成本没有断崖式收缩,2019年扣非净利润同比下降幅度还会更大,甚至有可能是亏损。
在此情况下,鲜有机会在社交媒体露面的罗振宇,也于今年1月参加了综艺节目《奇葩说第六季》。而他在其中的表现则被网友点评为"时刻想着为自家罗辑思维打广告",《奇葩说》官方甚至专门为他剪出了一集"花样打广告"的花絮。
回溯罗振宇的过去,从被"焦虑"推着前进,到被人指出"贩卖焦虑",如今的上市,是治好"焦虑"的良方吗?


评论