记者 |
因为高昂的估值和诱人的员工激励计划,蚂蚁集团的上市成为一个关于“造富”的故事。
最早的传言出现在7月20日。当日,支付宝母公司蚂蚁集团宣布,将启动在科创板和香港联交所主板同步发行上市。网络消息称,当天下午蚂蚁集团杭州总部大楼传出欢呼声,不过之后,蚂蚁方面表示是因为马云到访了公司,与“财富自由”无关。
而在10月26日蚂蚁集团宣布发行定价之后,更加清晰的数字摆在了众人面前。根据蚂蚁集团公布的招股书,截至2020年9月30日,经济受益权激励计划项下的经济利益所对应发行人股份合计30.79亿股,其中授予蚂蚁集团的员工及顾问的比例约为65%。
同时,截至2020年6月30日,蚂蚁集团员工总数为16660人,也就是说,超过1万名员工将从中受益——按照68.8元的发行价计算,蚂蚁集团员工及顾问的奖励共计约1376.9亿元,平均下来,每名员工可以分到大约827万元,约等于拥有杭州一套200多平方米的房子。
据《棱镜》报道,一个7年前入职支付宝的P7,在蚂蚁上市后将拥有过亿的财富。不过,蚂蚁方面近日通过“支付宝”公众号对此回应称:“我没有千万身家,也买不起283平米的大房子。但现在没有不代表以后没有,梦想还是有的,我会加油的!”

2014年起,蚂蚁设立并实施员工激励计划,目前正在实施的员工激励计划包括《浙江蚂蚁小微金融服务集团有限公司2013股份经济受益权激励计划》以及以蚂蚁国际B类股份作为激励基础的上市前境外员工激励计划。
招股书显示,蚂蚁计划设立上市后的境内外员工激励计划,拟在上市后通过增发或回购等形式,以不超过9.14亿股股份用于未来约4年的员工激励,其中A股限制性股票激励计划使用不超过8.22亿股,上市后H股激励计划使用不超过0.92亿股。
与此同时,从上市消息传出之后,蚂蚁的估值就一路走高。
10月26日晚,蚂蚁集团确定发行价,A股发行价为68.80元/股,H股发行价为80港元/股(约合人民币68.85元/股),总市值约2.1万亿元,或超过“A股股王”茅台。
针对公司目前的估值情况,蚂蚁集团首席财务官韩歆毅在参加10月27日的路演时表示,公司在本次发行过程中,与境内外主流机构投资者进行了充分地交流,投资者普遍认可公司持续增长前景和长期投资价值,认为目前的定价水平合理。公司有信心在未来保持业绩良好增长态势。
但在有些戏谑意味的“员工造富”故事背后,蚂蚁背后的股东才是真正获得巨额回报的大佬。
蚂蚁集团于8月25日发布的招股书显示,截至招股文件发布之日,君瀚、君澳作为蚂蚁的员工持股平台分别持有蚂蚁29.8%和20.6%的股份,为控股股东。
在蚂蚁集团上市后,杭州君瀚持股稀释为23.37%,杭州君澳稀释为16.17%。具体来看,员工经济受益权激励计划由杭州君瀚实施,而杭州君澳则主要是阿里合伙人的持股平台。
此外,阿里巴巴持股为96.52亿股,稀释为31.77%,而外部股东中,全国社保为最大机构投资者,持股2.3%。
先来看杭州君瀚背后的股东:天眼查信息显示,杭州君洁持有杭州君瀚97%的股份,且在杭州君洁股东中,曾松柏(现任蚂蚁集团首席人才官)和韩歆毅(蚂蚁集团副总裁,负责财务、融资事务)持股最多,为13.59%;剩下的股东包括马云(阿里巴巴创始人)、谢世煌(阿里巴巴联合创始人)、井贤栋( 蚂蚁集团执行董事长)等。
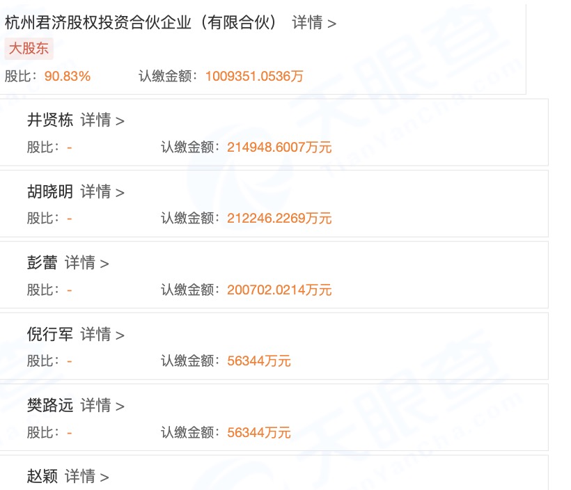
杭州君澳最大的股东则为杭州君济,持有90%的股份,君济的股东包括了众多阿里和蚂蚁的高管,其中阿里合伙人彭蕾持股达49.7%。
据统计,除了马云之外,按照68.8元/股的发行价计算,阿里合伙人中身家过百亿的就有13位,包括彭蕾、井贤栋、陆兆禧、邵晓峰、戴珊、吴泳铭、童文红 、张勇等人;在整个阿里和蚂蚁系高管中,过百亿的超过20人。
当然,最让人关注的还是马云的财富。蚂蚁上市后,马云的实际控制权将稀释为39.55%,但依然拥有绝对控制权。此外,马云个人持股比例不超过8.8%,基于公布的发行价,拥有的股份价值274亿美元。
这也意味着,马云的总资产将达到716亿美元,超越甲骨文公司创始人拉里·艾里森等,成为全球第11大富豪。
今日,蚂蚁集团A股网上申购开启,根据安排,11月2日将根据中签结果缴纳认购款。此前在26日,蚂蚁集团香港发行开始1个小时后,H股机构发行部分已经超额认购——人人都想要分一杯羹。11月,蚂蚁即将正式挂牌,这场资本盛宴将最终拉开帷幕。



评论