记者|张晓云
作为重要的融资渠道,蚂蚁集团上市暂缓后,旗下花呗借呗相关ABS融资项目是否获批颇受外界关注。
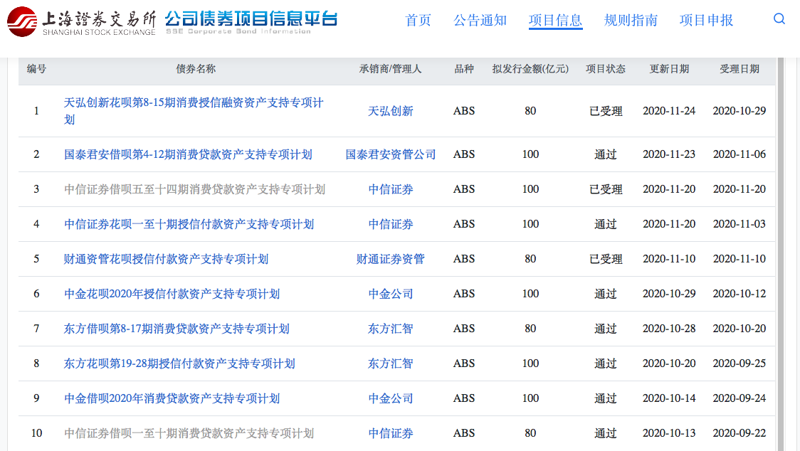
11月24日晚间,界面新闻记者查询上交所公司债券项目信息平台公告发现,有200亿花呗借呗相关ABS 融资项目获上交所批准放行,分别是11月6日受理的《国泰君安借呗第4-12期消费贷款资产支持专项计划》、11月3日受理的《中信证券花呗一至十期授信付款资产支持专项计划》,涉及的融资金额均为100亿元。
前述两个项目通过的日期显示为11月20日和11月23日,涉及的原始权益人分别是重庆市蚂蚁商诚小额贷款有限公司、重庆市蚂蚁小微小额贷款有限公司。重庆市蚂蚁商诚小额贷款有限公司注册资本40亿元,重庆市蚂蚁小微小额贷款有限公司注册资本为120亿,均为蚂蚁集团全资子公司。
除了前述新近通过的2个ABS项目外,蚂蚁集团旗下与花呗借呗产品相关的还有3个ABS产品已经获得上交所受理,但尚未获得通过,分别是10月29日受理的《天弘创新花呗第8~15期消费授信融资资产支持专项计划》、11月10日受理的《财通资管花呗授信付款资产支持专项计划》、11月20日受理的《中信证券借呗五至十四期消费贷款资产支持专项计划》。
数据显示,自2016年蚂蚁花呗获批发行ABS之后,蚂蚁花呗通过ABS的申请融资金额总计超4500亿。

2017年末,受到央行等发布的“现金贷新规”规定,将控制放贷机构的高杠杆率,ABS需要纳入表内融资计算,蚂蚁花呗单次ABS融资金额从每单300亿骤降至每单约80亿元,在2019年,花呗ABS方式融资项目金额依然达到980亿元。
今年以来,蚂蚁集团旗下花呗、借呗已经在上交所提交了15个ABS高达1250亿元的融资计划,其中,12个项目共计990亿元的融资已经获得批准发行。



评论