文|连线Insight 钟微 王古锋
编辑|子夜
新消费无疑是今年最受资本宠爱的赛道之一。
以喜茶、完美日记、泡泡玛特等为代表的新消费品牌,正站在浪潮之巅。
挤入浪潮中的投资机构,迫不及待地往上添火:1年时间喜茶估值从90亿涨到160亿元;3年里,完美日记估值翻了40倍;今年7月元气森林新一轮融资后,估值相比上一轮暴涨3.5倍。
新消费品牌的融资也接踵而来,据IT桔子统计,2020年上半年,我国新经济消费领域投融资额约为190亿元,投融资事件数为120件。
新消费品牌抓住了新时代的消费趋势,并由此进行经营模式的创新,获得了年轻人的青睐。
尽管外界不断出现关于新消费品牌是否被高估的讨论,但资本依然在抢一张入场券,并甘愿为它付出更高溢价。
新消费品牌的魔力究竟是什么?资本又为何要不计代价地争夺?
1、新消费赛道的大买家在投什么?
大买家已经频频在新消费赛道出手。
高瓴资本就是其中之一。
2019年底,在北海道二世古滑雪场,完美日记创始人黄锦峰和高瓴资本张磊花了一整天的时间滑雪、用餐、谈话。
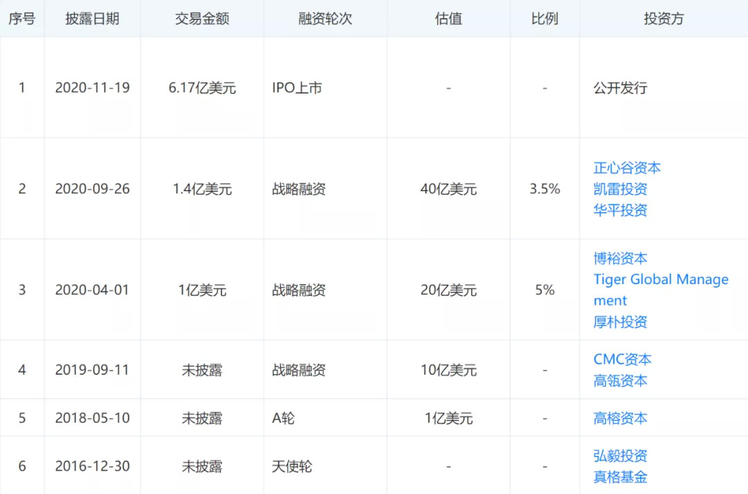
早在2018年5月,高瓴创投董事总经理戴粤湘与黄锦峰第一次见面时,便表达了坚定的投资意向,成功投资了其A+轮。之后,2019年9月,高瓴资本下场,参与完美日记10亿美元的战略融资。
作为亚洲最大的投资机构之一,高瓴资产管理规模增长至超过5000亿人民币,平均年回报率超过40%。
高瓴的下场,是一个值得关注的时间节点。当时,随着国内美妆行业的进一步发展,本土品牌正迎来崛起的最佳时机。而完美日记已经成为美妆界的超级黑马,创造了诱人的增长曲线,并收获了许多投资人的关注。
早期投资完美日记的真格基金,曾顶着风险和压力,在2019年对完美日记进行了跟投,金额为1800万美元。
现在,完美日记背后站着众多头部投资机构,2020年4月C轮融资后,完美日记估值达到20亿美元。上市后,其母公司逸仙电商市值高达122亿美元。目前,逸仙电商占股前三的机构股东为高瓴资本、真格基金及高榕资本。

完美日记融资历程,图源天眼查
更多的头部投资机构涌入了茶饮市场。
10月13日,蜜雪冰城被传即将完成IPO前最后一轮融资,投资方为高瓴资本、美团旗下龙珠资本,该轮被曝出将融资10亿-20亿人民币。
另一边的喜茶,背后站着IDG资本、红杉资本、高瓴资本、美团旗下龙珠资本等投资方,在今年3月完成了由高瓴资本和Coatue(蔻图资本)联合领投的C轮融资后,喜茶投后估值超过160亿元。
押赛道,不押单一企业,是一种常见的投资策略。在茶饮行业也十分常见。在喜茶不断刷新融资纪录,甚至向IPO发起冲击时,红杉资本和龙珠资本又投资了茶饮品牌古茗,这是一家攻占下沉市场的品牌。
投资是一场赌博,越早看到企业的潜力,就将得到更多回报。
创业工场投资人麦刚曾给了泡泡玛特一笔200万人民币规模的天使投资,按照泡泡玛特招股书中预计的25亿美金估值计算,麦刚给出的这200万人民币的回报超过了400倍。
“投资新经济,重仓年轻人。” 梅花创投创始合伙人吴世春将这句话印在了名片后面。
可以说,投新消费品牌,实际上是在投未来的消费趋势,为此,即使要付出更高的价格,也有投资机构愿意买单。
2、凭什么让资本买单?
一个赛道最能打动投资者的因素有很多,从消费者的刚需,到创新力带来的持续增长,以及一个增量市场。
从第一批90后走到而立之年,到00后走入社会,他们都成为了消费的主力军。
消费者的需求正在急剧改变,这些变量创造了新的机会,踩中时代节点就有可能爆发。
这不仅仅是创业者在赌,投资人也在赌。
回想起爆红的新消费品牌,它们的爆发点都恰好赶上一个新消费趋势的拐点。
以喜茶为例,当人们已经厌倦了粉末勾兑的奶茶时代时,它以一个全新的面貌出现——主打现泡茶和新鲜牛奶的结合,同时在商场开出类似星巴克一样的门店,这可以说是重新定义了奶茶,并迅速替代了以往街边的奶茶小铺;
完美日记诞生的时候,正好也迎上了小红书、微博、抖音、B站等新渠道带来的流量红利,从线上做起的完美日记,成为了美妆行业的新锐品牌;
元气森林则踩中了零卡、低糖、无糖的风潮,以健康为出发点切入0糖领域;
泡泡玛特则吃到了盲盒的时代红利,做起了IP+盲盒的生意,实现了年赚4亿的爆发式增长……
这样的名单还在越来越长。不同的细分领域,还在涌现具有不同潜力的新消费品牌。
更让投资人疯狂的是,这些新消费品牌的赚钱能力称得上优秀。
泡泡玛特的招股书显示,其2017年营收为1.58亿元,2019年却达到16.83亿元,呈现了十几倍的增长速度。同时,2017年至2019年公司净利润分别为156.9万元、9952.1万元、4.5亿元,三年时间利润暴涨289倍。
元气森林虽还未上市,但曾发布相关数据,2020年前5个月,其卖出1.9亿瓶饮料。单月销售额分别为7400万元、3900万元、1.2亿元、1.7亿元和2.6亿元,总计6.6亿元人民币。可以保守估计,今年上半年其营收接近或超过10亿元。
可以说,它们碰上了一个好时代。
年轻消费者更愿意为产品品质、创新设计买单。IDG资本合伙人闫怡勝也曾提到,如今消费主力军的认知力是上一代人的3倍,对品味追求很厉害,具有国际性的视野,即使年薪10万,他也能花30万。
比如在奶茶领域,喜茶、奈雪通过不断研发新的产品品类,并进行配方调整,即使产品单价高出普通奶茶许多,依然有大批消费者愿意为其买单。
高增长、新风口、能赚钱,这样的项目受到热捧并不意外,投资机构也愿意接受一定的溢价,但一些品牌的估值高于行业数倍,也引起了关注和质疑。
3、新消费品牌被高估了吗?
随着一轮又一轮新消费品牌的融资狂欢,对于估值是不是过高的讨论也随之而来。
在外界看来,新消费品牌的软实力雄厚,硬实力却不足。
新消费品牌的成功,离不开迎合年轻人的品牌理念、精巧的设计甚至一系列的营销,但是在研发能力、产品的质量、供应链能力上,与行业其他玩家相比,不一定具有明显优势。
以元气森林为例,元气森林的主要产品为燃茶和苏打气泡水,凭借“0糖,0脂,0卡”锁定自身健康饮品的定位;在设计上,品牌名采用了日语“気”,在产品文案上多采用日本元素。
元气森林创始人唐彬曾说:“我们敢在收入20亿元的时候拿出18亿元去做广告投放。”
实际上元气森林也是这么做的,从电梯楼、地铁站再到电视、手机,元气森林的广告营销可谓大手笔。
广告打得响,产品的竞争壁垒却不高,可口可乐、哇哈哈、农夫山泉已经打起了自己的无糖、低糖产品,未来,元气森林必然要面对激烈的竞争。
连线Insight曾在《元気森林估值或达140亿,它做对了什么?又有什么隐忧?》一文中,详细描写了元气森林面临的机遇和挑战。
香颂资本执行董事沈萌在接受媒体采访时表示,在私募阶段,估值不受市场对比考验,元气森林估值可能严重泡沫化。
再来看泡泡玛特,根据泡泡玛特发布的年中报,截至2020年6月30日,共运营97个IP,其中12个自有IP、25个独家IP以及56个非独家IP。其中,最知名的Molly单个IP占总营收三分之一。
泡泡玛特在招股书里写道:“公司并无法确保Molly的受欢迎程度能一直保持在其现有水平,如果Molly受损害或未能保持其目前对消费者的吸引力,则将面临没有替代品的困境。”
据《中国经营报》报道,泡泡玛特IP合作并不稳定,外部设计师是公司IP的主要创作者且公司自身的研发能力弱,外部IP设计师的议价能力高,可以说泡泡玛特在上游研发并不具备主导权。
同样的问题也出现在产业中下游,目前泡泡玛特主要采用的是代加工模式和经销商体系中,下游产品的制造和销售不可控,也导致产品掉漆等质量问题。这种情况下,泡泡玛特旗下经销商曾状告泡泡玛特违反合作协议,自行跨区售卖产品引发内战。
同时,泡泡玛特还面临着激烈的竞争,这样的境况,引发了泡泡玛特值不值40亿美元的讨论。
目前,对于新消费品牌的估值,主要有“泡沫论”和“互联网论”两种观点。
“泡沫论”主要指过度的营销,根据深响相关报道,新消费品牌的估值主要采用市销率(市值除以销售额),投资机构通常会根据品牌上一年的收入乘以市销率倍数来得出品牌的估值,倍数越高,说明该品牌在一级市场拥有更高的溢价。
以元气森林为例,2020年上半年8亿销售额,其市销率为7倍,远高于同行的2-3倍,其中在A股饮料行业中,香飘飘、青岛啤酒、承德露露市销率分别为3.21、3.99和4.13。
以这种算法,不少人认为新消费品牌的估值存在泡沫,实际上其实力撑不起来高估值。
“互联网论”则认为新的消费品牌,应该按照互联网公司的逻辑来看,其根本目的不在于财务报表上的营收和净利润,而在于链接更多的用户,通过“互联网+”的模式实现to C的触达。
“互联网论”认为决定企业价值的在于用户的粘性、活跃度和变现能力。以国泰君安互联网估值框架为例,V=K*P*N^2/R^2,K是变现因子、P是溢价率系数、N是网络的用户数、R是网络节点之间的距离。从中可以看出以用户为中心拆解的各项维度,成为了互联网企业估值的底层逻辑。
“互联网论”将用户当作最核心的因素,就这点来看,新消费品牌确实通过品牌运营,实现了用户的规模式增长,并提高了用户粘性和变现能力。
以上不同维度的算法,本质上还是在讨论一个品牌的综合实力。
消费新贵们刮起了阵阵旋风,但资本只是一个助推手,要在激烈的竞争中生存下来,玩家们还是要持续创新并筑起核心壁垒。


评论