文|雷达财经 张凯旌
编辑|深海
社区团购,这场没有硝烟的战争已经打响。
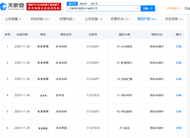
12月3日,雷达财经从天眼查显示,拼多多关联公司上海寻梦信息技术有限公司新增 "多多拼菜"、"多多鸡"、"多多果园"等商标信息。

社区团购是以社区为单位,以社群为交易场景,依靠团长向社区居民推荐商品、促成交易的一种电商模式。雷达财经梳理发现,今年以来,随着疫情期间社区团购的再度火爆,滴滴、美团、阿里等巨头已陆续入局,而在他们身后,还有每日优鲜、兴盛优选等平台。
近日,还有媒体报道称,在本周一(11月30日)的京东高管早会上,刘强东提出会亲自下场带队,将带领京东打好社区团购一仗。
此外,美团、滴滴等向外释放的信号来看,巨头对于这场战役皆是不计成本,没有预算。
拼多多注册"多多拼菜"
据天眼查,拼多多近日新增的商标涉及的国际分类包含社会服务、运输贮藏、饲料种籽、运输贮藏、食品等,目前状态为"商标申请中"。
早在今年3月,拼多多就曾推出"拼内购",招募团长;接着,又推出微信程序"快团团",商家可通过小程序上架商品。
8月,拼多多宣布将砸10亿重金补贴,推出社区团购项目 "多多买菜",并且该项目将由负责人向拼多多CEO直接汇报。8月底,多多买菜正式在武汉、南昌两座城市上线。10月,拼多多APP首页上线"多多买菜"入口。
虽然外界对"多多买菜"有众多猜疑,但拼多多CEO陈磊表示,"多多买菜"并不是社区团购,而是拼多多拼购电商业务的自然延伸。
不过从外界的风声来看,拼多多早已开始着手"挖团长"了。据媒体报道,多多买菜入驻西安后,签约本地4家地推公司近1000人团队,第一天便开500位团长。"我们的主要目标是兴盛优选的团长",一位多多买菜的内部员工坦言。
有上海社区的社区团长称,"最近拼多多旗下的快团团在推明星团长项目,月流水达到20万元就可以申请成为明星团长,快团团会把明星团长在团长群中推出。"
据悉,被推出的明星团长除了能在自己辐射的区域销售商品以外,还能获得其他团长分销带来的分成。业绩好的明星团长,月入六位数并不稀奇。
业内人士认为,鉴于以往在农产品等市场的深耕,拼多多在供给端上有着极大的优势。另外,在利用品牌商的渠道差异、经销商差异寻找价差方面,拼多多也是轻车熟路。"十亿补贴"就是最好的证明。
刘强东亲自下场带队
据晚点 LatePost报道,在11月30日的京东高管早会上,刘强东提出会亲自下场带队,将带领京东打好社区团购一仗。
分析人士认为,刘强东的下场,将会给京东在社区团购上的投资策略带来变化。
2018年7月,京东推出"京东邻里团"业务,一月后改名为"蛐蛐购",这被视为是公司最早在社区团购领域的布局;2018年12月,京东另一个社区团购小程序 "友家铺子"上线。2019 年 3 月,刘强东曾带领几名京东管培生,形成了独特的小团队编制,推出小程序 "京东区区购"。
目前,京东已经在京东大商超全渠道事业群下专门设置了社区团购业务部,并将友家铺子、京东区区购这两个品牌合二为一。
社区团购业务部负责人邵宏杰在今年8月底的一场演讲中表示,京东区区购将主打自营式平台,友家铺子将转型为共建平台,以服务商的方式,将自营已经摸索完成的方法论运营手段以及京东供应链,提供给合作的线下连锁便利店,帮助它们进行转型。
鉴于社区团购目前还处于早期阶段,京东内部的观点是:首先社区业态高度本地化,供应链很难形成全国网络;其次,目前的生鲜供应链只能支持某些品类,产地仓对于整个生鲜供应链的价值巨大,但没有几家在做。
多个巨头加入混战
社区团购并非近期兴起的概念。
两年前,社区团购就曾获得资本的热炒。据不完全数据统计,自2018年开始,先后有10多家社区团购平台获得资本青睐,融资额一度超过40亿元。
然而,社区邻里间琐碎而细微的需求以及社区的地理局限性,都导致解决生鲜类的产品品类、价格以及规模化等问题变得十分困难,资本们注入的巨额资金也未能形成某家企业脱颖而出的局面。
但在疫情期间,很多社区被封闭隔离,社区团购因此得到了更多人的了解和进一步的发展。中商产业研究院数据显示,疫情前后我国农产品购买渠道上,社区团购的占比由2%陡增至11.9%,湖北社区团购渠道占比更是提高了47个百分点。
艾媒咨询发布的《2020上半年中国社区团购行业专题研究报告》指出,在疫情的刺激下,2020年社区团购市场发展迅猛,市场规模预计将达720亿元,到2022年,中国社区团购市场规模有望达到千亿级别。
值此之际,巨头们开始逐渐加速对社区团购的布局。
6月,滴滴出行开始在成都试水社区团购项目"橙心优选",完全跳脱出行领域试水电商。
7月,美团宣布正式进军社区团购赛道,推出美团优选,由美团高级副总裁、S-team成员陈亮亲自带队,并在9月3日宣布千城计划。
此外,阿里和腾讯则分别投资了十荟团、兴盛优选。另有消息称,阿里已成立了社区团购事业部,要砸钱支持盒马进军社区团购,毕竟今年2月份,盒马就已在武汉探索社区团购盒马集市了。
在这份名单中,兴盛优选作为社区团购开拓者,2014年就开始探索业务模式,并于2018年正式注册成立。公司提供的数据显示,目前日均订单1000万单,预计2020年,平台GMV预计将达到400亿元。
值得一提的是,日前曾有媒体透露,有互联网巨头在"N倍薪资挖兴盛优选人才"。对此兴盛优选方面表示,"确实有人被挖走,但各个省区,核心管理人员也极其稳定。"
究竟谁能在这场"热战"中笑到最后?雷达财经也将持续关注。
雷达财经(ID:leidacj)


评论