文 | 投资界PEdaily 周佳丽 张继文
这是创投圈罕见的一幕:一所大学做起了VC。
投资界(ID:pedaily2012)获悉,近日,西湖大学(杭州)股权投资有限公司获得中国证券投资基金业协会私募股权、创业投资基金管理人登记。该股权投资公司系西湖大学的全资子公司,如此特别的身份,在VC/PE并不多见。
在此之前,西湖大学身上有一个显著的标签——科技成果转化。此次西湖大学(杭州)股权投资有限公司获得中基协基金管理人登记资格,意味着西湖大学加入到了VC/PE行列。
创办于2018年2月,西湖大学来头不小——借鉴了美国加州理工学院的规模和斯坦福大学的办学理念,剑指世界前沿科学技术,校长正是著名科学家施一公。他还是一位成功创业者,今年3月其参与创办的生物科技公司诺诚健华成功登陆港交所挂牌上市,首日总市值达122.5亿港元。
近两年,科学家创始人开始进入主流视野。与此同时,VC/PE圈也越来越欢迎技术派,更多技术背景出身的投资人开始成为焦点。显然,一个属于科学家和技术人员的时代正在崛起。
创投圈罕见:化身基金管理人,一所大学做起了VC
中国创投圈罕见浮现一抹大学院校身影。
投资界获悉,西湖大学(杭州)股权投资有限公司近日获得中国证券投资基金业协会私募股权、创业投资基金管理人登记,登记编号为P071595。如此特别的身份,引发了VC/PE圈的关注。
天眼查显示,西湖大学(杭州)股权投资有限公司成立于2020年8月26日,注册资本为1000万元人民币,登记的英文公司名为Westlake University Capital。值得一提的是,该公司为西湖大学全资子公司,校长便是著名的科学家施一公。

这一次,西湖大学(杭州)股权投资有限公司获得中基协基金管理人登记资格,意味着西湖大学正式成为VC/PE圈的一员:可以对外募资,设立创投基金,进行直接投资。
那么问题来了:一家大学为何悄悄做起了VC?梳理西湖大学的成长经历,不难发现其身上最显著的标签——科技成果转化。
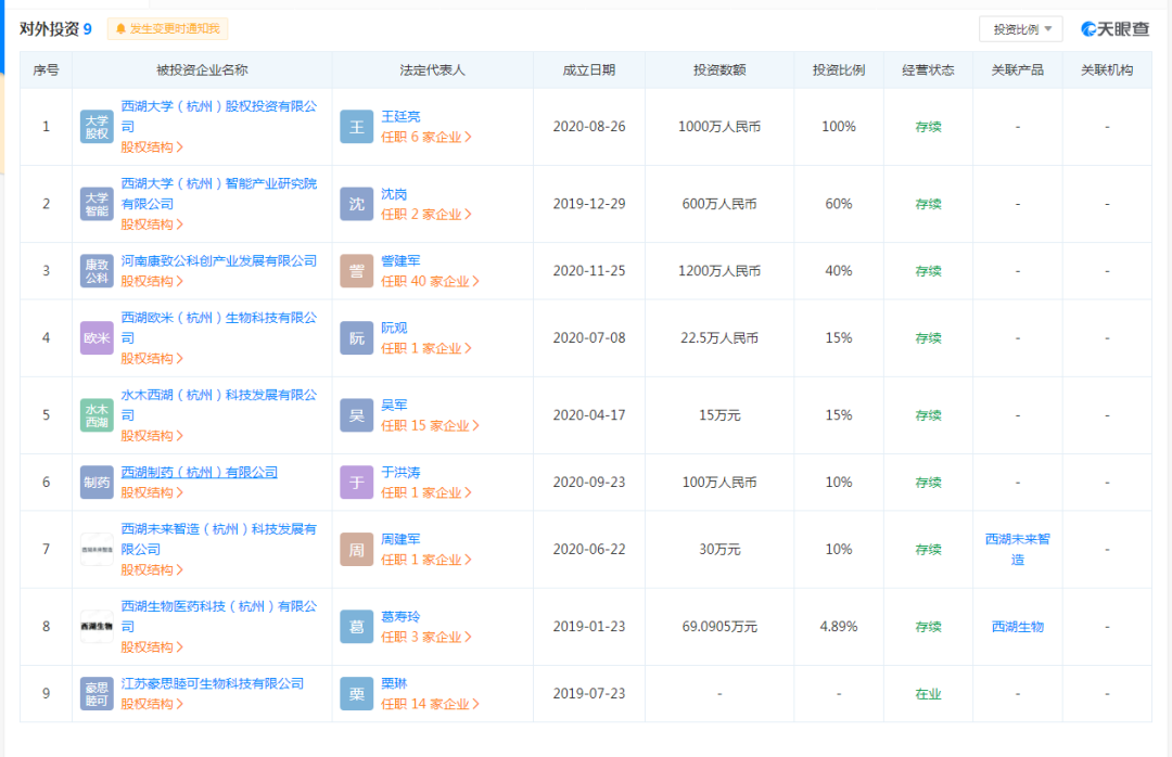
投资界穿透西湖大学(杭州)股权投资有限公司的股权图谱,发现该股权投资公司的法定代表人——王廷亮,担任了西湖大学内部多个孵化项目的负责人。其中,西湖生物医药科技(杭州)有限公司是西湖大学孵化出的首个科创种子选手,在今年年中宣布完成近亿元Pre-A轮融资。
这并非个例。西湖大学第二家面世的科技公司——西湖未来制造(杭州)科技发展有限公司在成立不到半年就已完成数千万元的天使轮融资,是继西湖生物医药科技后,西湖大学再次转化落地的自主科技成果项目。

早在创立之初,西湖大学就成立了成果转化办公室,带队的正是王延亮。在科研项目立项之初,西湖大学成果转化办就开始进行筛选和跟踪,这样无论是探索商业价值还是寻找市场定位,学校都比其他市面上的FA机构要早得多、快得多。
谈及成果转化办公室的初衷,王延亮曾表示:“学术圈有一堵墙,圈外人不知道项目的科技价值和社会价值,圈内人不知道成果的商业价值,如何弥补信息差,从而成功进行高科技成果的转换,成了产学研一体化最大的难题。”
“专业人做专业事”,西湖大学的这套模式十分清晰:从idea被提出的那一刻开始,到后期商业化的辅助、资本入场,每一步都有学校承担代理人和守门人的角色。科学家除了专心科研,不需要将多余的精力放在如何成立一家公司上。
如今,西湖大学(杭州)股权投资有限公司完成私募股权、创业投资基金管理人登记,这无疑为后续科技成果转化配套了投资基金,可以让学校在最早期给项目提供资金支持。这样一来,学校不仅仅承担FA的角色,还成为了早期投资人。
西湖大学有何来头?53岁施一公掌舵,剑指世界前沿科学技术
开创这一罕见的模式,西湖大学是有底气的。
创办于2018年2月,西湖大学由杭州市西湖教育基金会举办,该大学借鉴了美国加州理工学院的规模和斯坦福大学的办学理念,定位于“小而精、研究型”的非营利性新型高等学校,聚焦理学、生命与健康、前沿技术等方向设立一级学科。
投资界了解到,西湖大学首先以研究院的名义完成博士研究生的招生,偏重理工科;随后面向本科生。现在,学校已获批设立国家级博士后科研工作站,拥有独立招收博士后研究人员资格。
众多周知,西湖大学的背后掌舵人是科学家施一公。1967年,施一公出生在河南郑州。在读书期间,他就表现出了过人的天赋,在17岁那年获得全国高中数学联赛一等奖,后被直接保送至清华大学,成为清华大学生物系复系后的首届本科生。在清华校园中,施一公也多次蝉联专业第一名的成绩,是大家公认的学霸。
1989年,施一公从清华大学本科毕业,并前往美国名校霍普金斯大学进修取得博士学位,随后几年都在美国纪念斯隆·凯特琳癌症中心进行博士后研究。在1998至2008年的十年时间里,施一公完成了其在美的教授生涯。
在美国期间,基于出色的科研能力,施一公收到了很多美国高端科研机构的邀请,但他却作出了一个让许多人惊讶的决定:放弃这一切,全职回国,回到母校清华。2008年,施一公婉拒了美国霍华德休斯医学中心研究员的邀请,任清华大学生命科学学院院长,教授、博导,一人身兼多职,带领校内学生进行科学研究。
2013年,施一公正式成为中国科学院院士,两年后担任清华大学副校长。不过施一公的理想不止于此,他希望自己能够创办一所培养科研人员的大学。这一理念在2018年付诸落地——2018年1月9日,施一公请求辞去清华大学副校长职务,筹建西湖大学。获得国家的批准后,施一公与好友商议之后决定将学校位置定在杭州。同年4月16日,施一公当选西湖大学首任校长,著名科学家杨振宁任西湖大学校董会名誉主席,钱颖一教授为校董会主席。
鲜为人知的是,西湖大学的身后还潜伏着近百位知名企业家的身影。截至2018年3月底,西湖大学创始捐赠人已有:马化腾基金会有限公司、王东辉、王健林、邓营侯屈平夫妇、邓锋、吴亚军、沈月华、张磊、陈一丹基金会、林刚、深圳中意集团有限公司、白象食品集团、倪良正、徐益明、浙江敦和慈善基金会、黄昌华、曹挺、龚虹嘉、葛航、嘉里集团郭氏基金会(香港)有限公司等。
更值得一提的是,施一公不但是科学家,也是一位成功的创业者。2015年,施一公与崔霁松等人一起创办了生物科技公司——诺诚健华,并在今年3月成功登陆港交所挂牌上市。上市首日,诺诚健华总市值达122.5亿港元。
现在,一大批科学家涌入创投圈
科学家们专属的高光时刻,终于来临。
比施一公更早登上富豪榜的院士还有很多,中国工程院院士吴以岭便是其中一位。1949年,吴以岭出生在河北衡水一个中医药世家;高考恢复后,他考上河北新医大学(现河北医科大学)中医系,后又考上南京中医药大学研究生,毕业后进入河北省中医院工作。
1992年,吴以岭创办了一个医药研究所,而这个研究所后逐渐发展成如今的以岭药业。2009年,吴以岭当选为中国工程院院士;2011年,以岭药业在深交所中小板上市,作为创始人的吴以岭成为“中国院士首富”。
近两年,科创板迎来越来越多的硬科技企业,科学家创始人开始进入主流视野。
今年11月24日,一家国家工业控制系统信息安全领域的高科技企业登陆科创板,背后的创业者便是国内工业自动化领域科学家、浙江大学原副校长褚健。上市当天,公司市值达533.69亿元,褚健以IPO后持股22.77%计算,身家超百亿。
仅是今年,随着寒武纪、中芯国际、九号公司、恒玄科技等硬科技公司先后敲钟,理工科背景的创始人们也实现了财务自由,“硬核”科技造富时代正式来临。
与此同时,VC/PE圈也越来越欢迎技术派,更多技术背景出身的投资人开始成为焦点。
去年六月,阿里云首席科学家闵万里宣布离职,随后他创办了一个风险投资基金——北高峰资本,聚焦传统产业(制造业,农业,医疗)周边。
陆奇也是科学家投身VC圈的又一典型案例。2018年7月,陆奇宣布从百度离职。当时,几乎所有 BAT 级的科技公司,都给他抛来了橄榄枝。令人意外的是,陆奇却选择了跨界,加入了YC中国。
一年后的2019年11月21日,YC宣布关闭其分支YC中国的运营。陆奇团队用“奇绩创坛”接棒YC中国。随后,奇绩创坛(MiraclePlus)的首期美元基金已基本募集完成,首期规模约为1亿美金。背后LP相当豪华:包括比尔盖茨、孙正义、红杉、高瓴和北极光创投等。
在国内创投圈,科学家转型做VC已经是一大趋势。此外,VC/PE机构对技术型人才也极度渴求。
这样的一幕是在以前看不到的。几年前达晨财智总裁肖冰曾回顾达晨历史上投过的大部分公司,发现最占主导作用的不一定是核心的技术人员,往往是一个市场人员。因为在那个年代的创业人员里,更多的是销售能力很强的人占据主导作用,可能还有财务人员,而技术往往放在次要的位置。
但如今,产业出身且拥有技术背景的投资人越来越受欢迎。沈南鹏曾在一场公开活动上表示,继互联网、移动互联网浪潮,我们又进入了智能时代。而在智能时代,好的资本一定不是纯的金融投资者,而是战略投资人,最好的投资人应该是懂产业的投资人。
无论是创业公司还是投资机构,技术已经成为一个重要壁垒。回望中国创投历史,也许从来没有过像现在这样如此渴求“技术型”投资人和创投机构。一个属于科学家和技术人员的时代正在崛起。


评论