文|中国网地产
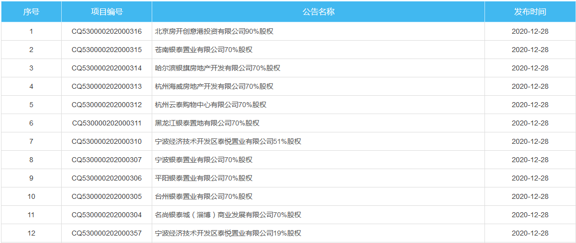
12月28日,据云南省公共资源交易中心消息,云南城投集中挂牌转让11家公司部分股权,转让底价合计约30.09亿元。

云南城投置业拟转让北京房开创意港投资有限公司90%股权,转让底价99.4万元。
资料显示,北京房开创意港投资有限公司成立于2014年1月21日,注册资本1000万元,经营范围包括项目投资;投资咨询(中介除外);销售商品房;房地产开发;出租商业用房。公司由云南城投置业持股90%,北京房开鼎盛投资有限公司持股10%。
据主要财务指标显示,截止2020年9月30日,北京房开创意港投资有限公司资产总计68.28亿元,负债总计68.98亿元,所有者权益-7008.09万元。
交易条件显示,标的企业股东北京房开鼎盛投资有限公司保留优先购买权。意向受让方应于挂牌截止日当天17:00时前通过银行转账交纳意向金人民币0.33万元。
云南城投置业拟转让苍南银泰置业有限公司70%股权,转让底价5.22亿元。
资料显示,苍南银泰置业有限公司成立于2013年10月15日,注册资本1亿元,经营范围包括房地产开发经营、房屋租赁、物业管理、企业管理咨询;场地租赁;停车场经营等。公司由云南城投置业持股70%,北京银泰置地商业有限公司持股30%。
据主要财务指标显示,截止2020年9月30日,苍南银泰置业有限公司资产总计16.56亿元,负债总计9.24亿元,所有者权益7.31亿元。
交易条件显示,标的企业股东北京银泰置地商业有限公司保留优先购买权。意向受让方应于挂牌截止日当天17:00时前通过银行转账交纳意向金人民币173.45万元。
云南城投置业拟转让哈尔滨银旗房地产开发有限公司70%股权,转让底价1.75亿元。
资料显示,哈尔滨银旗房地产开发有限公司成立于2012年6月15日,注册资本2亿元,经营范围包括房地产开发与经营;自有房屋租赁;建筑装饰;会议及展览服务;停车场服务;物业管理;汽车美容;代收代缴水电费;教育咨询等。公司由云南城投置业持股70%,黑龙江盛丰投资持股18.5%,北京银泰置地商业有限公司持股11.5%。
据主要财务指标显示,截止2020年9月30日,哈尔滨银旗房地产开发有限公司资产总计26.03亿元,负债总计25.19亿元,所有者权益8403.86万元。
交易条件显示,标的企业股东北京银泰置地商业有限公司、黑龙江盛丰投资有限公司保留优先购买权。意向受让方应于挂牌截止日当天17:00时前通过银行转账交纳意向金人民币58.01万元。
云南城投置业拟转让杭州海威房地产开发有限公司70%股权,转让底价1.22亿元。
资料显示,杭州海威房地产开发有限公司成立于2005年3月4日,注册资本5000万元,经营范围包括开发、经营:杭政储出(2004)37号地块房地产; 服务:停车管理;含下属分支机构经营范围。公司由云南城投置业持股70%,北京国俊投资有限公司持股30%。
据主要财务指标显示,截止2020年9月30日,杭州海威房地产开发有限公司资产总计11.39亿元,负债总计9.79亿元,所有者权益1.6亿元。
交易条件显示,标的企业股东北京国俊投资有限公司保留优先购买权。意向受让方应于挂牌截止日当天17:00前通过银行转账交纳意向金人民币40.50万元。
云南城投置业拟转让杭州云泰购物中心有限公司70%股权,转让底价10.72亿元。
资料显示,杭州云泰购物中心有限公司成立于2013年3月18日,注册资本2亿元,经营范围包括房地产开发、经营;物业管理、停车服务、酒店管理、室内外装修、房屋租赁;建筑材料、装饰材料、百货的批发、零售。公司由云南城投置业持股70%,北京银泰置地商业有限公司持股30%。
据主要财务指标显示,截止2020年9月30日,杭州云泰购物中心有限公司资产总计32.24亿元,负债总计16.05亿元,所有者权益16.19亿元。
交易条件显示,标的企业股东北京银泰置地商业有限公司保留优先购买权。意向受让方应于挂牌截止日当天17:00前通过银行转账交纳意向金人民币356.38万元。
云南城投置业拟转让黑龙江银泰置地有限公司70%股权,转让底价9701.146万元。
资料显示,黑龙江银泰置地有限公司成立于2011年10月12日,注册资本1亿元,经营范围包括房地产开发与经营;自有房屋租赁;建筑装饰装修设计、施工;停车场经营;写字楼开发;酒店经营管理;商业管理等。公司由云南城投置业持股70%,黑龙江盛丰投资持股18.5%,北京银泰置地商业有限公司持股11.5%。
据主要财务指标显示,截止2020年9月30日,黑龙江银泰置地有限公司资产总计6.2亿元,负债总计5.08亿元,所有者权益1.12亿元。
交易条件显示,标的企业股东北京银泰置地商业有限公司、黑龙江盛丰投资有限公司保留优先购买权。意向受让方应于挂牌截止日当天17:00时前通过银行转账交纳意向金人民币32.24万元。
云南城投旗下公司天津银润投资拟转让宁波经济技术开发区泰悦置业有限公司51%股权,转让底价1.67亿元。
资料显示,宁波经济技术开发区泰悦置业有限公司成立于2010年7月23日,注册资本1亿元,经营范围包括许可项目:房地产开发经营;一般项目:非居住房地产租赁;社会经济咨询服务;会议及展览服务;广告设计、代理;广告制作等,公司由天津银润投资持股51%、宁波银泰投资持股30%、云南城投置业持股19%。
据主要财务指标显示,截止2020年9月30日,宁波经济技术开发区泰悦置业有限公司资产总计27.53亿元,负债总计24.05亿元,所有者权益3.49亿元。
交易条件显示,标的企业股东宁波银泰投资有限公司保留优先购买权。意向受让方应于挂牌截止日当天17:00前通过银行转账交纳意向金人民币55.38万元。
云南城投置业拟转让宁波银泰置业有限公司70%股权,转让底价6.62亿元。
资料显示,宁波银泰置业有限公司成立于2013年12月13日,注册资本3亿元,经营范围包括房地产开发经营;企业管理信息咨询;市场调查;企业形象策划;展览展示服务等。公司由云南城投置业持股70%,北京银泰置地商业有限公司持股30%。
据主要财务指标显示,截止2020年9月30日,宁波银泰置业有限公司资产总计29.83亿元,负债总计22.08亿元,所有者权益7.75亿元。
交易条件显示,标的企业股东北京银泰置地商业有限公司保留优先购买权。意向受让方应于挂牌截止日当天17:00前通过银行转账交纳意向金人民币219.94万元。
云南城投置业拟转让平阳银泰置业有限公司70%股权,转让底价4591.24万元。
资料显示,平阳银泰置业有限公司成立于2013年9月16日,注册资本1亿元,经营范围包括房地产开发经营;物业管理;停车场经营;房屋租赁;房地产信息咨询;商品信息咨询服务;企业管理咨询服务;商务信息咨询服务;柜台租赁;房地产经纪等。公司由云南城投置业持股70%,宁波市金润资产经营有限公司持股30%。
据主要财务指标显示,截止2020年9月30日,平阳银泰置业有限公司资产总计7.76亿元,负债总计7.86亿元,所有者权益-972.74万元。
交易条件显示,标的企业股东宁波市金润资产经营有限公司保留优先购买权。意向受让方应于挂牌截止日当天17:00前通过银行转账交纳意向金人民币15.26万元。
云南城投置业拟转让台州银泰置业有限公司70%股权,转让底价4788.896万元。
资料显示,台州银泰置业有限公司成立于2013年9月16日,注册资本1亿元,经营范围包括房地产开发;企业形象策划;房屋租赁服务等。公司由云南城投置业持股70%,中国银泰投资持股30%。
据主要财务指标显示,截止2020年9月30日,台州银泰置业有限公司资产总计7.77亿元,负债总计8.69亿元,所有者权益-8965.88万元。
交易条件显示,标的企业股东中国银泰投资有限公司保留优先购买权。意向受让方应于挂牌截止日当天17:00前通过银行转账交纳意向金人民币15.92万元。
云南城投置业拟转让名尚银泰城(淄博)商业发展有限公司70%股权,转让底价3597.78万元。
资料显示,名尚银泰城(淄博)商业发展有限公司成立于2011年10月28日,注册资本1.57亿元,经营范围包括商业项目的投资、规划、设计、及运营管理;商业地产策划;名尚银泰城商业地产开发、销售、店铺招商与租赁;房屋租赁;商业地产中介;物业管理;物业服务等。公司由云南城投置业持股70%,淄博昂展地产持股30%。
据主要财务指标显示,截止2020年9月30日,名尚银泰城(淄博)商业发展有限公司资产总计18.15亿元,负债总计18.8亿元,所有者权益-6694.17万元。
交易条件显示,标的企业股东淄博昂展地产有限公司放弃优先购买权。意向受让方应于挂牌截止日当天17:00时前通过银行转账交纳意向金人民币11.96万元。
云南城投置业拟转让宁波经济技术开发区泰悦置业有限公司19%股权,转让底价6207.9万元。
资料显示,宁波经济技术开发区泰悦置业有限公司成立于2010年7月23日,注册资本1亿元,经营范围包括许可项目:房地产开发经营;一般项目:非居住房地产租赁;社会经济咨询服务;会议及展览服务;广告设计、代理;广告制作等,公司由天津银润投资持股51%、宁波银泰投资持股30%、云南城投置业持股19%。
据主要财务指标显示,截止2020年9月30日,宁波经济技术开发区泰悦置业有限公司资产总计27.53亿元,负债总计24.05亿元,所有者权益3.49亿元。
交易条件显示,标的企业股东宁波银泰投资有限公司保留优先购买权;意向受让方应于挂牌截止日当天17:00前通过银行转账交纳意向金人民币20.63万元。


评论