文|华商韬略市值观察 刘亦文
从1990年12月上交所成立算,A股诞生已30年有余。30年来,虽然市场规模越来越大,投资者越来越多,但A股一直备受嘲讽,舆论观感并不好。
在一些舆论中,A股至今被讽刺为合法赌场,并充斥着众多老千,散户必然沦为韭菜;包括一些经济学者,也认为讨论A股属于文学和艺术范畴,行情走势太过魔幻,很难用理性的经济学模型解释。
很少有一个市场,如A股这般,让人欲罢不能,又误解至深。

股谚有云:七亏二平一赚。意即股民中有70%亏损,20%持平,只有10%的人可能盈利。
这句话带给人的刻板印象,就是股市赚钱概率太小,投资股市并不靠谱。特别是和楼市等其他投资渠道相比,股市更是被秒成渣。过去20年,买房炒楼让绝大多数家庭获得了巨大的财富增值,炒股带来的却更多是难以言说的伤心往事。
A股真的如此“渣”吗?
事实并非如此。
以上证综指为例,1990年以来,涨幅超过36倍,年化涨幅达到14%。与之相比,全国房价同期年化涨幅不到6%,10年期国债代表的债市年化收益率不到4%,以CRB指数衡量的大宗商品年化涨幅不到3%。
在主要投资品类中,股市的长期收益其实是最高的。
值得一提的是,上证综指的涨幅,仍然低估了A股的真实涨幅。因为上证指数编制时未考虑到分红收益,而且银行等金融公司权重占比过大,这部分行业较低的涨幅严重拖累了指数。
为衡量A股真实收益率,海通证券曾以两种方法计算过自上交所开市到2017年的A股收益率。
一种方法是,每年年初买入等额所有A股,投资收益为576倍,27年的年化涨幅为28.0%;另一种方法是,每年年初买入等量所有A股,投资收益为256倍,年化涨幅为24.0%。
按照这种“傻瓜”的方法投资A股,年化收益率甚至超过了巴菲特。因为最近30年,股神的年化收益率也不过20%出头。A股中隐藏的财富密码,无疑会让人大感意外。
显然,大多数投资者在A股赚不到钱,并不是因为股市收益低,缺乏赚钱机会。
真正的原因,是A股巨大的波动率。
虽然A股的年化收益率是所有大类投资品种中最高的,但是其波动率也远高于其他投资品种。30年来,上证综指年度最大涨幅是1992年的166%,最大跌幅是2008年的65%,大多数年份,A股的收益率水平,都远远偏离年化收益率。
A股的巨大波动率,一方面来自中国经济和上市公司结构。
过去很长一段时间,中国经济增长主要靠的是投资拉动,反映在A股里,就是上市公司的利润绝大部分来自于银行、地产以及资源等周期类行业。这部分公司利润随着经济周期呈现明显的上下波动,从而在盈利端造成了A股的高波动性。
更重要的原因,则是来自A股的投资者结构。
按照自由流通市值计算,2020年一季度,机构占比为30.3%(公募10.8%、外资8%、保险类资金7.1%、私募4.4%),自然人和法人占比25.1%,散户持股市值占比为38.3%,散户仍然是市场最大的持仓群体。
散户的非理性交易行为,使市场涨的时候容易涨过头,跌的时候容易跌过头,在估值端造成了A股更大的波动。
特别是在单边市场中,市场走势几乎完全由情绪造成的估值变动所主导。
以最近一轮牛熊转换来看,2013年6月到2015年6月的牛市行情中,上证综指从1849点上涨到5178点,其中PE从8倍上升到21倍,上涨了2.5倍,而上市公司盈利增速只有10%左右,指数上涨几乎完全依靠估值提升而实现。2015年6月到2019年1月的熊市行情中,上证综指从5178点下跌到2440点,其中PE从21倍降到11倍,仍然是市场下跌的主要因素。
巨大波动率很大程度上是由散户造成,反过来也深深伤害了散户,是造成散户亏损的重要原因。
一方面,大部分散户没有估值概念和周期思维,更多的是根据市场的赚钱效应从众跟风,所以往往在牛市最疯狂、估值泡沫到达历史高点时蜂拥而入;在熊市最低迷、估值回到历史低位时割肉出局。专业能力欠缺,使散户容易买在高位,卖在低位,自然难以赚钱。
另一方面,巨大波动率带来的巨大刺激感、操作便利性带来的流动性陷阱,使大部分散户陷入了追求一夜暴富、短线频繁交易的泥潭。而极高的收益率预期和操作频率,最终让股市沦为了零和博弈的赌场,大多数人亏损是命定的结局。
相对而言,楼市的低波动率和复杂交易程序带来的较低流动性,正是普通老百姓能够充分享受楼市增值收益的重要原因。
但是,对于专业投资者,股市巨大波动率是巨大的机会。“市场先生”经常失灵,价格经常大幅偏离合理价值,反而会给出很多低吸高抛的择时机会。
比如,上证估值曾经在2014年初下探至历史最低点,PE(TTM)只有8倍左右,彼时茅台的PE(TTM)甚至不到9倍,不到现在的20%。那个时点,无疑是投资的最好时机。
市场的巨大波动,也是A股获得超额收益的重要基础,造就了A股在早期诞生出很多通过短线高抛低吸暴富的牛散。一些游资大佬,从几万元起家,迅速做到了亿万身家,其财富积累速度,远超巴菲特等来自成熟市场的国际投资大师。
在以中长期价值投资为主的机构投资者当中,巨大波动性带来的择时机会,也创造过收益神话,在这方面典型代表是华夏基金前著名基金经理王亚伟。其成名之作,是从2005年底接手主理华夏精选大盘开始,在6年多时间里,净值增长了11倍。如此惊人的收益率,很大程度上也是来自其在高波动率市场环境下准确的择时能力。
更值得推崇的是,不理会市场波动,通过坚定的长期持股,和优秀公司共同成长的投资人。比如万科的刘元生、海康威视的龚虹嘉、恒瑞医药的岑均达,都是通过几十年如一日的长期持股,最终获得数十亿财富回报。

很长时间里,A股都被认为和中国经济走势背道而驰,不能充当经济发展的晴雨表。
一个常用的证据是,2007年以来中国GDP增长了3倍以上,但是上证指数离2007年10月创下的6124点还相差甚远。
这种观点貌似有理,其实似是而非。最根本的错误,在于时点选择。2007年上证创下6124点,已是牛市最疯狂的时候,PE(TTM)达到了60倍以上,而目前只有16倍左右。拿泡沫严重的市场和如今相对正常的市场进行比较,显然是不合理的。
如果抛开估值差异的因素,以估值相近的2005年作为比较的起点,结果更有参考价值。
2005-2019年的15年间,我国名义GDP年化增速为12.8%,同期万得全A的年化涨幅为14%,沪深300为9.8%,中证800为10.2%,A股涨幅跟经济基本面基本一致。
从A股市值领先公司的变迁,我们也能看到中国经济基本面的变化。
2000年之前,A股市值龙头曾长期被生产电视机的四川长虹占据。那时中国经济刚刚起步,正处于短缺经济时代,以家电为代表的传统制造业产品供不应求,相关企业迎来了业绩和市值的高光时代。

▲1998年12月31日A股总市值前10;图源:同花顺iFinD
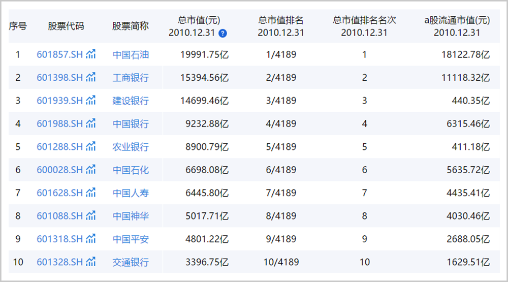
到了2010年,A股市值排名靠前的是中国石油、工商银行和中国神华等金融和资源类公司。对应的经济背景,是中国迎来工业化和城镇化发展的高峰期,钢铁、有色、石油煤炭、地产等周期性投资行业成为拉动经济增长的“四大金刚”,而极度依赖信贷的融资模式,则使银行的规模和重要性变得空前强大。

▲2010年12月31日A股总市值前10;图源:同花顺iFinD
到了今天,A股前10大市值公司中,除了银行和保险之外,新上榜的是高端白酒的代表贵州茅台和五粮液,以及新能源汽车产业链龙头宁德时代,其中贵州茅台更登顶A股市值之首。

▲2021年1月25日A股总市值前10;图源:同花顺iFinD
作为曾经的A股老大,四川长虹目前的市值已经不到20年前的一半,而中国石油市值与13年前的历史最高峰相比,更是下降了90%之多。
真正代表时代转型方向的互联网科技巨头,包括阿里、腾讯、京东、拼多多、美团、小米等,基本都在美股和港股上市,市值皆超过千亿美元,远远超过传统行业中的金融和地产。
其背后反映的经济趋势,一是在过剩经济时代,传统制造业陷入同质竞争的惨烈红海,利润极其微薄,渠道和流量成为最重要的资源,使互联网巨头迅速崛起;二是在消费驱动经济增长和消费持续升级的时代潮流下,重化工业的野蛮生长阶段已经过去,消费者越发重视产品的情感体验和个性化,由此催生出越来越多有鲜明特色的高端消费品,走向业绩和市值的巅峰。
A股被吐槽和经济基本面无关,另一个依据是市场投机炒作盛行。很多没有业绩支撑的垃圾题材股,经常在短期内暴涨;而业绩稳定优异的好公司,表现反而不温不火,价值投资在A股似乎水土不服。
但是,把时间拉长来看,A股其实是非常理性和有效的市场,上市公司股价的长期走势,与其业绩高度相关,所谓短期靠势,长期靠质。
A股30年来,历经时间洗礼,穿越牛熊周期,最终成为百倍以上大牛股的公司,基本都是投资者耳熟能详的优秀公司,包括贵州茅台、五粮液、万科、格力电器、恒瑞医药、云南白药等,其长期的股价涨幅,也与业绩的增幅基本相当。比如贵州茅台2001年上市,净利润从当年的3.28亿增长到2019年的412亿;格力电器1996年上市,净利润从当年的1.86亿,增长到2019年的246亿。两家著名公司利润增幅都超过100倍,成为股价长期大涨的坚实基础。
与之相反,曾经在市场上,风光一时的热门题材股,被炒到虚高的市值,也不过黄粱一梦,最终难免一地鸡毛。以去年退市的乐视网和暴风科技为例,都曾被市场爆炒过,市值最高时分别达到过1700亿和400亿,而最终退市时,不过只剩下了7亿和1亿。
长期来看,炒作带来的估值波动,对上市公司市值的影响微乎其微,业绩始终是影响市值成长的最重要因素。能够长期持续为客户和股东创造价值的公司,终究会受到投资者的认可,在资本市场实现自己的价值。
因为,A股并不是零和博弈的赌场,而是实体经济在资本市场的反映。在这里,理性只会迟到,绝对不会缺席!
时间终究会成为检验企业价值的唯一标准!

1990年底以来,A股总共经历了5轮完整的牛熊转换行情。
以上证综指为例,A股第一轮牛市从1991年1月到1993年2月,历时25个月,涨幅1559%;随后从1993年2月到1994年7月进入第一轮熊市,历时17个月,跌幅80%。
第二轮牛市从1994年7月到2001年6月,历时84个月,涨幅570%;随后从2001年6月到2005年6月进入第二轮熊市,历时48个月,跌幅56%。
第三轮牛市从2005年6月到2007年10月,历时28个月,涨幅514%;随后从2007年10月到2008年10月进入第二轮熊市,历时12个月,跌幅73%。
第四轮牛市从2008年10月到2009年8月,历时10个月,涨幅109%;随后从2009年8月到2013年6月进入第四轮熊市,历时46个月,跌幅47%。
第五轮牛市从2013年6月到2015年6月,历时24个月,涨幅180%;随后从2015年6月到2019年1月进入第五轮熊市,历时43个月,跌幅53%。
过去5轮完整牛熊周期里,A股牛市平均持续时间34个月,熊市平均持续时间则高达33个月,牛短熊长的现象其实并不明显。
但是自2000年以来,A股牛市平均持续时间只有20个月,熊市平均持续时间却高达37个月,牛短熊长的迹象异常突出,并被认为是A股难以摆脱的宿命。
反观美股市场,从1900以来道指也经历了5轮牛熊转换,每轮牛市的平均持续时间高达12年,熊市的持续时间只有2年,其牛长熊短的特征和A股形成了鲜明对比。
A股近20年来牛短熊长的背后,是单边牛市时的疯狂涨幅。在近20年的三轮牛市周期中,上证综指复合年化涨幅分别为112%、142%和70%,平均年化涨幅高达108%。牛市阶段的短期暴涨,必然造成估值的畸高,最终只能通过漫长的下跌来消化估值泡沫。
美股的长牛行情,则是牛市时的细水长流。道指在牛市的年化涨幅只有20%左右,牛市的指数上涨主要由业绩贡献。
深究A股和美股牛熊周期的差异,根本原因还是在于投资者结构和上市公司盈利结构。美股投资者以机构为主,利润来源以消费和科技等弱周期行业为主,这种市场环境使美股估值相对稳定、利润稳定增长,从而具备长牛的基础。而A股投资者以散户为主,利润来源以强周期行业为主,估值和利润自然缺乏稳定性,使A股也难以走出长牛行情。
但是,A股的市场环境,也在向美股等成熟市场靠拢。
投资者结构中,机构的占比已经越来越高,2015年以来,机构投资者在自由流通市值中的占比每年增长超过2%并且有加速迹象;盈利结构中,随着近年来消费和科技公司IPO数量的大幅增长,A股中弱周期行业的市值和利润占比也越来越高。
而投资者结构和盈利结构的变化,将为A股的长牛行情奠定基础。
行情的发展似乎也正在发生细微的变化。比如目前正在上演的第六轮牛市,始于2019年1月,目前持续时间已有24个月,但是总涨幅不到50%,年化涨幅不到23%,远远低于过去牛市平均的年化涨幅。
考虑到目前A股的盈利和估值水平,牛市行情大概率仍将延续下去。如果行情仍以较低的波动率往上发展,或许从2021年开始,A股将真正迎来长期慢牛行情,牛短熊长的宿命终将被打破。

股市如人生一样,是无数因素共同决定的极其复杂的系统。
人生要成功,投资要获利,认知能力当然是重要的。
事实上,大部分人对股市的认知极其肤浅。
在一些人眼中,股市是混沌的,涨跌完全是随机产生,背后没有任何规律可循,炒股就是赌博碰运气;在另一些人看来,股市是线性的,涨的时候似乎一直会涨,跌的时候似乎一直会跌,永远不会有周期的循环。
对人生的认知,又何尝不是如此!
认知的价值,在于找到混沌中相对确定的规律,在于理解起伏中的周期更替,从而提升把握机会和规避风险的能力,进而提高成功和获利的概率。
就像大学毕业比小学毕业成功概率大得多,投资是一样的道理。
但是有认知能力是远远不够的,更重要的是知行合一。懂得很多牛逼的知识或者道理,可能照样过不好这一生,也不一定在股市赚钱。
我们看到很多聪明的人,在投资或为人处世时与自己的理性认知经常背道而驰,根本原因在于无法克服自身性格的缺陷和人性共同的弱点。
只有控制情绪和欲望,克制一夜暴富的幻想,坚持长期主义,相信常识和时间的力量,投资乃至人生才是一件踏实而有意义的事情。
不可或缺的,当然还有国运的恩泽。
巴菲特说,我的人生,很大程度上受益于“子宫红利”。有幸作为白人出生在国力和经济蒸蒸日上的美国,是我投资成功的主要原因。
中国的股民其实也是幸运的,我们生在中国经济发展最迅猛的年代,国运之昌盛,给资本市场提供了巨大的机会。如果投资者能提高专业能力,努力磨练心性,A股过去30年其实有非常多赚钱乃至改变个人命运的机会。
未来30年,最大的希望,是中国投资者和资本市场变得越来越成熟。
希望A股不仅是助力企业发展的融资市,同时也是助力老百姓财富增值的投资市,最终成为中国人最重要、最信赖的资产配置之所。
为股民的人生添彩,而不再是添堵!


评论